TOP
|
特許
|
意匠
|
商標
特許ウォッチ
Twitter
他の特許を見る
10個以上の画像は省略されています。
公開番号
2025140213
公報種別
公開特許公報(A)
公開日
2025-09-29
出願番号
2024039440
出願日
2024-03-13
発明の名称
分別回収システム
出願人
日立建機株式会社
代理人
弁理士法人武和国際特許事務所
主分類
F15B
21/041 20190101AFI20250919BHJP(流体圧アクチュエータ;水力学または空気力学一般)
要約
【課題】小型の再生設備でも再生コストを削減し且つ資源を有効活用する作動油の分別回収システムを提供する。
【解決手段】分別回収システムは、油圧アクチュエータ及び前記油圧アクチュエータに作動油を供給する油圧ポンプを有する油圧装置に用いられる作動油の分別回収の指示を出力する分別回収サーバと、分別回収サーバから取得した指示を表示する端末とを備える。分別回収サーバは、油圧装置に用いられる作動油の状態量を取得し、複数の再生設備それぞれに設定された作動油の状態量の許容範囲と状態量とを比較し、油圧装置から回収した作動油を、状態量が許容範囲に含まれる再生設備に運搬する指示を前記端末に対して出力する。
【選択図】図9
特許請求の範囲
【請求項1】
油圧アクチュエータ及び前記油圧アクチュエータに作動油を供給する油圧ポンプを有する油圧装置に用いられる作動油の分別回収の指示を出力する分別回収サーバと、前記分別回収サーバから取得した指示を表示する端末とを備える分別回収システムにおいて、
前記分別回収サーバは、
前記油圧装置に用いられる作動油の状態量を取得し、
複数の再生設備それぞれに設定された作動油の状態量の許容範囲と前記状態量とを比較し、
前記油圧装置から回収した作動油を、前記状態量が前記許容範囲に含まれる前記再生設備に運搬する指示を前記端末に対して出力することを特徴とする分別回収システム。
続きを表示(約 870 文字)
【請求項2】
請求項1に記載の分別回収システムにおいて、
前記分別回収サーバは、
前記油圧装置の作動油が予め定められた交換条件を満たした場合に、当該油圧装置の作動油を交換する指示を前記端末に対して出力し、
前記油圧装置の作動油の交換作業を開始することを示す交換開始通知を前記端末から取得したタイミングで、前記状態量を取得することを特徴とする分別回収システム。
【請求項3】
請求項2に記載の分別回収システムにおいて、
前記分別回収サーバは、複数の前記油圧装置の交換作業を開始することを示す前記交換開始通知を取得した場合に、
複数の前記油圧装置それぞれから前記状態量を取得し、
取得した複数の前記状態量を、複数の前記油圧装置それぞれの作動油量で加重平均して平均状態量を算出し、
前記平均状態量と複数の前記許容範囲とを比較し、
複数の前記油圧装置から回収した作動油を混合して、前記平均状態量が前記許容範囲に含まれる前記再生設備に運搬する指示を前記端末に対して出力することを特徴とする分別回収システム。
【請求項4】
請求項1に記載の分別回収システムにおいて、
前記分別回収サーバは、前記油圧装置に設けられた状態量センサから取得した作動油の動粘度、密度、誘電率、電気伝導度の少なくとも1つに基づいて、前記状態量を算出することを特徴とする分別回収システム。
【請求項5】
請求項1に記載の分別回収システムにおいて、
前記分別回収サーバは、前記油圧アクチュエータまたは前記油圧ポンプが消費した単位時間当たりのエネルギー量に基づいて、前記状態量を算出することを特徴とする分別回収システム。
【請求項6】
請求項5に記載の分別回収システムにおいて、
前記分別回収サーバは、前記エネルギー量と、前記油圧装置の作業の種類とに基づいて、前記状態量を算出することを特徴とする分別回収システム。
発明の詳細な説明
【技術分野】
【0001】
本発明は、作業機械の作動油を分別回収するシステムに関する。
続きを表示(約 1,600 文字)
【背景技術】
【0002】
油圧ショベル、ダンプトラック、ホイールローダなどの作業機械は、稼働時間の増加に伴って、油圧アクチュエータを動作させる作動油が徐々に劣化する。そこで、特許文献1には、作業機械から抜き取った作動油を、再生するか廃棄するかを判断するシステムが開示されている。
【先行技術文献】
【特許文献】
【0003】
特許第3774393号公報
【発明の概要】
【発明が解決しようとする課題】
【0004】
しかしながら、複数の作業機械から抜き取った作動油を纏めて再生処理しようとすると、作動油の状態によっては不必要な処理を行ってしまい、再生設備が大型化すると共に、再生コストの上昇や資源の無駄遣いに繋がる可能性がある。
【0005】
本発明は、上記した実状に鑑みてなされたものであり、その目的は、作業機械の作動油を回収するシステムにおいて、小型の再生設備でも再生コストを削減し且つ資源を有効活用する技術を提供することにある。
【課題を解決するための手段】
【0006】
上記目的を達成するために、本発明は、油圧アクチュエータ及び前記油圧アクチュエータに作動油を供給する油圧ポンプを有する油圧装置に用いられる作動油の分別回収の指示を出力する分別回収サーバと、前記分別回収サーバから取得した指示を表示する端末とを備える分別回収システムにおいて、前記分別回収サーバは、前記油圧装置に用いられる作動油の状態量を取得し、複数の再生設備それぞれに設定された作動油の状態量の許容範囲と前記状態量とを比較し、前記油圧装置から回収した作動油を、前記状態量が前記許容範囲に含まれる前記再生設備に運搬する指示を前記端末に対して出力することを特徴とする。
【発明の効果】
【0007】
本発明によれば、作業機械の作動油を回収するシステムにおいて、小型の再生設備でも再生コストを削減し且つ資源を有効活用することができる。なお、上記した以外の課題、構成及び効果は、以下の実施形態の説明により明らかにされる。
【図面の簡単な説明】
【0008】
分別回収システムの概念図である。
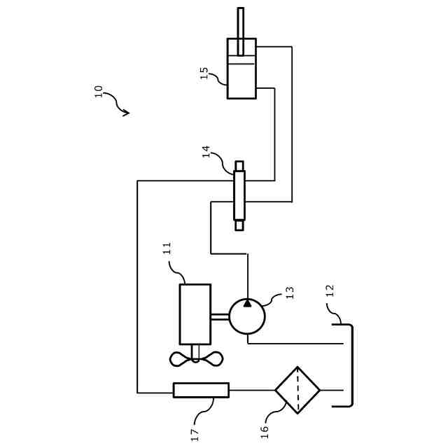
作業機械の駆動回路の模式図である。
作業機械のハードウェア構成図である。
再生設備による作動油に対する処理のレシピを示す図である。
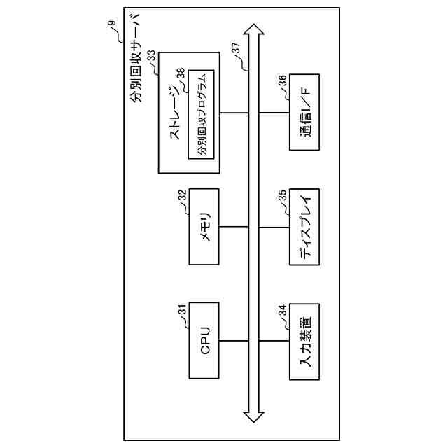
分別回収サーバのハードウェア構成図である。
分別回収サーバの機能ブロック図である。
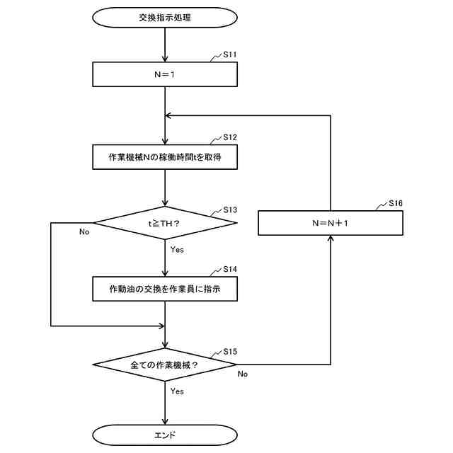
交換指示処理のフローチャートである。
交換指示処理の実行後に端末に表示される画面例である。
行先指示処理のフローチャートである。
【発明を実施するための形態】
【0009】
[分別回収システム100の概要]
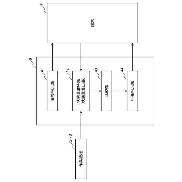
図1は、分別回収システム100の概念図である。分別回収システム100は、作業機械1、2、3内を循環する作動油を分別回収して、複数の再生設備4、5、6のいずれかで処理するためのシステムである。また、作業機械1~3から再生設備4~6への作動油の搬送は、端末7(図8参照)を所持した作業員が乗る運搬車8によって行われる。さらに、作業機械1~3の作動油の分別回収は、分別回収サーバ9によって制御される。
【0010】
分別回収システム100は、少なくとも端末7及び分別回収サーバ9を備える。また、分別回収システム100は、端末7及び分別回収サーバ9に加えて、作業機械1~3、再生設備4~6、運搬車8の少なくとも一部をさらに備えてもよい。なお、分別回収システム100に含まれる作業機械1~3、再生設備4~6、端末7、運搬車8の数は、前述の例に限定されない。
(【0011】以降は省略されています)
この特許をJ-PlatPat(特許庁公式サイト)で参照する
関連特許
日立建機株式会社
建設機械
3日前
日立建機株式会社
作業機械
3日前
日立建機株式会社
建設機械
1か月前
日立建機株式会社
作業機械
1か月前
日立建機株式会社
作業機械
1か月前
日立建機株式会社
作業機械
25日前
日立建機株式会社
作業機械
17日前
日立建機株式会社
作業機械
11日前
日立建機株式会社
油圧機器
3日前
日立建機株式会社
作業機械
7日前
日立建機株式会社
作業機械
4日前
日立建機株式会社
作業機械
4日前
日立建機株式会社
建設機械
3日前
日立建機株式会社
建設機械
7日前
日立建機株式会社
作業機械
3日前
日立建機株式会社
作業機械
3日前
日立建機株式会社
作業機械
3日前
日立建機株式会社
建設機械
3日前
日立建機株式会社
作業車両
3日前
日立建機株式会社
油圧システム
7日前
日立建機株式会社
動力伝達装置
3日前
日立建機株式会社
液冷式抵抗器
3日前
日立建機株式会社
電動式作業機械
3日前
日立建機株式会社
ダンプトラック
3日前
日立建機株式会社
部品需要予測装置
1か月前
日立建機株式会社
充電支援システム
1か月前
日立建機株式会社
水素供給システム
3日前
日立建機株式会社
分別回収システム
7日前
日立建機株式会社
建設機械の作業装置
17日前
日立建機株式会社
減速機及び建設機械
3日前
日立建機株式会社
スプライン連結装置
7日前
日立建機株式会社
地形情報管理システム
7日前
日立建機株式会社
建設機械の下部走行体
10日前
日立建機株式会社
作業機械及び監視システム
3日前
日立建機株式会社
制御弁装置および作業機械
1か月前
日立建機株式会社
作業機械の位置推定システム
17日前
続きを見る
他の特許を見る