TOP
|
特許
|
意匠
|
商標
特許ウォッチ
Twitter
他の特許を見る
10個以上の画像は省略されています。
公開番号
2025027141
公報種別
公開特許公報(A)
公開日
2025-02-26
出願番号
2024213218,2023165011
出願日
2024-12-06,2018-12-20
発明の名称
ランドリー機器
出願人
青島海爾洗衣机有限公司
,
QINGDAO HAIER WASHING MACHINE CO.,LTD.
,
アクア株式会社
代理人
個人
主分類
D06F
95/00 20060101AFI20250218BHJP(繊維または類似のものの処理;洗濯;他に分類されない可とう性材料)
要約
【課題】コインランドリーの利用者の満足度を高めることができる技術を提供する。
【解決手段】コインランドリーの利用料金徴収方法は、乾燥運転を開始する運転開始工程と、乾燥運転が開始された後に、乾燥対象物の乾燥状態に基づいて、乾燥運転を終了するか否かを判断する運転終了判断工程と、運転終了判断工程で乾燥運転を終了すると判断された場合に、乾燥運転を終了する運転終了工程と、運転終了工程の後に、乾燥運転が開始されてから終了されるまでの運転時間に基づいて、利用料金を算出する利用料金算出工程(ステップS12)と、利用料金を決済する決済工程(ステップS13)と、を備える。
【選択図】図4
特許請求の範囲
【請求項1】
乾燥運転を開始する運転開始工程と、
乾燥運転が開始された後に、前記乾燥対象物の乾燥状態に基づいて、乾燥運転を終了するか否かを判断する運転終了判断工程と、
前記運転終了判断工程で乾燥運転を終了すると判断された場合に、乾燥運転を終了する運転終了工程と、
前記運転終了工程の後に、乾燥運転が開始されてから終了されるまでの運転時間に基づいて、利用料金を算出する利用料金算出工程と、
前記利用料金を決済する決済工程と、
を備える、コインランドリーの利用料金徴収方法。
発明の詳細な説明
【技術分野】
【0001】
本発明は、コインランドリーの利用料金を徴収するための技術に関する。
続きを表示(約 1,500 文字)
【背景技術】
【0002】
周知の通り、コインランドリーは、複数台のランドリー機器が設置された店舗である。利用者は、コインランドリーに足を運び、ランドリー機器に衣類等を投入するとともに、該ランドリー機器に硬貨を投入する等して料金を支払うことによって、該ランドリー機器に洗濯、乾燥、あるいは、洗濯乾燥を実行させる。
【先行技術文献】
【特許文献】
【0003】
特許3562580号公報
特開2017-205480号公報
【発明の概要】
【発明が解決しようとする課題】
【0004】
上記の通り、一般的なコインランドリーでは、まず、利用者からの硬貨の投入を受け付け、その後、ランドリー機器が運転を開始する。つまり、前払い方式で利用料金が徴収される。乾燥運転に関しては、利用者から投入された硬貨の枚数に応じて運転時間が決定されて、該運転時間分だけ乾燥運転が実行される。このため、乾燥運転を希望する利用者は、自分の衣類等を乾燥させるために必要な運転時間を予測して、これに応じた枚数の硬貨を投入しなければならない。ところが、必要な運転時間は、乾燥させたい衣類等の種類や量、その日の気温、使用するランドリー機器の仕様や状態、等によって変わってくるものであり、一般の利用者にとって、必要な運転時間を正しく予測することは非常に難しい。
【0005】
投入された硬貨の枚数が、必要な運転時間よりも短い時間に相当する場合、衣類が十分に乾燥しないうちに乾燥運転が終了されてしまう。この場合、利用者は、もう一度硬貨を投入して、追加で乾燥運転を行わせなければならず、不便や不満を感じてしまう。
【0006】
本発明は、上記の事情に鑑みてなされたものであり、コインランドリーの利用者の満足度を高めることができる技術の提供を目的としている。
【課題を解決するための手段】
【0007】
本発明は、かかる目的を達成するために、次のような手段を講じたものである。
【0008】
すなわち、本発明のコインランドリーの利用料金徴収方法は、
乾燥運転を開始する運転開始工程と、
乾燥運転が開始された後に、前記乾燥対象物の乾燥状態に基づいて、乾燥運転を終了するか否かを判断する運転終了判断工程と、
前記運転終了判断工程で乾燥運転を終了すると判断された場合に、乾燥運転を終了する運転終了工程と、
前記運転終了工程の後に、乾燥運転が開始されてから終了されるまでの運転時間に基づいて、利用料金を算出する利用料金算出工程と、
前記利用料金を決済する決済工程と、
を備える。
【0009】
本発明のコインランドリーの利用料金徴収方法において、
前記運転開始工程の前に、前払い料金の支払いを受け付ける前払い料金受付工程、
を備え、
前記利用料金算出工程において、乾燥運転が開始されてから終了されるまでの運転時間に対応する料金から前記前払い料金を差し引いた不足料金が、前記利用料金として算出されることが好ましい。
【0010】
本発明のコインランドリーの利用料金徴収方法において、
最大運転時間を設定する設定工程、
を備え、
前記運転終了判断工程において、
前記乾燥対象物の乾燥状態にかかわらず、前記最大運転時間が経過した時点で、乾燥運転を終了すると判断することが好ましい。
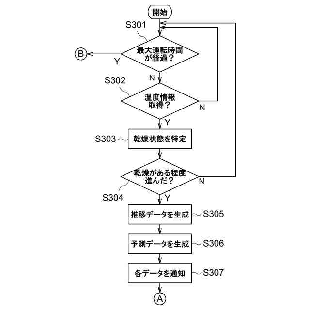
(【0011】以降は省略されています)
この特許をJ-PlatPat(特許庁公式サイト)で参照する
関連特許
株式会社青柳
染め加工方法
29日前
東レ株式会社
繊維断面の検査方法
8日前
東レ株式会社
ゴム補強用合成繊維コード
15日前
株式会社槌屋
加飾用表皮材
1日前
株式会社創和
ボックス状洗濯ネット
1か月前
株式会社大阪ソーダ
撥水撥油性繊維処理剤
1か月前
東レ株式会社
抗菌性アクリル系繊維およびその製造方法
1か月前
東レ株式会社
人工皮革およびその製造方法ならびに雑貨
1か月前
東芝ライフスタイル株式会社
洗濯機
21日前
東芝ライフスタイル株式会社
洗濯機
1か月前
住友金属鉱山株式会社
赤外線遮蔽繊維構造物
1日前
パナソニックIPマネジメント株式会社
洗濯機
3日前
パナソニックIPマネジメント株式会社
洗濯機
1か月前
パナソニックIPマネジメント株式会社
洗濯機
1か月前
パナソニックIPマネジメント株式会社
洗濯機
1か月前
パナソニックIPマネジメント株式会社
洗濯機
1か月前
パナソニックIPマネジメント株式会社
洗濯機
8日前
東芝ライフスタイル株式会社
衣類乾燥機
7日前
パナソニックIPマネジメント株式会社
洗濯機
7日前
セイコーエプソン株式会社
繊維処理方法
1か月前
東芝ライフスタイル株式会社
衣類乾燥機
14日前
東芝ライフスタイル株式会社
衣類処理装置
21日前
東芝ライフスタイル株式会社
衣類処理装置
22日前
東芝ライフスタイル株式会社
衣類処理装置
21日前
東レ株式会社
人工皮革およびその製造方法、衣料、ならびに鞄
1日前
東芝ライフスタイル株式会社
衣類処理装置
22日前
株式会社プレックス
布類反転装置
21日前
東芝ライフスタイル株式会社
衣類処理装置
22日前
宮内産業株式会社
天然皮革を含む複合部材
1か月前
トヨタ紡織株式会社
アイロン
14日前
東芝ライフスタイル株式会社
衣類処理装置
11日前
東レ株式会社
人工皮革およびその製造方法ならびに衣料、家具
2日前
東レ株式会社
人工皮革およびその製造方法ならびに衣服、雑貨
1か月前
東レ株式会社
人工皮革およびその製造方法ならびに衣料、雑貨
1か月前
東レ株式会社
ゴム資材補強用合成繊維コードおよびその製造方法
1日前
パナソニックIPマネジメント株式会社
洗濯乾燥機
11日前
続きを見る
他の特許を見る