TOP
|
特許
|
意匠
|
商標
特許ウォッチ
Twitter
他の特許を見る
10個以上の画像は省略されています。
公開番号
2025131378
公報種別
公開特許公報(A)
公開日
2025-09-09
出願番号
2024029084
出願日
2024-02-28
発明の名称
洗濯機
出願人
パナソニックIPマネジメント株式会社
代理人
個人
,
個人
主分類
D06F
39/04 20060101AFI20250902BHJP(繊維または類似のものの処理;洗濯;他に分類されない可とう性材料)
要約
【課題】液剤の自動投入機能に関するユーザの使い勝手が向上した洗濯機を提供する。
【解決手段】本開示に係る洗濯機は、回転可能に設けられた洗濯槽と、液剤を貯蔵する液剤タンクと、液剤タンクを収容するケースと、液剤タンクに貯蔵された液剤を吸い出して、洗濯槽に供給する液剤供給装置と、を備え、液剤供給装置は、少なくとも一方が液剤タンクに接続可能な第1吸込部および第2吸込部を有し、液剤タンクとして、ケースに収容されたときに第1吸込部および第2吸込部に面して、第1吸込部には連通し第2吸込部には非連通となる第1液剤タンクが配置される。
【選択図】図11
特許請求の範囲
【請求項1】
回転可能に設けられた洗濯槽と、
液剤を貯蔵する液剤タンクと、
前記液剤タンクを収容するケースと、
前記液剤タンクに貯蔵された液剤を吸い出して、前記洗濯槽に供給する液剤供給装置と、を備え、
前記液剤供給装置は、少なくとも一方が前記液剤タンクに接続可能な第1吸込部および第2吸込部を有し、
前記液剤タンクとして、前記ケースに収容されたときに前記第1吸込部および前記第2吸込部に面して、前記第1吸込部には連通し前記第2吸込部には非連通となる第1液剤タンクが配置される、洗濯機。
続きを表示(約 830 文字)
【請求項2】
前記第1液剤タンクは、前記第1吸込部が接続される第1接続部を有し、
前記第1吸込部と前記第1接続部とは、連通する、請求項1に記載の洗濯機。
【請求項3】
前記第1液剤タンクは、前記第2吸込部に面する位置に、前記第2吸込部の先端と間隔を有する第1壁面を有する、請求項2に記載の洗濯機。
【請求項4】
前記第1壁面は、
上から見たときに前記第2吸込部と重なり、
前記第1吸込部と前記第2吸込部が並ぶ方向から見たときに上下方向に対して傾斜している、請求項3に記載の洗濯機。
【請求項5】
前記第1液剤タンクは、前記第1吸込部に面する位置に、前記第1壁面に対して前記第1吸込部に向かって突出した第2壁面を有し、
前記第2壁面は、前記第1接続部を収容する凹部を画定する、請求項4に記載の洗濯機。
【請求項6】
前記第1液剤タンクは、前記凹部を覆う位置に、前記第1壁面に沿って傾斜したフィルタを有する、請求項5に記載の洗濯機。
【請求項7】
前記第1液剤タンクは、前記第1吸込部が接続される第1接続部と、前記第2吸込部が挿入される筒部とを有し、
前記筒部と前記第1液剤タンクの内部空間とは、非連通である、請求項1に記載の洗濯機。
【請求項8】
前記第2吸込部の外周面と、前記筒部の内周面との間には間隔が空けられている、請求項7に記載の洗濯機。
【請求項9】
前記第2吸込部の外周面には、前記筒部の内周面に密着するパッキンが設けられている、請求項7に記載の洗濯機。
【請求項10】
前記液剤供給装置として、前記第1吸込部を有する第1液剤供給装置と、前記第2吸込部を有する第2液剤供給装置とを有する、請求項1から9のいずれか一項に記載の洗濯機。
(【請求項11】以降は省略されています)
発明の詳細な説明
【技術分野】
【0001】
本開示は、洗濯機に関する。
続きを表示(約 1,300 文字)
【背景技術】
【0002】
例えば、特許文献1には、洗濯槽と、洗濯槽に液剤を供給する液剤供給装置とを有する洗濯機が開示されている。液剤供給装置は、液剤を貯留する液剤タンクと、液剤タンクを収容するケースとを有する。
【0003】
特許文献1に記載されたケースは、第1液剤タンクと第2液剤タンクを同時に収容する。
【先行技術文献】
【特許文献】
【0004】
特開2019-42183号公報
【発明の概要】
【発明が解決しようとする課題】
【0005】
しかしながら、特許文献1に記載の洗濯機において、液剤の自動投入機能に関するユーザの使い勝手という点において、未だ改善の余地がある。
【0006】
したがって、本開示の目的は、上記課題を解決することにあり、液剤の自動投入機能に関するユーザの使い勝手を向上させることができる。
【課題を解決するための手段】
【0007】
本開示の一態様の洗濯機は、回転可能に設けられた洗濯槽と、液剤を貯蔵する液剤タンクと、液剤タンクを収容するケースと、液剤タンクに貯蔵された液剤を吸い出して、洗濯槽に供給する液剤供給装置と、を備え、液剤供給装置は、少なくとも一方が液剤タンクに接続可能な第1吸込部および第2吸込部を有し、液剤タンクとして、ケースに収容されたときに第1吸込部および第2吸込部に面して、第1吸込部には連通し第2吸込部には非連通となる第1液剤タンクが配置される。
【発明の効果】
【0008】
本開示によれば、液剤の自動投入機能に関するユーザの使い勝手が向上した洗濯機を提供できる。
【図面の簡単な説明】
【0009】
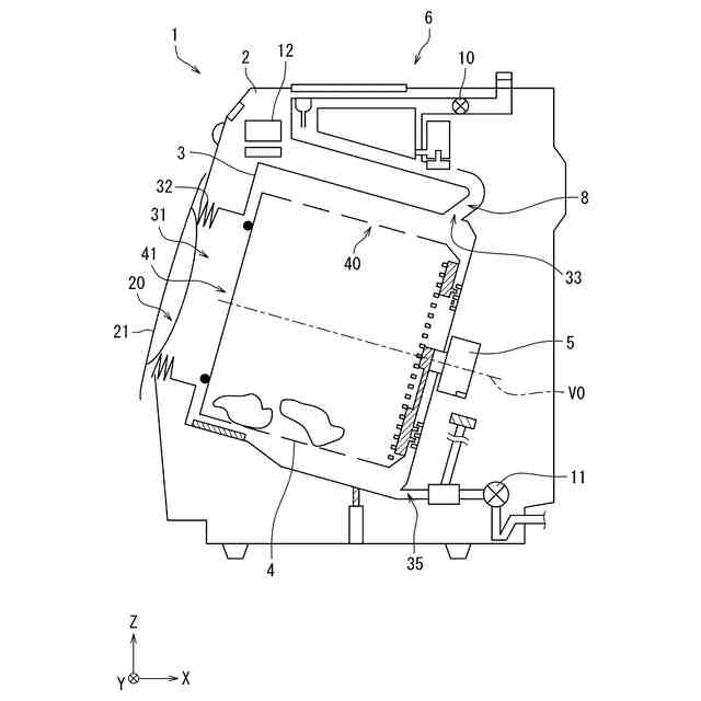
本開示に係る実施の形態1の洗濯機の斜視図
本開示に係る実施の形態1の洗濯機の模式図
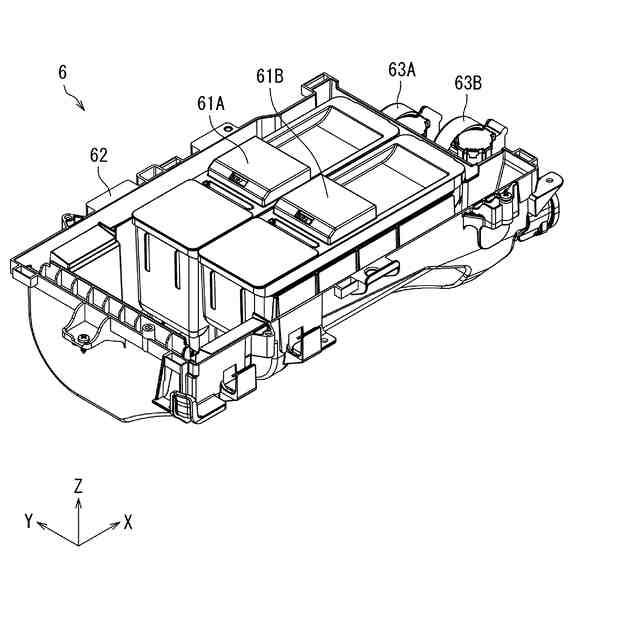
2つの液剤タンクを収容した液剤供給ユニットの斜視図
2つの液剤タンクを収容した液剤供給ユニットの斜視図
2つの液剤タンクを収容した液剤供給ユニットの分解図
単一の液剤タンクを収容した液剤供給ユニットの斜視図
単一の液剤タンクを収容した液剤供給ユニットの斜視図
単一の液剤タンクを収容した液剤供給ユニットの分解図
ケースの斜視図
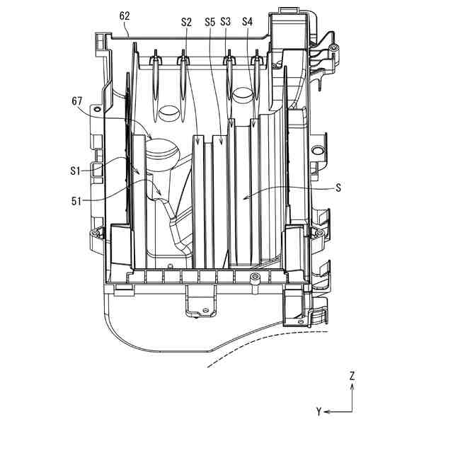
2つの液剤タンクを収容した液剤供給ユニットの断面図
単一の液剤タンクを収容した液剤供給ユニットの断面図
2つの液剤タンクの下部を示す斜視図
2つの液剤タンクの模式下面図
単一の液剤タンクの下部を示す斜視図
液剤タンクの斜視図
液剤タンクの斜視図
液剤供給ユニットの断面図
単一の液剤タンクの模式下面図
2つの液剤タンクを収容したケースの模式上面図
単一の液剤タンクを収容したケースの模式上面図
変形例1の液剤供給ユニットの断面図
液剤供給ユニットの断面図
【発明を実施するための形態】
【0010】
(実施の形態1)
本開示の実施の形態1に係る洗濯機について説明する。
(【0011】以降は省略されています)
この特許をJ-PlatPat(特許庁公式サイト)で参照する
関連特許
個人
洗濯装置
1か月前
個人
ハンガー保持具
3か月前
株式会社青柳
染め加工方法
20日前
ライオン株式会社
液体柔軟剤組成物
3か月前
シャープ株式会社
洗濯機
3か月前
日本バイリーン株式会社
内装用表面材
2か月前
花王株式会社
洗浄剤組成物
2か月前
東レ株式会社
樹脂含浸繊維束の製造方法
1か月前
東レ株式会社
炭素繊維シートの製造方法
1か月前
東レ株式会社
ゴム補強用合成繊維コード
6日前
有限会社高田紙器製作所
紙製洗濯バサミ
1か月前
株式会社大阪ソーダ
撥水撥油性繊維処理剤
28日前
株式会社創和
ボックス状洗濯ネット
21日前
シャープ株式会社
洗濯乾燥機
3か月前
シャープ株式会社
洗濯機
1か月前
個人
洗濯用洗剤容器の蓋
1か月前
日本バイリーン株式会社
表皮材とその製造方法
2か月前
株式会社コーワ
フィルター清掃装置及び乾燥機
2か月前
株式会社コーワ
フィルター清掃装置及び乾燥機
2か月前
大阪瓦斯株式会社
衣類乾燥機
1か月前
松本油脂製薬株式会社
繊維用処理剤及びその利用
1か月前
大阪瓦斯株式会社
衣類乾燥機
1か月前
大阪瓦斯株式会社
衣類乾燥機
1か月前
個人
開閉角度調整可能な角型折畳みピンチハンガー
1か月前
シャープ株式会社
洗濯機
1か月前
東レ株式会社
人工皮革、乗物用内装材、および座席
3か月前
シャープ株式会社
洗濯機
1か月前
株式会社コーワ
フィルター装置及び洗濯機又は乾燥機
2か月前
東レ株式会社
人工皮革およびその製造方法ならびに雑貨
21日前
シャープ株式会社
洗濯機
1か月前
セイコーエプソン株式会社
記録装置
3か月前
シャープ株式会社
洗濯機
2か月前
東芝ライフスタイル株式会社
洗濯機
3か月前
東芝ライフスタイル株式会社
洗濯機
26日前
東芝ライフスタイル株式会社
洗濯機
12日前
東レ株式会社
抗菌性アクリル系繊維およびその製造方法
22日前
続きを見る
他の特許を見る