TOP
|
特許
|
意匠
|
商標
特許ウォッチ
Twitter
他の特許を見る
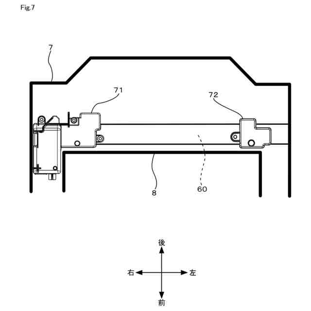
10個以上の画像は省略されています。
公開番号
2025135261
公報種別
公開特許公報(A)
公開日
2025-09-18
出願番号
2024033020
出願日
2024-03-05
発明の名称
衣類処理装置
出願人
東芝ライフスタイル株式会社
代理人
弁理士法人サトー
主分類
D06F
39/08 20060101AFI20250910BHJP(繊維または類似のものの処理;洗濯;他に分類されない可とう性材料)
要約
【課題】本実施形態は、蓋の回動軸を受ける軸受部に穴部が設けられている衣類処理装置について、仮に、その穴部から衣類処理剤などの液体が入り込んだとしても、その液体が衣類処理装置内の構成要素に付着してしまうことを抑制できるようにした技術案を提供する。
【解決手段】本実施形態に係る衣類処理装置は、衣類が収容される衣類収容槽と、前記衣類収容槽が収容されている外箱と、前記外箱の上部に設けられているトップカバーと、前記トップカバーに設けられている衣類出入口と、前記トップカバーに設けられ、前記衣類出入口を開閉する蓋と、前記トップカバーに設けられ、前記蓋の回動軸を受ける軸受部と、前記軸受部に設けられている穴部と、前記穴部の下方に設けられている液体受け部と、を備える。
【選択図】図7
特許請求の範囲
【請求項1】
衣類が収容される衣類収容槽と、
前記衣類収容槽が収容されている外箱と、
前記外箱の上部に設けられているトップカバーと、
前記トップカバーに設けられている衣類出入口と、
前記トップカバーに設けられ、前記衣類出入口を開閉する蓋と、
前記トップカバーに設けられ、前記蓋の回動軸を受ける軸受部と、
前記軸受部に設けられている穴部と、
前記穴部の下方に設けられている液体受け部と、
を備える衣類処理装置。
続きを表示(約 600 文字)
【請求項2】
前記液体受け部は、前記穴部を通過した液体を受けることが可能な形状に形成されている請求項1に記載の衣類処理装置。
【請求項3】
前記液体受け部は、前記穴部を通して受けた液体を前記衣類収容槽に誘導可能に構成されている請求項1に記載の衣類処理装置。
【請求項4】
前記衣類収容槽に水を供給する給水部をさらに備え、
前記液体受け部は、前記給水部の下方にも設けられている請求項1に記載の衣類処理装置。
【請求項5】
前記衣類収容槽に風呂水を供給する風呂水ポンプをさらに備え、
前記穴部として、前記風呂水ポンプ側に設けられている第1穴部と、前記風呂水ポンプとは反対側に設けられている第2穴部と、を備え、
前記液体受け部として、前記第1穴部の下方に設けられている第1液体受け部と、前記第2穴部の下方に設けられている第2液体受け部と、を備え、
前記第1液体受け部によって受けることができる液量は、前記第2液体受け部によって受けることができる液量よりも多い請求項1に記載の衣類処理装置。
【請求項6】
前記液体受け部は、
前記穴部を通して受けた液体を排出する排出穴と、
前記排出穴と、前記液体受け部に近接するリード線との間を遮る壁部と、
を備えている請求項1に記載の衣類処理装置。
発明の詳細な説明
【技術分野】
【0001】
本発明の実施形態は、衣類処理装置に関する。
続きを表示(約 2,500 文字)
【背景技術】
【0002】
例えば特許文献1に開示されている洗濯機は、衣類に所定の処理として洗い処理などを施すことが可能な衣類処理装置の一例である。この特許文献1の洗濯機は、衣類が収容される水槽と、この水槽に水を注ぐ注水ケースと、この注水ケースに風呂水を供給する風呂水ポンプと、を備えている。また、この特許文献1の洗濯機は、外箱の上部に設けられているトップカバーと、このトップカバーに設けられている衣類出入口と、この衣類出入口を開閉する蓋と、この蓋の回動軸を受ける軸受部と、を備えている。
【先行技術文献】
【特許文献】
【0003】
特開2013-55986号公報
【発明の概要】
【発明が解決しようとする課題】
【0004】
従来の洗濯機においては、蓋の回動軸を受ける軸受部に穴部が設けられており、この穴部内に、例えば蓋に付勢力を付与するバネなどが備えられている。このような構成においては、例えば洗剤や柔軟剤などといった衣類処理剤が穴部を通過して洗濯機内に入り込み、洗濯機内のリード線などに付着してしまうことが懸念される。
【0005】
そこで、本実施形態は、蓋の回動軸を受ける軸受部に穴部が設けられている衣類処理装置について、仮に、その穴部から衣類処理剤などの液体が入り込んだとしても、その液体が衣類処理装置内の構成要素に付着してしまうことを抑制できるようにした技術案を提供する。
【課題を解決するための手段】
【0006】
本実施形態に係る衣類処理装置は、衣類が収容される衣類収容槽と、前記衣類収容槽が収容されている外箱と、前記外箱の上部に設けられているトップカバーと、前記トップカバーに設けられている衣類出入口と、前記トップカバーに設けられ、前記衣類出入口を開閉する蓋と、前記トップカバーに設けられ、前記蓋の回動軸を受ける軸受部と、前記軸受部に設けられている穴部と、前記穴部の下方に設けられている液体受け部と、を備える。
【図面の簡単な説明】
【0007】
本実施形態に係る洗濯機の構成例を概略的に示す側面図
本実施形態に係る洗濯機における機械室内の一部の構成例を概略的に示す正面図
本実施形態に係る洗濯機における注水ケース、給水弁、風呂水ポンプの配置関係の一例を概略的に示す平面図
本実施形態に係る洗濯機の上部の構成例を概略的に示す平面図
本実施形態に係る洗濯機における軸受部およびその周辺部分の構成例を概略的に示す縦断正面図
本実施形態に係る穴部内の構成例を概略的に示す縦断側面図
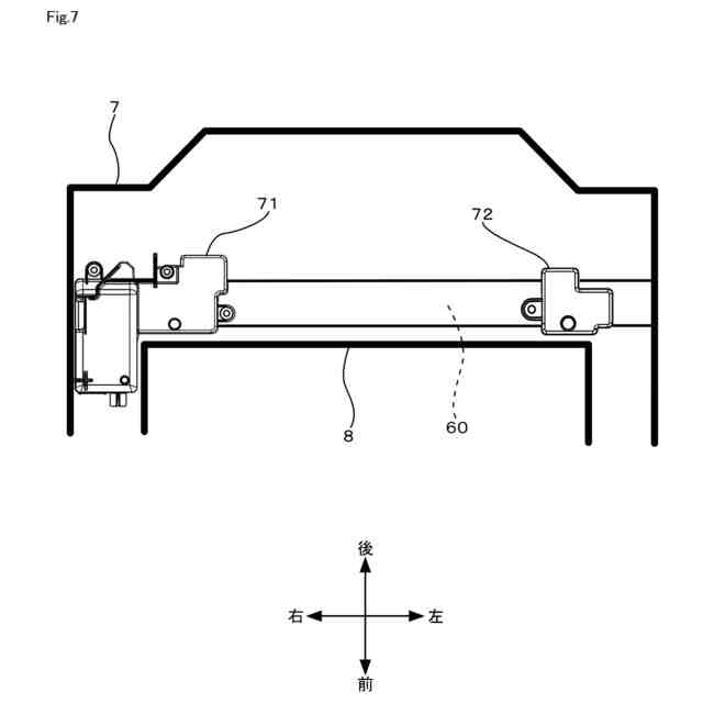
本実施形態に係る洗濯機における軸受部およびその周辺部分の構成例を概略的に示すトップカバーの後部の底面図
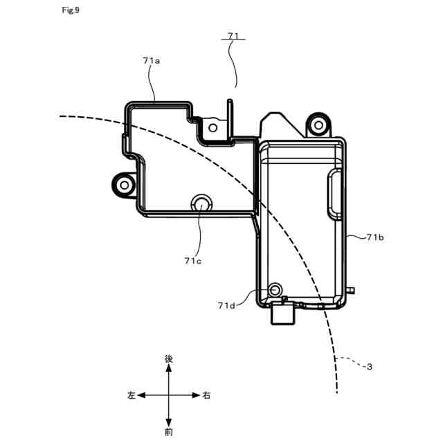
本実施形態に係る第1の液体受け部材の構成例を概略的に示す斜視図
本実施形態に係る第1の液体受け部材の構成例を概略的に示す平面図
本実施形態に係る第2の液体受け部材の構成例を概略的に示す斜視図
本実施形態に係る第2の液体受け部材の構成例を概略的に示す平面図
本実施形態に係る第1の液体受け部材とリード線の配置関係の一例を概略的に示す斜視図
本実施形態に係るトレイ部材の構成例を概略的に示す斜視図(その1)
本実施形態に係るトレイ部材の構成例を概略的に示す斜視図(その2)
本実施形態に係るトレイ部材の構成例を概略的に示す斜視図(その3)
本実施形態に係るトレイ部材の構成例を概略的に示す斜視図(その4)
本実施形態に係るトレイ部材およびその周辺部分の構成例を概略的に示す底面図
本実施形態に係るトレイ部材およびその周辺部分の構成例を概略的に示す縦断側面図
本実施形態の変形例に係る第1の液体受け部材と排液樋部の先端部との位置関係の一例を概略的に示す平面図
本実施形態の変形例に係るトレイ部材およびその周辺部分の構成例を概略的に示す平面図
【発明を実施するための形態】
【0008】
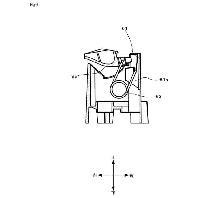
以下、衣類処理装置に係る一実施形態について図面を参照ながら説明する。図1に例示する洗濯機1は、回転槽の回転中心軸が鉛直方向に延びる、いわゆる縦軸型の洗濯機である。洗濯機1は、衣類に所定の処理、この場合、衣類を洗う洗い処理、衣類をすすぐすすぎ処理、衣類を脱水する脱水処理などを施すことが可能な衣類処理装置の一例である。洗濯機1は、その本体部分の外郭を構成する外箱2の内部に水槽3などを備えている。
【0009】
水槽3は、衣類が収容される衣類処理槽の一例であり、上部が開放した有底円筒状をなしている。水槽3の上面開放部には、水槽カバー4が設けられている。水槽カバー4には、内蓋5が上下方向に回動可能に設けられている。水槽3の内部には、上部が開放した有底円筒状の図示しない回転槽が縦軸回りに回転可能に備えられている。また、この回転槽の底部には、当該回転槽内の衣類や水槽3内の水を撹拌するための図示しないパルセータが縦軸回りに回転可能に備えられている。
【0010】
外箱2は、上部が開放したほぼ矩形箱状の外箱本体部6の上部にトップカバー7が取り付けられた構成となっている。即ち、トップカバー7は、外箱2の上部を構成している。トップカバー7のほぼ中央部には、衣類を出し入れするための衣類出入口8が設けられている。この衣類出入口8は、トップカバー7の上部において上下方向に回動可能に設けられた外蓋9によって開閉されるようになっている。使用者は、この外蓋9を開き、さらに、上述した内蓋5も開くことにより、衣類出入口8を通して水槽3内の図示しない回転槽内に衣類を出し入れすることができる。なお、外蓋9は、2つの板状の蓋形成部材が折り畳み可能に構成されたものであってもよいし、1枚の板状の部材により折り畳み不能に構成されたものであってもよい。
(【0011】以降は省略されています)
この特許をJ-PlatPat(特許庁公式サイト)で参照する
関連特許
個人
洗濯装置
1か月前
個人
ハンガー保持具
3か月前
ダイニック株式会社
柄印刷壁紙
4か月前
株式会社青柳
染め加工方法
27日前
東レ株式会社
繊維断面の検査方法
6日前
ライオン株式会社
液体柔軟剤組成物
3か月前
日本バイリーン株式会社
内装用表面材
3か月前
シャープ株式会社
洗濯機
3か月前
花王株式会社
洗浄剤組成物
3か月前
東レ株式会社
樹脂含浸繊維束の製造方法
2か月前
東レ株式会社
炭素繊維シートの製造方法
1か月前
有限会社高田紙器製作所
紙製洗濯バサミ
2か月前
東レ株式会社
ゴム補強用合成繊維コード
13日前
株式会社創和
ボックス状洗濯ネット
28日前
株式会社大阪ソーダ
撥水撥油性繊維処理剤
1か月前
シャープ株式会社
洗濯乾燥機
3か月前
シャープ株式会社
洗濯機
1か月前
個人
洗濯用洗剤容器の蓋
1か月前
日本バイリーン株式会社
表皮材とその製造方法
3か月前
株式会社コーワ
フィルター清掃装置及び乾燥機
3か月前
株式会社コーワ
フィルター清掃装置及び乾燥機
3か月前
アイナックス稲本株式会社
連続式洗濯機
3か月前
大阪瓦斯株式会社
衣類乾燥機
1か月前
大阪瓦斯株式会社
衣類乾燥機
1か月前
大和ハウス工業株式会社
物干し設備
3か月前
松本油脂製薬株式会社
繊維用処理剤及びその利用
1か月前
大阪瓦斯株式会社
衣類乾燥機
1か月前
個人
開閉角度調整可能な角型折畳みピンチハンガー
1か月前
東レ株式会社
人工皮革、乗物用内装材、および座席
3か月前
シャープ株式会社
洗濯機
2か月前
シャープ株式会社
洗濯機
2か月前
株式会社コーワ
フィルター装置及び洗濯機又は乾燥機
3か月前
東レ株式会社
人工皮革およびその製造方法ならびに雑貨
28日前
シャープ株式会社
衣類処理システム
1か月前
東芝ライフスタイル株式会社
洗濯機
1か月前
東レ株式会社
抗菌性アクリル系繊維およびその製造方法
29日前
続きを見る
他の特許を見る