TOP
|
特許
|
意匠
|
商標
特許ウォッチ
Twitter
他の特許を見る
10個以上の画像は省略されています。
公開番号
2025117470
公報種別
公開特許公報(A)
公開日
2025-08-12
出願番号
2024012332
出願日
2024-01-30
発明の名称
加熱ブロック及びダブルベルトプレス
出願人
株式会社SGIC
代理人
個人
,
個人
,
個人
,
個人
主分類
H05B
6/42 20060101AFI20250804BHJP(他に分類されない電気技術)
要約
【課題】 励磁コイルの温度が過度に上昇することを抑制する。
【解決手段】 ダブルベルトプレスで用いられる加熱ブロック(20)であって、励磁コイル(21)及び収容ユニット(40)を有する。励磁コイル(21)は、金属製のベルト(13a,13b)を誘導加熱する。収容ユニット(40)は、ブロック本体(22)に固定されており、励磁コイル(21)と、励磁コイル(21)を冷却するための冷却液(CL)とを収容する収容室(S1,S2)を形成する。
【選択図】 図3
特許請求の範囲
【請求項1】
ダブルベルトプレスで用いられる加熱ブロックであって、
金属製のベルトを誘導加熱する励磁コイルと、
ブロック本体に固定されており、前記励磁コイルと、前記励磁コイルを冷却するための冷却液とを収容する収容室を形成する収容ユニットと、
を有することを特徴とする加熱ブロック。
続きを表示(約 1,000 文字)
【請求項2】
前記収容ユニットは、
前記励磁コイル及び前記冷却液を収容する第1収容室を形成する第1プレート及び第2プレートと、
前記第1プレート及び前記ブロック本体の間に配置され、前記加熱ブロックの外部から前記冷却液が供給される第2収容室を形成するスペーサと、を有し、
前記第1プレートは、前記第2収容室から前記第1収容室に前記冷却液を移動させる開口部を有することを特徴とする請求項1に記載の加熱ブロック。
【請求項3】
複数の前記開口部は、前記励磁コイルに沿って配置されていることを特徴とする請求項2に記載の加熱ブロック。
【請求項4】
前記第1プレート及び前記第2プレートのうちの少なくとも一方は、前記励磁コイルの端部を収容する収容溝を有することを特徴とする請求項2に記載の加熱ブロック。
【請求項5】
前記第2プレートは、前記第1収容室に含まれる気泡を外部に排出するための気泡抜き孔を有することを特徴とする請求項2に記載の加熱ブロック。
【請求項6】
前記収容ユニットは、
前記励磁コイルの全体を収容し、前記励磁コイルとの間に隙間を形成する収容溝を有する第1プレートと、
前記第1プレートに重ねられ、前記収容溝と繋がる開口部を有する第2プレートと、
前記冷却液を流動させ、前記開口部と繋がる流路を有する第3プレートと、
を有することを特徴とする請求項1に記載の加熱ブロック。
【請求項7】
前記第1プレートは、前記収容溝における複数の部分を連通させる連通孔を有することを特徴とする請求項6に記載の加熱ブロック。
【請求項8】
前記第1プレートは、前記収容溝に含まれる気泡を外部に排出するための気泡抜き孔を有することを特徴とする請求項6に記載の加熱ブロック。
【請求項9】
前記ベルトの表面に接触し、前記加熱ブロック及び前記ベルトの間に前記冷却液を留めるためのシール部材を有することを特徴とする請求項5又は8に記載の加熱ブロック。
【請求項10】
前記収容ユニットに固定されており、前記ベルトと接触するガイド板を有することを特徴とする請求項1に記載の加熱ブロック。
(【請求項11】以降は省略されています)
発明の詳細な説明
【技術分野】
【0001】
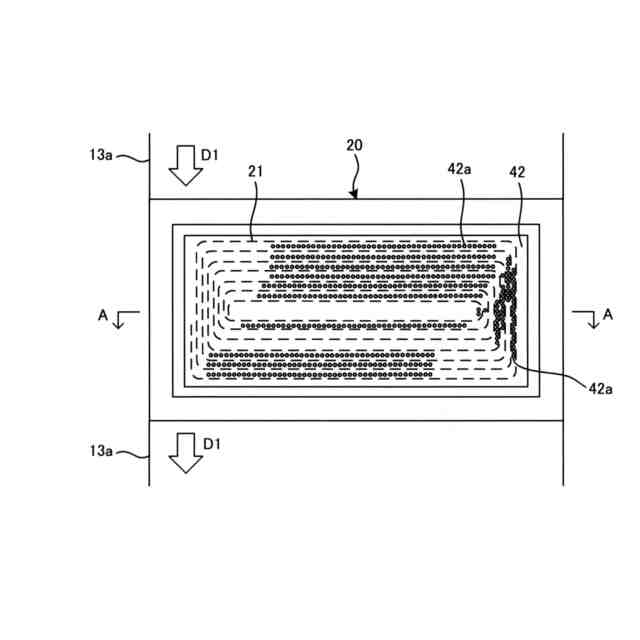
本発明は、ダブルベルトプレスで用いられ、励磁コイルを備えた加熱ブロックに関する。
続きを表示(約 1,200 文字)
【背景技術】
【0002】
特許文献1では、無端状の金属ベルトで被プレス物を上下から挟んだ状態で被プレス物を加熱・加圧する連続ホットプレス装置において、励磁コイルを用いて金属ベルトを誘導加熱している。ここで、励磁コイルには高周波電力が供給され、励磁コイルの高周波磁界によって金属ベルトが発熱する。
【先行技術文献】
【特許文献】
【0003】
特開2014-151349号公報
【発明の概要】
【発明が解決しようとする課題】
【0004】
励磁コイルの使用状況によっては、励磁コイルの温度が上昇してしまい、金属ベルトを誘導加熱しにくくなることがある。
【課題を解決するための手段】
【0005】
本願第1の発明は、ダブルベルトプレスで用いられる加熱ブロックであって、励磁コイル及び収容ユニットを有する。励磁コイルは、金属製のベルトを誘導加熱する。収容ユニットは、ブロック本体に固定されており、励磁コイルと、励磁コイルを冷却するための冷却液とを収容する収容室を形成する。
【0006】
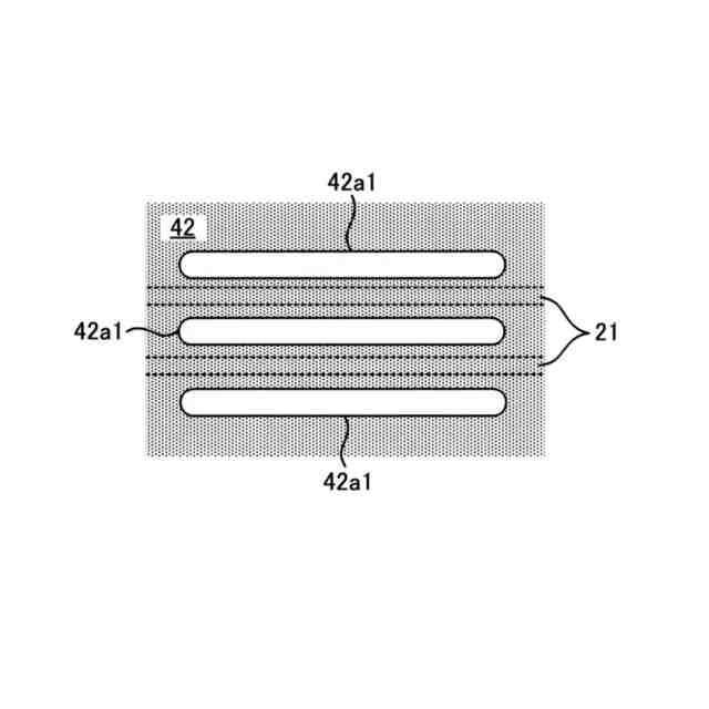
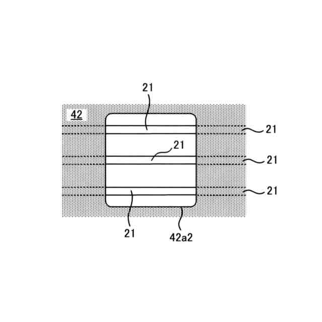
収容ユニットは、第1プレート、第2プレート及びスペーサによって構成することができる。第1プレート及び第2プレートは、励磁コイル及び冷却液を収容する第1収容室を形成する。スペーサは、第1プレート及びブロック本体の間に配置され、加熱ブロックの外部から冷却液が供給される第2収容室を形成する。ここで、第1プレートには、第2収容室から第1収容室に冷却液を移動させる開口部を設けることができる。また、複数の開口部は、励磁コイルに沿って配置することができる。
【0007】
第1プレート及び第2プレートのうちの少なくとも一方には、励磁コイルの端部を収容する収容溝を設けることができる。第2プレートには、第1収容室に含まれる気泡を外部に排出するための気泡抜き孔を設けることができる。
【0008】
収容ユニットは、第1プレート、第2プレート及び第3プレートによって構成することができる。第1プレートは、励磁コイルの全体を収容し、励磁コイルとの間に隙間を形成する収容溝を有する。第2プレートは、第1プレートに重ねられ、収容溝と繋がる開口部を有する。第3プレートは、冷却液を流動させ、第2プレートの開口部と繋がる流路を有する。
【0009】
第1プレートには、収容溝における複数の部分を連通させる連通孔を設けることができる。また、第1プレートには、収容溝に含まれる気泡を外部に排出するための気泡抜き孔を設けることができる。
【0010】
加熱ブロックにはシール部材を設けることができる。シール部材は、ベルトの表面に接触し、加熱ブロック及びベルトの間に冷却液を留めるために用いられる。収容ユニットには、ベルトと接触するガイド板を固定することができる。
(【0011】以降は省略されています)
この特許をJ-PlatPat(特許庁公式サイト)で参照する
関連特許
株式会社SGIC
加熱ブロック及びダブルベルトプレス
2か月前
株式会社コロナ
電気機器
3か月前
個人
電子部品の実装方法
23日前
個人
電気式バーナー
7日前
個人
非衝突型ガウス加速器
2か月前
愛知電機株式会社
装柱金具
15日前
日本精機株式会社
回路基板
1か月前
アイホン株式会社
電気機器
1か月前
キヤノン株式会社
電子機器
1か月前
日本放送協会
基板固定装置
1か月前
キヤノン株式会社
電子機器
3か月前
個人
節電材料
2か月前
アイホン株式会社
電気機器
2か月前
イビデン株式会社
配線基板
16日前
メクテック株式会社
配線基板
3か月前
メクテック株式会社
配線基板
2か月前
マクセル株式会社
配列用マスク
3か月前
東レ株式会社
霧化状活性液体供給装置
1か月前
シャープ株式会社
加熱機器
今日
イビデン株式会社
プリント配線板
3か月前
FDK株式会社
基板
22日前
株式会社レクザム
剥離装置
15日前
サクサ株式会社
筐体の壁掛け構造
1か月前
イビデン株式会社
配線基板
1か月前
トキコーポレーション株式会社
照明器具
3か月前
イビデン株式会社
プリント配線板
2か月前
サクサ株式会社
開き角度規制構造
14日前
株式会社デンソー
電子装置
16日前
イビデン株式会社
プリント配線板
1か月前
イビデン株式会社
配線基板
2か月前
イビデン株式会社
プリント配線板
3か月前
メクテック株式会社
配線モジュール
3か月前
カシン工業株式会社
PTC発熱装置
2か月前
富士フイルム株式会社
積層体
16日前
日産自動車株式会社
電子部品
1か月前
株式会社レゾナック
冷却装置
22日前
続きを見る
他の特許を見る