TOP
|
特許
|
意匠
|
商標
特許ウォッチ
Twitter
他の特許を見る
10個以上の画像は省略されています。
公開番号
2025031886
公報種別
公開特許公報(A)
公開日
2025-03-07
出願番号
2024227637,2023097696
出願日
2024-12-24,2018-12-19
発明の名称
コインランドリー利用支援システム
出願人
青島海爾洗衣机有限公司
,
QINGDAO HAIER WASHING MACHINE CO.,LTD.
,
アクア株式会社
代理人
個人
主分類
G06Q
50/10 20120101AFI20250228BHJP(計算;計数)
要約
【課題】利用者がコインランドリーを十分に有効活用できるように支援することで、利用者の利便性を高める技術の提供。
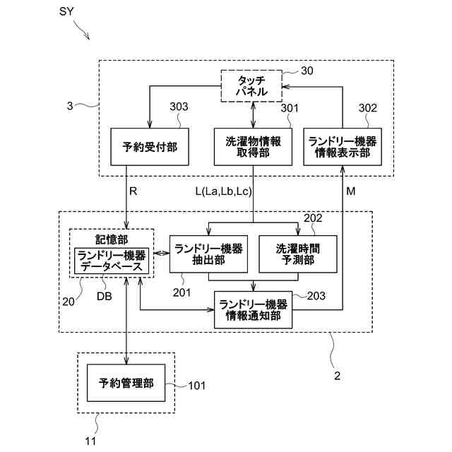
【解決手段】コインランドリー利用支援システムSYは、複数のコインランドリー1および各コインランドリー1に設置されているランドリー機器11の情報を含むランドリー機器データベースDBを記憶した記憶部20と、利用者側の端末装置3において、洗濯物に関する情報である洗濯物情報Lを取得する洗濯物情報取得部301と、洗濯物情報Lに基づいて、ランドリー機器データベースDBから洗濯物の洗濯に適したランドリー機器11を抽出するランドリー機器抽出部201と、抽出されたランドリー機器11および該ランドリー機器が設置されているコインランドリー1を端末装置3に通知する、ランドリー機器情報通知部202と、を備える。
【選択図】図2
特許請求の範囲
【請求項1】
複数のコインランドリーおよび各コインランドリーに設置されているランドリー機器の情報を含むランドリー機器データベースを記憶した記憶部と、
利用者側の端末装置において、洗濯物に関する情報である洗濯物情報を取得する洗濯物情報取得部と、
前記洗濯物情報に基づいて、前記ランドリー機器データベースから前記洗濯物の洗濯に適したランドリー機器を抽出するランドリー機器抽出部と、
前記抽出されたランドリー機器および該ランドリー機器が設置されているコインランドリーを前記端末装置に通知する、ランドリー機器情報通知部と、
を備える、コインランドリー利用支援システム。
続きを表示(約 950 文字)
【請求項2】
請求項1に記載のコインランドリー利用支援システムであって、
前記洗濯物情報取得部が、
それぞれが重さの異なる洗濯物と対応する複数のイメージを、前記端末装置の表示部に表示させるとともに、前記利用者から前記複数のイメージのいずれかの選択を受け付け、選択されたイメージと対応する洗濯物の重さを、前記洗濯物情報として取得し、
前記ランドリー機器抽出部が、前記洗濯物の重さに応じた容量のランドリー機器を抽出する、コインランドリー利用支援システム。
【請求項3】
請求項1または2に記載のコインランドリー利用支援システムであって、
前記洗濯物情報に基づいて洗濯時間を予測する洗濯時間予測部、
を備え、
前記ランドリー機器情報通知部が、予測された前記洗濯時間を前記端末装置に通知する、コインランドリー利用支援システム。
【請求項4】
請求項1または2に記載のコインランドリー利用支援システムであって、
前記ランドリー機器データベースに、前記複数のコインランドリーの各々に設置されている各ランドリー機器の稼働スケジュールが含まれており、
前記ランドリー機器情報通知部が、前記抽出されたランドリー機器の稼働スケジュールを前記端末装置に通知する、
コインランドリー利用支援システム。
【請求項5】
請求項4に記載のコインランドリー利用支援システムであって、
前記端末装置において、前記抽出されたランドリー機器の予約を受け付ける予約受付部、
を備える、コインランドリー利用支援システム。
【請求項6】
請求項5に記載のコインランドリー利用支援システムであって、
前記ランドリー機器において、洗濯が開始されてから一部の工程までが完了した途中段階で、前記一部の工程の実際の所要時間に基づいて、残りの工程の所要時間を予測して、洗濯の終了予定時刻を予測する終了時刻予測部、
を備え、
前記終了予定時刻が、前記ランドリー機器データベースにおける前記ランドリー機器の稼働スケジュールに反映される、
コインランドリー利用支援システム。
発明の詳細な説明
【技術分野】
【0001】
本発明は、コインランドリーの利用を支援するためのシステムに関する。
続きを表示(約 1,800 文字)
【背景技術】
【0002】
周知の通り、コインランドリーは、衣類や布製品に対する洗濯を、料金の支払いに応じて実行するランドリー機器が、複数台設置された店舗である。利用者は、洗濯物を持ってコインランドリーに足を運び、空いているランドリー機器に硬貨を投入する等して料金を支払うとともに、該ランドリー機器に洗濯物を投入して、該ランドリー機器に洗濯等を実行させる。そして、洗濯等が終了する頃に再びコインランドリーに出向き、洗濯済みの洗濯物を回収する。
【0003】
なお、本明細書において、「コインランドリー」は、硬貨の投入によってランドリー機器を利用する方式(いわゆる、コイン方式)を採用している店舗に限られるものではなく、有価価値が記憶されたICカード等をカードリーダに読み取らせることによってランドリー機器を利用する方式(いわゆる、キャッシュレス方式)を採用しているコインランドリー等を含む。また、本明細書において、「洗濯」には、衣類や布製品に対して施す各種の処理、例えば、洗濯処理、乾燥処理、洗濯乾燥処理、除菌処理、等が含まれるものとする。
【先行技術文献】
【特許文献】
【0004】
特開2005-339046号公報
【発明の概要】
【発明が解決しようとする課題】
【0005】
近年のコインランドリーでは、多種多様のランドリー機器を設置することによって、多様な利用者のニーズに柔軟に応じて利用者の利便性を高めようとしている。例えば洗濯機ひとつをとってみても、容量が比較的小さな小型の洗濯機、容量が比較的大きな大型の洗濯機、スニーカーや布団などを洗うための特別機能を有する洗濯機、等が設置されており、利用者は、これらの洗濯機の中から、自分の洗濯物の量に応じた容量の洗濯機や、自分の目的に応じた特別機能を有する洗濯機を選択することで、洗濯時間や料金の無駄をなくしたり、自宅の洗濯機で洗えないものを洗うことができたりする。
【0006】
コインランドリーに設置された多種多様のランドリー機器は、利用者の側で適切な機器を選択することができてはじめて有効に活用されるものであるところ、現状では利用者が適切な機器を選択できていないケースも多く、このような場合は逆に利用者に不利益や混乱を招くこともある。例えば、利用者が、洗濯物の重さに対して大きすぎる容量の洗濯機を使用すると、洗濯時間や料金の無駄が発生する。逆に、洗濯物の重さに対して小さすぎる容量の洗濯機を使用すると、十分な洗浄が行われない虞がある。
【0007】
本発明は、上記の事情に鑑みてなされたものであり、利用者がコインランドリーを十分に有効活用できるように支援することで、利用者の利便性を高める技術の提供を目的としている。
【課題を解決するための手段】
【0008】
本発明は、かかる目的を達成するために、次のような手段を講じたものである。
【0009】
すなわち、本発明のコインランドリー利用支援システムは、
複数のコインランドリーおよび各コインランドリーに設置されているランドリー機器の情報を含むランドリー機器データベースを記憶した記憶部と、
利用者側の端末装置において、洗濯物に関する情報である洗濯物情報を取得する洗濯物情報取得部と、
前記洗濯物情報に基づいて、前記ランドリー機器データベースから前記洗濯物の洗濯に適したランドリー機器を抽出するランドリー機器抽出部と、
前記抽出されたランドリー機器および該ランドリー機器が設置されているコインランドリーを前記端末装置に通知する、ランドリー機器情報通知部と、
を備える。
【0010】
本発明のコインランドリー利用支援システムにおいて、
前記洗濯物情報取得部が、
それぞれが重さの異なる洗濯物と対応する複数のイメージを、前記端末装置の表示部に表示させるとともに、前記利用者から前記複数のイメージのいずれかの選択を受け付け、選択されたイメージと対応する洗濯物の重さを、前記洗濯物情報として取得し、
前記ランドリー機器抽出部が、前記洗濯物の重さに応じた容量のランドリー機器を抽出することが好ましい。
(【0011】以降は省略されています)
この特許をJ-PlatPat(特許庁公式サイト)で参照する
関連特許
個人
地球保全システム
6日前
株式会社キーエンス
受発注システム
5日前
株式会社キーエンス
受発注システム
5日前
個人
食品レシピ生成システム
5日前
株式会社キーエンス
受発注システム
5日前
キヤノン株式会社
表示システム
5日前
株式会社キーエンス
製品受発注システム
5日前
個人
マーケティング活動支援装置
4日前
フリー株式会社
情報処理システム
12日前
株式会社梓総合研究所
冷却システム
4日前
ブラザー工業株式会社
サポートプログラム
11日前
個人
本人認証連動型帳票出力支援システム
8日前
ワキ製薬株式会社
配置薬管理システム
4日前
本田技研工業株式会社
会話装置
4日前
株式会社カネカ
生産計画立案システム
8日前
株式会社国際電気
タスク管理システム
4日前
株式会社北國銀行
勘定系システム
8日前
個人
冷凍食品ギフトおよび定期便支援システム
12日前
株式会社デンソー
移動体制御装置
5日前
HIKEN株式会社
警備員予約システム
11日前
トヨタ自動車株式会社
情報処理装置
8日前
ミサワホーム株式会社
リフォーム支援装置
4日前
トヨタ自動車株式会社
情報処理装置
8日前
株式会社フューチャーアイ
サービス提供システム
5日前
トヨタ自動車株式会社
情報処理装置
8日前
個人
検索装置、検索方法、及びプログラム
8日前
トヨタ自動車株式会社
情報処理装置
8日前
トヨタ自動車株式会社
情報処理装置
8日前
ミサワホーム株式会社
リフォーム支援装置
4日前
個人
計算装置
7日前
株式会社椿知財サービス
情報処理装置
1日前
株式会社デンソー
電子制御装置
4日前
個人
フードロス通知連携型農作物活用支援システム
12日前
中部電力株式会社
マッチングシステム
11日前
日本電気株式会社
分析装置
8日前
アズビル株式会社
情報処理システムおよび方法
6日前
続きを見る
他の特許を見る