TOP
|
特許
|
意匠
|
商標
特許ウォッチ
Twitter
他の特許を見る
公開番号
2025141750
公報種別
公開特許公報(A)
公開日
2025-09-29
出願番号
2024116200
出願日
2024-07-19
発明の名称
勘定系システム
出願人
株式会社北國銀行
代理人
個人
,
個人
主分類
G06F
11/20 20060101AFI20250919BHJP(計算;計数)
要約
【課題】勘定系処理をより確実に実行することができる勘定系システムを提供する。
【解決手段】勘定系システムは、第1のプラットフォーマが提供する第1クラウドシステム1におけるサーバ10と、前記第1のプラットフォーマと異なる第2のプラットフォーマが提供する第2クラウドシステム2における補助サーバ20とを備え、前記サーバ10がクライアントシステム4からのアクセスを受けて勘定系処理を実行し、前記サーバ10と前記補助サーバ20との間で、前記勘定系処理を実行するためのデータベースを同期し、前記補助サーバ20に切り換えて前記勘定系処理を実行する。
【選択図】図1
特許請求の範囲
【請求項1】
第1のプラットフォーマが提供する第1クラウドシステムにおけるサーバと、
前記第1のプラットフォーマと異なる第2のプラットフォーマが提供する第2クラウドシステムにおける補助サーバとを備え、
前記サーバがクライアントシステムからのアクセスを受けて勘定系処理を実行し、
前記サーバと前記補助サーバとの間で、前記勘定系処理を実行するためのデータベースを同期し、
前記補助サーバに切り換えて前記勘定系処理を実行する
勘定系システム。
続きを表示(約 800 文字)
【請求項2】
前記第1クラウドシステムにおける前記サーバは、前記第1クラウドシステム内で相互に同期する複数のサーバにより構成され、
前記第2クラウドシステムにおける前記補助サーバは、前記第2クラウドシステム内で相互に同期する複数の補助サーバにより構成される
請求項1に記載の勘定系システム。
【請求項3】
前記サーバ及び補助サーバはSQLサーバであり、
複数の前記サーバと、複数の前記補助サーバとがそれぞれ、複数のサーバコンピュータを単一のサーバコンピュータとして動作させる、異なる可用性グループを構成し、
前記複数のサーバ及び複数の補助サーバが、複数の可用性グループにまたがる可用性グループである分散可用性グループを構成する
請求項2に記載の勘定系システム。
【請求項4】
前記第1クラウドシステム及び第2クラウドシステムにそれぞれ配置されたクォーラムデバイスを更に備え、
前記複数のサーバ及びクォーラムデバイスは相互にハートビート通信を行って前記勘定系処理を行う前記サーバを多数決により選択し、
前記複数の補助サーバ及びクォーラムデバイスは相互にハートビート通信を行って前記勘定系処理を行う前記補助サーバを多数決により選択する
請求項2に記載の勘定系システム。
【請求項5】
前記勘定系処理を実行するサーバコンピュータを前記サーバから前記補助サーバに切り換えた場合、前記サーバと前記補助サーバとの間の通信を遮断する
請求項1に記載の勘定系システム。
【請求項6】
前記サーバは、前記補助サーバから前記データベースを同期した旨のレスポンスを取得した場合、前記勘定系処理の結果を前記クライアントシステムに出力する
請求項1に記載の勘定系システム。
発明の詳細な説明
【技術分野】
【0001】
本発明は、勘定系システムに関する。
続きを表示(約 1,400 文字)
【背景技術】
【0002】
クラウドシステムでは、複数のサーバコンピュータが互いに同期を取り、いずれかのサーバの障害時等に別のサーバに切り換えて処理を実行することが行われている。例えば特許文献1では、二重化されたサーバユニットのいずれか一方を主系として複数の端末に対してサービスを提供させ、他方のサーバユニットを従系とする二重化サーバシステムが開示されている。
【先行技術文献】
【特許文献】
【0003】
特開2000-330814号公報
【発明の概要】
【発明が解決しようとする課題】
【0004】
一つの側面では、勘定系処理をより確実に実行することができる勘定系システムを提供することを目的とする。
【課題を解決するための手段】
【0005】
一つの側面では、勘定系システムは、第1のプラットフォーマが提供する第1クラウドシステムにおけるサーバと、前記第1のプラットフォーマと異なる第2のプラットフォーマが提供する第2クラウドシステムにおける補助サーバとを備え、前記サーバがクライアントシステムからのアクセスを受けて勘定系処理を実行し、前記サーバと前記補助サーバとの間で、前記勘定系処理を実行するためのデータベースを同期し、前記補助サーバに切り換えて前記勘定系処理を実行する。
【発明の効果】
【0006】
一つの側面では、勘定系処理をより確実に実行することができる。
【図面の簡単な説明】
【0007】
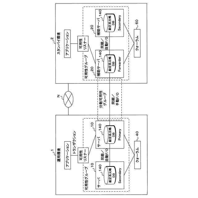
勘定系システムの構成例を示す説明図である。
サーバの構成例を示すブロック図である。
運用環境及びスタンバイ環境の構成例を示す図である。
勘定系システムが実行する処理手順の一例を示すフローチャートである。
ステップS12のサブルーチンの処理手順を示すフローチャートである。
ステップS17のサブルーチンの処理手順を示すフローチャートである。
【発明を実施するための形態】
【0008】
以下、本発明をその実施の形態を示す図面に基づいて詳述する。
(実施の形態)
図1は、勘定系システムの構成例を示す説明図である。本実施の形態では、マルチクラウド環境で、クラウド間のデータを同期し、いずれかのクラウド環境を選択して、オンラインによる銀行業務のための勘定系処理を実行する勘定系システムについて説明する。勘定系システムは、第1クラウドシステム1、第2クラウドシステム2、管理者端末3、クライアントシステム4、4、4…を含む。各装置は、インターネット等のネットワークNを介して通信接続されている。
【0009】
第1クラウドシステム1は、第1のプラットフォーマが提供するクラウドシステムであり、複数のサーバ10、10、10…から構成されている。本実施の形態では、第1クラウドシステム1として、マイクロソフト(登録商標)社が提供するMicrosoft Azure(登録商標)を想定する。後述の如く、本実施の形態では第1クラウドシステム1を主たる勘定系システムとして機能させ、オンラインによる銀行業務のための種々の勘定系処理を行わせる。
【0010】
以下の説明では、第1クラウドシステム1を「運用環境1」と呼ぶ。
(【0011】以降は省略されています)
この特許をJ-PlatPat(特許庁公式サイト)で参照する
関連特許
株式会社北國銀行
勘定系システム
4日前
個人
裁判のAI化
2か月前
個人
情報処理システム
2か月前
個人
工程設計支援装置
1か月前
個人
フラワーコートA
1か月前
個人
地球保全システム
2日前
個人
冷凍食品輸出支援構造
29日前
個人
為替ポイント伊達夢貯
29日前
個人
介護情報提供システム
2か月前
個人
携帯情報端末装置
1か月前
個人
表変換編集支援システム
22日前
個人
設計支援システム
2か月前
個人
設計支援システム
2か月前
個人
結婚相手紹介支援システム
1か月前
個人
知財出願支援AIシステム
29日前
株式会社カクシン
支援装置
2か月前
個人
AIによる情報の売買の仲介
1か月前
個人
行動時間管理システム
24日前
個人
パスワード管理支援システム
22日前
株式会社キーエンス
受発注システム
1日前
個人
パスポートレス入出国システム
1か月前
個人
システム及びプログラム
15日前
株式会社アジラ
進入判定装置
1か月前
株式会社キーエンス
受発注システム
1日前
株式会社キーエンス
受発注システム
1日前
個人
アンケート支援システム
1か月前
個人
食品レシピ生成システム
1日前
個人
AIキャラクター制御システム
22日前
日本精機株式会社
施工管理システム
1か月前
個人
海外支援型農作物活用システム
14日前
個人
ジェスチャーパッドのガイド部材
2か月前
個人
社会還元・施設向け供給支援構造
22日前
大阪瓦斯株式会社
住宅設備機器
1か月前
キヤノン株式会社
表示システム
1日前
大同特殊鋼株式会社
疵判定方法
8日前
サクサ株式会社
中継装置
2か月前
続きを見る
他の特許を見る