TOP特許意匠商標
特許ウォッチ Twitter
公開番号2025058480
公報種別公開特許公報(A)
公開日2025-04-09
出願番号2023168440
出願日2023-09-28
発明の名称分散型データアグリゲーション方法および分散型データアグリゲーションフレームワーク
出願人国立大学法人広島大学
代理人個人
主分類H04L 9/32 20060101AFI20250402BHJP(電気通信技術)
要約【課題】分散型データアグリゲーションにSSI統合して潜在的な認証と許諾の問題に対処する。
【解決手段】コンシューマ20がアグリゲータ50を通じて、データソース10から提供されストレージ40に保存されたデータを集約する分散型データアグリゲーションフレームワーク100は、データソース10の提供データを承認しストレージ40にアップロードするとともにデータ所有証明としてクレデンシャルを発行する機能、およびコンシューマ20を許諾する機能を有するオーソリティ30を備え、データソース10が、クレデンシャルを取得して保持する機能、暗号化クレデンシャルをアグリゲータ50に送る機能を有し、アグリゲータ50が、暗号化クレデンシャルを復号して検証してデータソース10を認証するとともにクレデンシャルに基づくデータ所有証明およびコンシューマ20の許諾を検証する機能、および暗号化データを復号する機能を有する。
【選択図】図1
特許請求の範囲【請求項1】
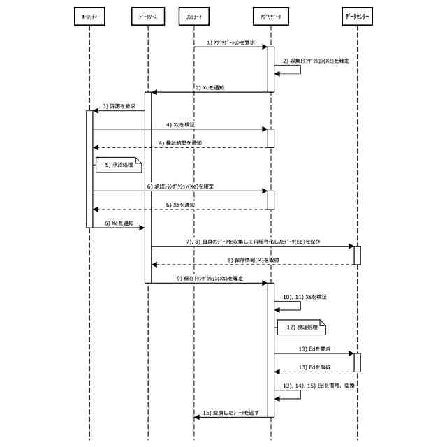
コンシューマがアグリゲータを通じて、データソースから提供されストレージに保存されたデータを集約する分散型データアグリゲーション方法であって、
アグリゲータが、コンシューマからアグリゲーション要求を受けてデータソースにデータを要求する第1のステップと、
データソースが、アグリゲータからの要求に応じてオーソリティにコンシューマの許諾を要求する第2のステップと、
オーソリティが、データソースからの要求に応じてコンシューマをオースライズする第3のステップと、
データソースが、ストレージから自身の提供データを収集し対称鍵で暗号化した暗号化データおよび対称鍵をコンシューマの公開鍵で暗号化した暗号化鍵をストレージにアップロードして保存情報を取得する第4のステップと、
データソースが、データ所有証明としてオーソリティから発行され保持しているクレデンシャルをデータソースの秘密鍵およびコンシューマの公開鍵で暗号化した暗号化クレデンシャルおよび保存情報をコンシューマの公開鍵で暗号化した暗号化保存情報をアグリゲータに送る第5のステップと、
アグリゲータが、暗号化クレデンシャルをコンシューマの秘密鍵およびデータソースの公開鍵で復号したクレデンシャルを検証してデータソースを認証するとともにクレデンシャルに基づくデータ所有証明およびオーソリティによるコンシューマの許諾を検証する第6のステップと、
アグリゲータが、暗号化保存情報をコンシューマの秘密鍵で復号した保存情報に基づいてストレージから暗号化データおよび暗号化鍵をフェッチする第7のステップと、
アグリゲータが、暗号化鍵をコンシューマの秘密鍵で復号した対称鍵で暗号化データを復号し所定の形式に変換したデータをコンシューマに返す第8のステップと、を備えた
ことを特徴とする分散型データアグリゲーション方法。
続きを表示(約 2,000 文字)【請求項2】
データソースが、オーソリティに自身のIDを提示して提供したデータの承認を要求するステップと、
オーソリティが、データソースからの要求に応じて提供されたデータを承認し対称鍵で暗号化した暗号化データをストレージにアップロードして保存情報を取得するとともにデータ所有証明としてクレデンシャルを発行するステップと、
データソースが、オーソリティから保存情報およびクレデンシャルを取得して保持するステップと、を備えた
ことを特徴とする請求項1に記載の分散型データアグリゲーション方法。
【請求項3】
前記第7のステップにおいて、アグリゲータが、前記暗号化データの提供元のデータソースおよび当該データソースに対してクレデンシャルを発行するオーソリティの少なくとも一方に対価を払う
ことを特徴とする請求項1に記載の分散型データアグリゲーション方法。
【請求項4】
前記ストレージが分散型台帳技術に基づく分散型ストレージであり、
前記第1のステップにおいて、アグリゲータが、データ要求先のデータソースの分散型IDを含むコレクション・トランザクションを確定し、
前記第3のステップにおいて、オーソリティのアグリゲータが、データ要求元のコンシューマとデータ要求先のデータソースの分散型ID対応関係情報を含む承認トランザクションを確定し、
前記第5のステップにおいて、データソースのアグリゲータが、暗号化クレデンシャルおよび暗号化保存情報を含むストレージ・トランザクションを確定する
ことを特徴とする請求項1ないし3のいずれかに記載の分散型データアグリゲーション方法。
【請求項5】
前記ストレージが特定の管理者により管理される自己管理ストレージであり、
前記第1のステップにおいて、アグリゲータが、コンシューマから乱数を受けてデータソースに通知し、
前記第2のステップにおいて、データソースが、オーソリティに対し、通知された乱数をデータソースの秘密鍵で暗号化した暗号化乱数でコンシューマを許諾するよう要求し、
前記第3のステップにおいて、オーソリティが、暗号化乱数をオーソリティの秘密鍵で暗号化した二重暗号化乱数をデータソースに通知し、
前記第5のステップにおいて、データソースが、二重暗号化乱数をアグリゲータに送り、
前記第6のステップにおいて、アグリゲータが、二重暗号化乱数をデータソースの公開鍵およびオーソリティの公開鍵で復号した乱数を検査することでオーソリティによるコンシューマの許諾を検証する、
ことを特徴とする請求項1ないし3のいずれかに記載の分散型データアグリゲーション方法。
【請求項6】
コンシューマがアグリゲータを通じて、データソースから提供されストレージに保存されたデータを集約する分散型データアグリゲーションフレームワークであって、
データソースからの要求に応じて提供されたデータを承認し対称鍵で暗号化した暗号化データをストレージにアップロードして保存情報を取得するとともにデータ所有証明としてクレデンシャルを発行する機能、およびデータソースからの要求に応じてコンシューマをオースライズする機能を有するオーソリティを備え、
データソースが、オーソリティに自身のIDを提示して提供したデータの承認を要求する機能、オーソリティから保存情報およびクレデンシャルを取得して保持する機能、アグリゲータからの要求に応じてオーソリティにコンシューマの許諾を要求する機能、ストレージから自身の提供データを収集し対称鍵で暗号化した暗号化データおよび対称鍵をコンシューマの公開鍵で暗号化した暗号化鍵をストレージにアップロードして保存情報を取得する機能、およびデータ所有証明としてオーソリティから発行され保持しているクレデンシャルをデータソースの秘密鍵およびコンシューマの公開鍵で暗号化した暗号化クレデンシャルおよび保存情報をコンシューマの公開鍵で暗号化した暗号化保存情報をアグリゲータに送る機能を有し、
アグリゲータが、コンシューマからアグリゲーション要求を受けてデータソースにデータを要求する機能、暗号化クレデンシャルをコンシューマの秘密鍵およびデータソースの公開鍵で復号したクレデンシャルを検証してデータソースを認証するとともにクレデンシャルに基づくデータ所有証明およびオーソリティによるコンシューマの許諾を検証する機能、暗号化保存情報をコンシューマの秘密鍵で復号した保存情報に基づいてストレージから暗号化データおよび暗号化鍵をフェッチする機能、および暗号化鍵をコンシューマの秘密鍵で復号した対称鍵で暗号化データを復号し所定の形式に変換したデータをコンシューマに返す機能を有する、
ことを特徴とする分散型データアグリゲーションフレームワーク。

発明の詳細な説明【技術分野】
【0001】
本発明は、データの真正性、完全性、機密性、秘匿性を確保しつつデータを共有する技術に関し、特に、中央管理者の介在なく、データソースが提供したデータをコンシューマが集約する分散型データアグリゲーションに関する。
続きを表示(約 5,600 文字)【背景技術】
【0002】
データアグリゲーションは、複数のデータソースから情報をまとめるために不可欠なプロセスであり、特にデータ駆動型分散システムにおいて重要な役割を担っている。典型的なデータアグリゲーションモデルは、中央のアグリゲータが複数のデータソースからのデータストリームを共通のインターフェースで管理する中央集権型のアーキテクチャを採用している。このような中央集権型モデルは、一般に、次のような一連の信頼性の前提に依存している。
a1:アグリゲータはデータの真正性(authenticity)と完全性(integrity)を保証するデータソースを信頼する。
a2:データソースはコンシューマの要求に対するアクセス制御の正しさを保証するためにアグリゲータを信頼する。
a3:すべてのアグリゲーションプロトコルにおいてデータの機密性(confidentiality)が保持される。
a4:データソースはコンシューマに対する匿名性(anonymity)を保持する。
【0003】
しかし、このような信頼性の前提を満たすデータアグリゲーションモデルのメカニズムを設計・実装することは、特にゼロトラスト・セキュリティ・モデルを構築する場合に困難である。a1に関して、データソースの信頼性を高めるために監査システムを使用して、アグリゲータにデータ生成から取得までのプロセス全体を監督・監査させて、データソースによるデータ操作の可能性を防ぐことができる。しかし、これらの監査システムは、新しいデータソースを追加するための拡張性がない上、実際問題としてプライバシーを侵害するおそれがある。a2は、アグリゲータが提供するアクセス制御メカニズムに依存しており、単一障害点攻撃やサービス拒否(DoS)攻撃など、集中型システムに広く存在する脆弱性や脅威に直面している。a3は、データの暗号化により理論的には成立するものの、鍵の交換や管理に課題があり、データ漏洩の可能性もある。さらに、a4は、信頼の確立が双方向の認証(authenticate)とID証明に依存するため、a1、a2と矛盾する可能性が高い。このように、中央集権型のデータアグリゲーションは、データの真正性、完全性、機密性、匿名性といったセキュリティーおよびプライバシー上の重大な課題に直面している。
【0004】
近年、ブロックチェーンに代表される分散型台帳技術の進歩により、中央管理者を置かない分散型データアグリゲーションが可能になった(例えば、非特許文献1ないし7を参照)。分散型データアグリゲーションでは、中央集権型アーキテクチャのアグリゲータを分散化し、ネットワーク上の任意のノード群によって制御することができる。これらのノードは、PoW(Proof of Work)、PBFT(Practical Byzantine Fault Tolerance)、Raftなどの合意メカニズムを通じてアグリゲータの実行結果に同意する。データソースとコンシューマは、アグリゲータの中央集権型管理とは別に、到達可能なノードを介してデータアグリゲーション処理に参加する。
【先行技術文献】
【非特許文献】
【0005】
Y. Ding and H. Sato, “Dagbase: A Decentralized Database Platform Using DAG-Based Consensus,” in 2020 IEEE 44th Annual Computers, Software, and Applications Conference (COMPSAC). Madrid, Spain: IEEE, 2020, pp. 798-807.
Y. Hu, S. Kumar, and R. A. Popa, “Ghostor: Toward a Secure {Data-Sharing} System from Decentralized Trust,” in 17th USENIX Symposium on Networked Systems Design and Implementation (NSDI 20), 2020, pp. 851-877.
Y. Ding and H. Sato, “Derepo: A Distributed Privacy-Preserving Data Repository with Decentralized Access Control for Smart Health,” in 2020 7th IEEE International Conference on Cyber Security and Cloud Computing (CSCloud)/2020 6th IEEE International Conference on Edge Computing and Scalable Cloud (EdgeCom). IEEE, 2020, pp. 29-35.
V.-H. Hoang, E. Lehtihet, and Y. Ghamri-Doudane, “Privacy-preserving blockchain-based data sharing platform for decentralized storage systems,” in 2020 IFIP Networking conference (networking). IEEE, 2020, pp. 280-288.
Y. Ding and H. Sato, “Sunspot: A Decentralized Framework Enabling Privacy for Authorizable Data Sharing on Transparent Public Blockchains,” in International Conference on Algorithms and Architectures for Parallel Processing. Springer, 2021, pp. 693-709.
Y. Ding and H. Sato, “Self-Sovereign Identity as a Service: Architecture in Practice,” in 2022 IEEE 46th Annual Computers, Software, and Applications Conference (COMPSAC). 2022, pp. 1536-1543.
Y. Ding and H. Sato, “Bloccess: Enabling Fine-Grained Access Control Based on Blockchain,” Journal of Network and Systems Management, vol. 31, no. 1, pp. 1-34, 2023.
【発明の概要】
【発明が解決しようとする課題】
【0006】
しかし、ブロックチェーンベースのシステムは、特にID管理に関する問題に依然として直面している。パーミッションレス・ブロックチェーンは、許可なくノードやユーザーとして分散型ネットワークに参加することができるが、データソースやコンシューマを認証および許諾する効果的なID管理メカニズムがなく、a1やa2に抵触するおそれがある。一方、パーミッションド・ブロックチェーンは、アクセス制御によって参加を制限するが、そのID管理メカニズムはスケーラビリティの問題に直面しており、潜在的にa4に違反するおそれがある。このように、現状の分散型データアグリゲーションシステムには適切なID管理メカニズムがないため、これらのシステムはなりすまし攻撃、データソースの操作、共謀に対して脆弱である。
【0007】
近年、物理エンティティが自分のID情報を管理できるようにする新しいIDモデルである自己主権型アイデンティティ(SSI: Self-Sovereign Identity)の登場により、分散型ID管理メカニズムが実現可能になった。SSIによると、中央集権的メカニズムなしで部分的匿名および完全な仮名で認証および許諾の検証ができる。物理エンティティは、検証可能データレジストリ(VDR: Verifiable Data Registry)を介して分散型識別子(DID: Decentralized Identifiers)を登録し、オーソリティが発行し承認(endorse)した検証可能クレデンシャル(VC: Verifiable Credential)をそのDIDに関連付ける。このように、物理エンティティは、対応する検証可能クレデンシャルを提示することで、第三者に自分のクレデンシャルを証明することができる。第三者は、ミドルウェアに依存することなく、提示されたクレデンシャルの真正性と承認を検証できる。
【0008】
そこで、本発明は、分散型データアグリゲーションにSSI統合して潜在的な認証と許諾の問題に対処するインテリジェントフレームワークを提供することを目的とする。
【課題を解決するための手段】
【0009】
本発明の一局面に従うと、コンシューマがアグリゲータを通じて、データソースから提供されストレージに保存されたデータを集約する分散型データアグリゲーション方法であって、アグリゲータが、コンシューマからアグリゲーション要求を受けてデータソースにデータを要求する第1のステップと、データソースが、アグリゲータからの要求に応じてオーソリティにコンシューマの許諾を要求する第2のステップと、オーソリティが、データソースからの要求に応じてコンシューマをオースライズする第3のステップと、データソースが、ストレージから自身の提供データを収集し対称鍵で暗号化した暗号化データおよび対称鍵をコンシューマの公開鍵で暗号化した暗号化鍵をストレージにアップロードして保存情報を取得する第4のステップと、データソースが、データ所有証明としてオーソリティから発行され保持しているクレデンシャルをデータソースの秘密鍵およびコンシューマの公開鍵で暗号化した暗号化クレデンシャルおよび保存情報をコンシューマの公開鍵で暗号化した暗号化保存情報をアグリゲータに送る第5のステップと、アグリゲータが、暗号化クレデンシャルをコンシューマの秘密鍵およびデータソースの公開鍵で復号したクレデンシャルを検証してデータソースを認証するとともにクレデンシャルに基づくデータ所有証明およびオーソリティによるコンシューマの許諾を検証する第6のステップと、アグリゲータが、暗号化保存情報をコンシューマの秘密鍵で復号した保存情報に基づいてストレージから暗号化データおよび暗号化鍵をフェッチする第7のステップと、アグリゲータが、暗号化鍵をコンシューマの秘密鍵で復号した対称鍵で暗号化データを復号し所定の形式に変換したデータをコンシューマに返す第8のステップと、を備えた分散型データアグリゲーション方法が提供される。
【0010】
本発明の別の局面に従うと、コンシューマがアグリゲータを通じて、データソースから提供されストレージに保存されたデータを集約する分散型データアグリゲーションフレームワークであって、データソースからの要求に応じて提供されたデータを承認し対称鍵で暗号化した暗号化データをストレージにアップロードして保存情報を取得するとともにデータ所有証明としてクレデンシャルを発行する機能、およびデータソースからの要求に応じてコンシューマをオースライズする機能を有するオーソリティを備え、データソースが、オーソリティに自身のIDを提示して提供したデータの承認を要求する機能、オーソリティから保存情報およびクレデンシャルを取得して保持する機能、アグリゲータからの要求に応じてオーソリティにコンシューマの許諾を要求する機能、ストレージから自身の提供データを収集し対称鍵で暗号化した暗号化データおよび対称鍵をコンシューマの公開鍵で暗号化した暗号化鍵をストレージにアップロードして保存情報を取得する機能、およびデータ所有証明としてオーソリティから発行され保持しているクレデンシャルをデータソースの秘密鍵およびコンシューマの公開鍵で暗号化した暗号化クレデンシャルおよび保存情報をコンシューマの公開鍵で暗号化した暗号化保存情報をアグリゲータに送る機能を有し、アグリゲータが、コンシューマからアグリゲーション要求を受けてデータソースにデータを要求する機能、暗号化クレデンシャルをコンシューマの秘密鍵およびデータソースの公開鍵で復号したクレデンシャルを検証してデータソースを認証するとともにクレデンシャルに基づくデータ所有証明およびオーソリティによるコンシューマの許諾を検証する機能、暗号化保存情報をコンシューマの秘密鍵で復号した保存情報に基づいてストレージから暗号化データおよび暗号化鍵をフェッチする機能、および暗号化鍵をコンシューマの秘密鍵で復号した対称鍵で暗号化データを復号し所定の形式に変換したデータをコンシューマに返す機能を有する、分散型データアグリゲーションフレームワークが提供される。
【発明の効果】
(【0011】以降は省略されています)

この特許をJ-PlatPat(特許庁公式サイト)で参照する

関連特許

個人
店内配信予約システム
2か月前
サクサ株式会社
中継装置
2か月前
WHISMR合同会社
収音装置
21日前
キヤノン株式会社
撮像装置
1か月前
キヤノン株式会社
電子機器
2か月前
アイホン株式会社
電気機器
15日前
日本精機株式会社
画像投映システム
2か月前
キヤノン電子株式会社
モバイル装置
2か月前
キヤノン電子株式会社
画像読取装置
22日前
株式会社リコー
画像形成装置
1か月前
株式会社リコー
画像形成装置
1か月前
株式会社リコー
画像形成装置
1か月前
個人
ワイヤレスイヤホン対応耳掛け
13日前
株式会社ニコン
撮像装置
2か月前
キヤノン株式会社
撮像システム
15日前
ブラザー工業株式会社
読取装置
1か月前
パテントフレア株式会社
超高速電波通信
29日前
株式会社小糸製作所
画像照射装置
1か月前
DXO株式会社
情報処理システム
2か月前
株式会社松平商会
携帯機器カバー
24日前
沖電気工業株式会社
画像形成装置
3日前
パテントフレア株式会社
水中電波通信法
1か月前
キヤノン電子株式会社
シート材搬送装置
1か月前
大日本印刷株式会社
写真撮影装置
14日前
国立大学法人電気通信大学
小型光学装置
1か月前
株式会社オーディオテクニカ
受光器
2か月前
日本無線株式会社
無線通信システム
1か月前
株式会社JVCケンウッド
スピーカ
22日前
テックス通信株式会社
電話システム
2か月前
日本無線株式会社
無線通信システム
1か月前
株式会社国際電気
遠隔監視システム
1か月前
日本無線株式会社
無線通信システム
7日前
株式会社リコー
画像形成装置
1か月前
株式会社大林組
監視システム
1か月前
日本無線株式会社
無線通信システム
24日前
日本無線株式会社
無線通信システム
1か月前
続きを見る