TOP
|
特許
|
意匠
|
商標
特許ウォッチ
Twitter
他の特許を見る
10個以上の画像は省略されています。
公開番号
2025068460
公報種別
公開特許公報(A)
公開日
2025-04-28
出願番号
2023178400
出願日
2023-10-16
発明の名称
廃棄物処理システム
出願人
川崎重工業株式会社
代理人
個人
,
個人
主分類
B07C
5/342 20060101AFI20250421BHJP(固体相互の分離;仕分け)
要約
【課題】廃棄物の仕分け残しの量が多くなるのを抑制することが可能な廃棄物処理システムを提供する。
【解決手段】この廃棄物処理システム100は、廃棄物を周回させて搬送する周回部11を含み、複数種類の廃棄物を搬送する周回式搬送部10と、周回式搬送部10の周回部11により搬送される廃棄物を撮像する撮像部40と、撮像部40により撮像した廃棄物の画像に基づいて、周回式搬送部10の周回部11により搬送される廃棄物を仕分けするロボット20と、周回式搬送部10上を幅方向の水平方向に移動して、周回式搬送部10上の残渣を除去するブラシ61を含む残渣除去部60と、を備える。
【選択図】図5
特許請求の範囲
【請求項1】
廃棄物を周回させて搬送する周回部を含み、複数種類の廃棄物を搬送する周回式搬送部と、
前記周回式搬送部の前記周回部により搬送される廃棄物を撮像する撮像部と、
前記撮像部により撮像した廃棄物の画像に基づいて、前記周回式搬送部の前記周回部により搬送される廃棄物を仕分けするロボットと、
前記周回式搬送部上を幅方向の水平方向に移動して、前記周回式搬送部上の残渣を除去する除去部材を含む残渣除去部と、を備える、廃棄物処理システム。
続きを表示(約 1,100 文字)
【請求項2】
前記除去部材は、水平方向の回転軸線を中心に回転可能なブラシを含み、前記ブラシの下方部分が前記ブラシの移動方向と同じ方向に回転して前記周回式搬送部上の残渣を除去する、請求項1に記載の廃棄物処理システム。
【請求項3】
前記ブラシは、前記周回式搬送部上を水平方向に往復移動しながら、前記周回式搬送部上の残渣を、前記周回式搬送部の幅方向の一方側および他方側に落として除去する、請求項2に記載の廃棄物処理システム。
【請求項4】
前記ブラシは、前記周回式搬送部上を一方方向に移動する場合に、前記ブラシの下方部分が一方方向に移動するように正回転し、前記周回式搬送部上を他方方向に移動する場合に、前記ブラシの下方部分が他方方向に移動するように逆回転する、請求項3に記載の廃棄物処理システム。
【請求項5】
前記周回式搬送部は、前記周回式搬送部の幅方向の両方の外側に配置されたコンベアスカートと、幅方向両側の前記コンベアスカートのうちの少なくとも片側の前記コンベアスカートの一部を水平方向にスライド移動させるスカート移動部と、を含み、
前記残渣除去部は、前記周回式搬送部上の残渣を、前記コンベアスカートが水平方向にスライド移動して生じる隙間に落として除去する、請求項1に記載の廃棄物処理システム。
【請求項6】
前記スカート移動部は、幅方向の一方側および他方側の両方の外側の前記コンベアスカートの一部を水平方向にスライド移動させ、
前記残渣除去部は、前記周回式搬送部上の残渣を、幅方向両側の前記コンベアスカートが水平方向にスライド移動して生じる幅方向両側の隙間に落として除去する、請求項5に記載の廃棄物処理システム。
【請求項7】
前記残渣除去部は、前記除去部材を、前記周回式搬送部に当接する残渣除去位置と、前記コンベアスカートの上方に退避する退避位置とに移動させる昇降部を含む、請求項5に記載の廃棄物処理システム。
【請求項8】
前記残渣除去部は、搬送方向に駆動した搬送状態の前記周回式搬送部上を、幅方向に前記除去部材を移動させて、前記周回式搬送部上の残渣を除去する、請求項1に記載の廃棄物処理システム。
【請求項9】
前記残渣除去部は、前記周回式搬送部の搬送方向が直線状の部分に、前記周回式搬送部を跨ぐように配置されている、請求項1に記載の廃棄物処理システム。
【請求項10】
廃棄物は、複数の色のビンを含み、
前記ロボットは、廃棄物としてのビンを色に応じて仕分ける、請求項1に記載の廃棄物処理システム。
発明の詳細な説明
【技術分野】
【0001】
廃棄物処理システムに関し、特に、廃棄物の仕分けを行うロボットを備える廃棄物処理システムに関する。
続きを表示(約 1,700 文字)
【背景技術】
【0002】
従来、廃棄物の仕分けを行うロボットを備える廃棄物処理システムが知られている(たとえば、特許文献1参照)。
【0003】
上記特許文献1には、複数種類の廃棄物を搬送する搬送手段と、搬送手段により搬送される廃棄物の仕分けを行うロボットとを備える廃棄物選別システム(廃棄物処理システム)が開示されている。この特許文献1の廃棄物選別システムでは、搬送手段上の仕分けられなかった廃棄物は、搬送手段の終端部において搬送手段から排出される。
【先行技術文献】
【特許文献】
【0004】
特許第5969685号公報
【発明の概要】
【発明が解決しようとする課題】
【0005】
しかしながら、上記特許文献1の廃棄物選別システム(廃棄物処理システム)では、搬送手段上の仕分けられなかった廃棄物は、搬送手段の終端部において搬送手段から排出されるため、廃棄物の仕分け残しの量が多くなる場合があるという問題点がある。
【0006】
上記のような課題を解決するためになされたものであり、1つの目的は、廃棄物の仕分け残しの量が多くなるのを抑制することが可能な廃棄物処理システムを提供することである。
【課題を解決するための手段】
【0007】
上記目的を達成するために、一の局面による廃棄物処理システムは、廃棄物を周回させて搬送する周回部を含み、複数種類の廃棄物を搬送する周回式搬送部と、周回式搬送部の周回部により搬送される廃棄物を撮像する撮像部と、撮像部により撮像した廃棄物の画像に基づいて、周回式搬送部の周回部により搬送される廃棄物を仕分けするロボットと、周回式搬送部上を幅方向の水平方向に移動して、周回式搬送部上の残渣を除去する除去部材を含む残渣除去部と、を備える。
【0008】
一の局面による廃棄物処理システムでは、上記のように構成することにより、周回部において廃棄物が周回されるので、周回式搬送部の周回部により搬送される廃棄物をロボットが取り逃したとしても、周回部により次に同じ位置に周回された際に廃棄物を再び仕分けることができる。これにより、廃棄物の仕分け残しの量が多くなるのを抑制することができる。また、周回式搬送部上を幅方向の水平方向に移動して、周回式搬送部上の残渣を除去する除去部材を含む残渣除去部を設ける。これにより、廃棄物を周回させる構成において、廃棄物の残渣が周回部を周回し続けるのを抑制することができるので、撮像部による撮像の際に多くの残渣が映り込むことに起因して、廃棄物を検出しずらくなるのを抑制することができる。
【発明の効果】
【0009】
上記のように、廃棄物の仕分け残しの量が多くなるのを抑制することができる。
【図面の簡単な説明】
【0010】
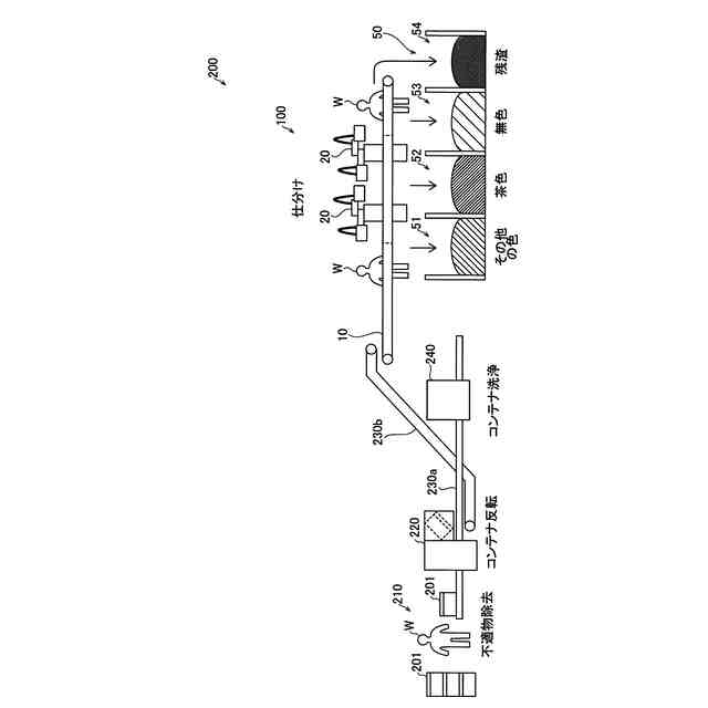
一実施形態による廃棄物処理システムが設けられた廃棄物処理施設の全体構成を示した図である。
一実施形態による廃棄物処理システムの概略を示した平面図である。
一実施形態による廃棄物処理システムの制御的な構成を示したブロック図である。
一実施形態による廃棄物処理システムのロボットを示した側面図である。
一実施形態による廃棄物処理システムの残渣除去部を示した斜視図である。
一実施形態による廃棄物処理システムの残渣除去部の残渣除去の動作を説明するための図である。
一実施形態による廃棄物処理システムの残渣除去部の周回式搬送部における移動を説明するための図である。
一実施形態による廃棄物処理システムの残渣除去部のブラシを示した正面図である。
一実施形態による廃棄物処理システムの残渣除去部のブラシを示した側面図である。
一実施形態の第1変形例による残渣除去部の除去部材を示した斜視図である。
一実施形態の第2変形例による残渣除去部の除去部材を示した斜視図である。
【発明を実施するための形態】
(【0011】以降は省略されています)
この特許をJ-PlatPat(特許庁公式サイト)で参照する
関連特許
個人
穀物選別機
5か月前
日東精工株式会社
検査装置
4か月前
日清製粉株式会社
篩
3か月前
個人
ゴミ分別システム
1か月前
株式会社タケエイ
振動篩装置
3か月前
株式会社レクザム
基板アンローダ
3か月前
株式会社クボタ
豆類選別機
5日前
株式会社クボタ
豆類選別機
5日前
株式会社クボタ
豆類選別機
5日前
シブヤ精機株式会社
農産物選別装置
5か月前
川崎重工業株式会社
廃棄物処理システム
2日前
シブヤ精機株式会社
農産物選別システム
5か月前
シブヤ精機株式会社
農産物の集出荷装置
9日前
川崎重工業株式会社
廃棄物処理システム
4か月前
川崎重工業株式会社
廃棄物処理システム
5か月前
川崎重工業株式会社
廃棄物処理システム
5か月前
コネクテッドロボティクス株式会社
処理方法
2か月前
セキ工業株式会社
部品分別装置
5か月前
キヤノン株式会社
分別装置及び分別方法
2か月前
アンリツ株式会社
物品検査装置
4か月前
アンリツ株式会社
物品検査装置
4か月前
キヤノン株式会社
分別装置及び分別方法
4か月前
新東工業株式会社
分級装置及び粉塵固化システム
6か月前
東芝ライテック株式会社
搬送システム
4か月前
株式会社栗本鐵工所
ローラスクリーン
5日前
株式会社栗本鐵工所
ローラスクリーン
5か月前
株式会社クボタ
豆類選別機
5日前
株式会社クボタ
豆類選別機
5日前
株式会社シンセイ
砂乾燥選別装置
3か月前
株式会社クボタ
豆類選別機
5日前
株式会社サタケ
測定装置および選別装置
9日前
日本協同企画株式会社
果菜引継ぎ搬送装置及び果菜箱詰め装置
2か月前
株式会社山本工作所
空気分散部材及び乾式分離装置
1か月前
株式会社 東京ウエルズ
ワーク分類装置、ワーク分類方法
1か月前
アンリツ株式会社
選別装置および物品検査装置
4か月前
アンリツ株式会社
選別装置および物品検査装置
2か月前
続きを見る
他の特許を見る