TOP
|
特許
|
意匠
|
商標
特許ウォッチ
Twitter
他の特許を見る
10個以上の画像は省略されています。
公開番号
2025070006
公報種別
公開特許公報(A)
公開日
2025-05-02
出願番号
2023180006
出願日
2023-10-19
発明の名称
音処理方法、音処理装置およびプログラム
出願人
ヤマハ株式会社
代理人
弁理士法人 楓国際特許事務所
主分類
H04R
3/04 20060101AFI20250424BHJP(電気通信技術)
要約
【課題】目的に応じて音の通過特性を任意に設定することができる音処理方法を提供する。
【解決手段】音処理方法は、仮想空間に配置された仮想的な壁の位置情報を取得し、前記仮想的な壁の音の通過特性であって、第1の方向に沿って前記仮想的な壁を通過する場合の音の第1通過特性と、第1の方向と逆方向の第2の方向に沿って前記仮想的な壁を通過する場合の音の第2通過特性と、を含む情報を取得し、音源位置および聴取位置の情報を取得し、前記音源位置と、前記聴取位置と、前記壁の位置情報と、に基づいて前記第1通過特性または前記第2通過特性のいずれかを決定し、決定した前記通過特性に基づいて前記音源の音信号に対して音処理を施す。
【選択図】図3
特許請求の範囲
【請求項1】
仮想空間に配置された仮想的な壁の位置情報を取得し、
前記仮想的な壁の音の通過特性であって、第1の方向に沿って前記仮想的な壁を通過する場合の音の第1通過特性と、第1の方向と逆方向の第2の方向に沿って前記仮想的な壁を通過する場合の音の第2通過特性と、を含む情報を取得し、
音源位置および聴取位置の情報を取得し、
前記音源位置と、前記聴取位置と、前記壁の位置情報と、に基づいて前記第1通過特性または前記第2通過特性のいずれかを決定し、
決定した前記通過特性に基づいて前記音源の音信号に対して音処理を施す、
音処理方法。
続きを表示(約 1,000 文字)
【請求項2】
前記第1通過特性および前記第2通過特性が異なる、
請求項1に記載の音処理方法。
【請求項3】
前記通過特性は、完全遮音の第1特性、完全通過の第2特性、および前記完全遮音、前記完全通過以外の第3特性を含み、
決定した前記通過特性が第1特性の場合に、前記音源の音信号に対してミュート処理を施し、
決定した前記通過特性が第2特性の場合に、前記音源の音信号を通過させ、
決定した前記通過特性が第3特性の場合に、前記音源の音信号に対してフィルタ処理を施す、
請求項1または請求項2に記載の音処理方法。
【請求項4】
前記フィルタ処理は、相対的に強度の異なる第1フィルタ処理および第2フィルタ処理を含む、
請求項3に記載の音処理方法。
【請求項5】
前記音源位置および前記聴取位置に基づいて、前記音源の音信号に音像定位処理を施す、
請求項1または請求項2に記載の音処理方法。
【請求項6】
前記第1通過特性は、前記仮想的な壁で隔てられた第1領域から、前記第1領域と異なる第2領域に通過する音の通過特性に対応し、
前記第2通過特性は、前記第2領域から前記第1領域に通過する音の通過特性に対応する、
請求項1または請求項2に記載の音処理方法。
【請求項7】
前記音源は、設備として固定されたスピーカに対応する音源を含み、
前記スピーカに対応する音源の音信号に対して前記スピーカの音響特性に対する処理を施し、前記スピーカ以外の音源とは異なるレベル低減処理を施す、
請求項1または請求項2に記載の音処理方法。
【請求項8】
前記音源は、環境音を含む、
請求項1または請求項2に記載の音処理方法。
【請求項9】
決定した前記通過特性に基づいて前記音源の直接音に係る音信号に対して第1音処理を施し、
決定した前記通過特性に基づいて前記音源の間接音に係る音信号に対して第2音処理を施す、
請求項1または請求項2に記載の音処理方法。
【請求項10】
前記音源毎に定められた通過特性を示す音源情報を取得し、
前記音源情報に基づく通過特性で、前記音源の音信号に対して音処理を施す、
請求項1または請求項2に記載の音処理方法。
(【請求項11】以降は省略されています)
発明の詳細な説明
【技術分野】
【0001】
この発明の一実施形態は、音処理方法、音処理装置およびプログラムに関する。
続きを表示(約 1,200 文字)
【背景技術】
【0002】
特許文献1には、外部からの音を遮断及び外部への放音を防ぐ仮想遮音壁形成ユニットが開示されている。
【0003】
特許文献2には、防音室の内側にスピーカ、外側にマイクを設置し、防音室内において、防音室内の騒音を外部に出すことなく、外部の音を聞くことが出来るようにした外部情報探知装置が開示されている。
【0004】
特許文献3には、壁によって囲まれた空間を複数の部屋に分割した分割情報を検出する検出手段と、入力された音声信号を前記空間内に拡声する拡声手段と、を備え、前記分割情報に基づき、前記分割された部屋毎に異なる音声信号を拡声するようにしたことを特徴とする拡声エリアの設定装置が開示されている。
【先行技術文献】
【特許文献】
【0005】
特開2010-107884
実用新案登録第3089220号公報
特開2001-128298
【発明の概要】
【発明が解決しようとする課題】
【0006】
特許文献1乃至3の発明は、いずれも、ある領域から外に出る音と、ある領域の外から中に入ってくる音の通過特性を任意に設定するものではない。
【0007】
本実施形態の一つは、目的に応じて音の通過特性を任意に設定することができる音処理方法を提供することを目的とする。
【課題を解決するための手段】
【0008】
本発明の一実施形態に係る音処理方法は、仮想空間に配置された仮想的な壁の位置情報を取得し、前記仮想的な壁の音の通過特性であって、第1の方向に沿って前記仮想的な壁を通過する場合の音の第1通過特性と、第1の方向と逆方向の第2の方向に沿って前記仮想的な壁を通過する場合の音の第2通過特性と、を含む情報を取得し、音源位置および聴取位置の情報を取得し、前記音源位置と、前記聴取位置と、前記壁の位置情報と、に基づいて前記第1通過特性または前記第2通過特性のいずれかを決定し、決定した前記通過特性に基づいて前記音源の音信号に対して音処理を施す。
【発明の効果】
【0009】
本発明の一実施形態によれば、目的に応じて音の通過特性を任意に設定することができる。
【図面の簡単な説明】
【0010】
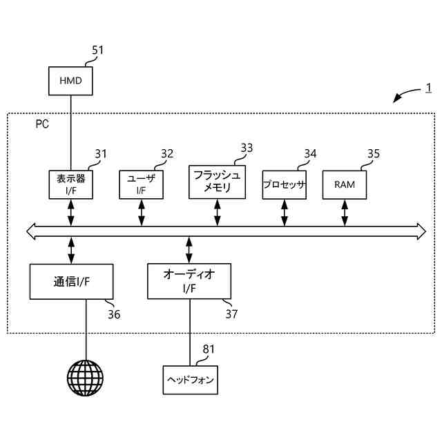
PC1の構成を示すブロック図である。
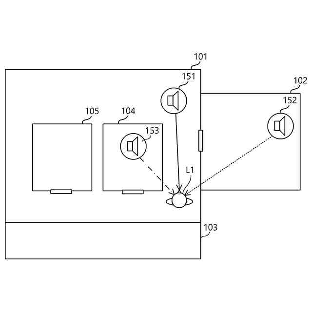
仮想空間の構成を示す平面図である。
プロセッサ34の動作を示すフローチャートである。
仮想壁の通過特性の一覧図である。
第1通過特性および第2通過特性の関係の一覧図である。
変形例3における仮想空間の構成を示す平面図である。
変形例5における仮想空間の構成を示す平面図である。
変形例6における仮想空間の構成を示す平面図である。
変形例8における仮想空間の構成を示す平面図である。
【発明を実施するための形態】
(【0011】以降は省略されています)
この特許をJ-PlatPat(特許庁公式サイト)で参照する
関連特許
ヤマハ株式会社
リード
2か月前
ヤマハ株式会社
鍵盤装置
2か月前
ヤマハ株式会社
イヤーピース
1か月前
ヤマハ株式会社
発音制御装置
3か月前
ヤマハ株式会社
信号処理装置
3か月前
ヤマハ株式会社
ドライバユニット
5日前
ヤマハ株式会社
弦楽器用の支持装置
2か月前
ヤマハ株式会社
音処理方法および音処理装置
12日前
ヤマハ株式会社
音処理方法および音処理装置
26日前
ヤマハ株式会社
音処理装置および音処理方法
18日前
ヤマハ株式会社
音処理システム及び音処理方法
4日前
ヤマハ株式会社
信号処理方法および信号処理装置
3か月前
ヤマハ株式会社
音声処理方法および音声処理装置
4日前
ヤマハ株式会社
収音制御方法および収音制御装置
4日前
ヤマハ株式会社
信号処理設計方法およびプロセッサ
3か月前
ヤマハ株式会社
データ処理方法およびデータ処理装置
1か月前
ヤマハ株式会社
連打判定装置および方法、プログラム
2か月前
ヤマハ株式会社
駆動装置、音響装置および車両用ドア
8日前
ヤマハ株式会社
音信号処理方法および音信号処理装置
4日前
ヤマハ株式会社
解錠管理方法および解錠管理システム
4日前
ヤマハ株式会社
信号処理の方法、プログラムおよび装置
5日前
ヤマハ株式会社
画像処理方法、画像処理装置及びプログラム
6日前
ヤマハ株式会社
スピーカ装置、音信号処理方法及びプログラム
4日前
ヤマハ株式会社
情報処理システム、情報処理方法およびプログラム
2か月前
ヤマハ株式会社
情報処理システム、情報処理方法およびプログラム
2か月前
ヤマハ株式会社
情報処理システム、情報処理方法およびプログラム
2か月前
ヤマハ株式会社
情報処理システム、動画編集方法およびプログラム
2か月前
ヤマハ株式会社
情報処理システム、情報処理方法およびプログラム
2か月前
ヤマハ株式会社
音響処理方法、音響処理システムおよびプログラム
3か月前
ヤマハ株式会社
情報処理方法、情報処理システムおよびプログラム
4日前
ヤマハ株式会社
情報処理方法、情報処理システムおよびプログラム
18日前
ヤマハ株式会社
情報処理方法、情報処理システム、およびプログラム
2か月前
ヤマハ株式会社
パネル
1か月前
ヤマハ株式会社
音響測定装置、音響測定方法および音響測定プログラム
3か月前
ヤマハ株式会社
定位提供方法、定位提供システムおよび定位提供プログラム
1か月前
ヤマハ株式会社
演奏操作装置
2か月前
続きを見る
他の特許を見る