TOP
|
特許
|
意匠
|
商標
特許ウォッチ
Twitter
他の特許を見る
公開番号
2025075699
公報種別
公開特許公報(A)
公開日
2025-05-15
出願番号
2023187054
出願日
2023-10-31
発明の名称
電極および水電解装置
出願人
ノリタケ株式会社
代理人
個人
,
個人
主分類
C25B
11/091 20210101AFI20250508BHJP(電気分解または電気泳動方法;そのための装置)
要約
【課題】優れた電極性能を発揮できる水電解装置用の電極を提供する。
【解決手段】
ここに開示される電極1は、導電性基材10と、少なくともNi-Fe酸化物と金属Niとを含む触媒層20とを備えている。この触媒層20は、導電性基材10の上に形成された第1層21と、第1層21の上に形成され、Fe元素の含有量が第1層よりも多い第2層22とを備えている。そして、導電性基材10から触媒層20の表面20aに向かう元素分析において、第1層21におけるFe率の増加割合が0.17%/nm以上であり、第2層22におけるFe率の増加割合が0.17%/nm未満である。そして、第1層21の厚みT
1
に対する第2層22の厚みT
2
の割合が0.9以下である。かかる構成の電極1は、水電解装置用の電極として優れた性能を発揮できる。
【選択図】図2
特許請求の範囲
【請求項1】
導電性基材と、
前記導電性基材の表面に形成され、少なくともNi-Fe酸化物と金属Niとを含む触媒層と
を備え、
前記触媒層は、
前記導電性基材の上に形成されており、Ni元素の含有量よりもFe元素の含有量の方が少ない高Ni領域を含む第1層と、
前記第1層の上に形成され、Fe元素の含有量が前記第1層よりも多い第2層と
を備えており、
前記導電性基材から前記触媒層の表面に向かうTEM-EDXラインスキャンにおけるNi元素とFe元素の総カウント数に対する前記Fe元素のカウント数の比率をFe率(%)としたとき、
前記第1層は、前記TEM-EDXラインスキャンに沿った前記Fe率の増加割合が0.17%/nm以上であり、
前記第2層は、前記TEM-EDXラインスキャンに沿った前記Fe率の増加割合が0.17%/nm未満であり、
前記第1層の厚みに対する前記第2層の厚みの割合が0.9以下である、電極。
続きを表示(約 710 文字)
【請求項2】
前記第1層は、前記TEM-EDXラインスキャンに沿った前記Fe率の増加割合が3.17%/nm以上である、請求項1に記載の電極。
【請求項3】
前記第1層における前記Fe率の平均値が5%以上45%以下である、請求項1に記載の電極。
【請求項4】
前記第2層における前記Fe率の平均値が40%以上85%以下である、請求項1に記載の電極。
【請求項5】
前記触媒層の断面の電子顕微鏡観察に基づいた前記第2層の緻密度が50%以下である、請求項1に記載の電極。
【請求項6】
前記触媒層の断面の電子顕微鏡観察に基づいた前記第1層の緻密度が50%以上である、請求項1に記載の電極。
【請求項7】
前記触媒層は、BCC構造の金属Feを実質的に含有しない、請求項1に記載の電極。
【請求項8】
前記触媒層は、NiOを実質的に含有しない、請求項1に記載の電極。
【請求項9】
前記導電性基材は、Ni基材である、請求項1に記載の電極。
【請求項10】
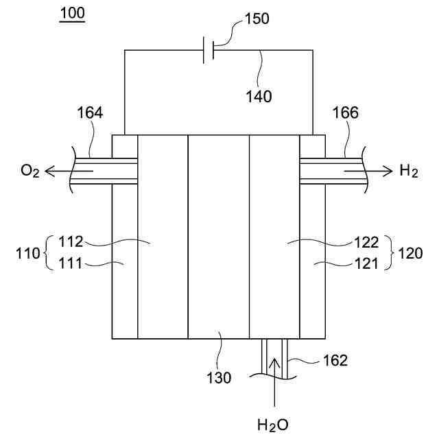
第1基材の表面に第1触媒層を有する酸素発生極と、
第2基材の表面に第2触媒層を有する水素発生極と、
前記酸素発生極と前記水素発生極との間に介在するアニオン交換膜と、
前記第1触媒層の表面近傍に取り付けられた水供給管と、
前記第1基材と前記第2基材とを電気的に接続する導電ラインと
を備えており、
前記酸素発生極が、請求項1~9のいずれか一項に記載の電極であることを特徴とする、水電解装置。
発明の詳細な説明
【技術分野】
【0001】
ここに開示される技術は、電極および水電解装置に関する。
続きを表示(約 2,400 文字)
【背景技術】
【0002】
エネルギー問題や環境問題の観点から、再生可能エネルギーを電力に変換する技術(太陽電池や風力発電など)が種々提案されている。しかし、再生可能エネルギーを電力の状態で貯蔵すると、大規模な蓄電設備が必要になるため、設備コストが高騰する原因になる。そこで、近年では、電力を使用して水系電解液(アルカリ水溶液など)を酸素と水素に分解する水電解装置が提案されている。これによって、再生可能エネルギーを有用ガスに変換できるため、再生可能エネルギーの貯蔵に要する設備コストを低減できる。
【0003】
この種の水電解装置の一例として、AEM型水電解装置が挙げられる。AEM型水電解装置では、アニオン交換膜(Anion Exchange Membrane)を介して、酸素発生極(アノード)と水素発生極(カソード)とが対向している。そして、特許文献1(国際公開第2022/250119号)には、AEM型水電解装置の酸素発生極の一例が開示されている。具体的には、特許文献1に記載の電極(触媒)は、ニッケル基材上に、NiOOHを含む酸化ニッケル層と、NiFeを含む層と、をこの順に有する。上記構成の電極は、ニッケル基材とNiFe層との間に酸化ニッケル層が介在しているため、アルカリ環境下でも、優れた耐久性と触媒活性を発揮できるとされている。なお、特許文献1には、ニッケル基材に対して酸化工程とFe電着工程を実施することによって、上記構成の電極が製造される旨が開示されている。
【先行技術文献】
【特許文献】
【0004】
国際公開第2022/250119号
【発明の概要】
【発明が解決しようとする課題】
【0005】
ところで、実際の産業において水電解装置を使用する場合、低電圧でも有用ガスを十分に生成できるような高性能の電極が要求される。しかし、従来の電極は、十分に高い電極性能を有しているとは言えず、改良の余地が残されていた。ここに開示される技術は、かかる課題を解決するためになされたものである。
【課題を解決するための手段】
【0006】
種々の実験を行った結果、本発明者は、上述した酸化工程とFe電着工程を含む製造方法を実施した際に、顕著に優れた電極性能を有する電極がごく稀に製造されることを発見した。そして、かかる発見に対して検討を重ねた結果、Fe電着工程の電着条件(電圧、処理時間)と、Fe電着用電解液のFe濃度とを調節することによって、より高性能な電極を安定的に製造できることを見出した。そして、この高性能の電極の構造を分析したところ、驚くべきことに、特許文献1に記載の電極とは全く異なる構造を有していることが分かった。ここに開示される電極は、かかる知見に基づいてなされたものである。
【0007】
ここに開示される電極は、導電性基材と、導電性基材の表面に形成され、少なくともNi-Fe酸化物と金属Niとを含む触媒層とを備えている。この触媒層は、導電性基材の上に形成されており、Ni元素の含有量よりもFe元素の含有量の方が少ない高Ni領域を含む第1層と、第1層の上に形成され、Fe元素の含有量が第1層よりも多い第2層とを備えている。第1層は、TEM-EDXラインスキャンに沿ったFe率の増加割合が0.17%/nm以上である。また、第2層は、TEM-EDXラインスキャンに沿った前記Fe率の増加割合が0.17%/nm未満である。そして、ここに開示される電極では、第1層に対する第2層の厚み割合が0.9以下である。なお、ここでの「TEM-EDXラインスキャンに沿ったFe率」とは、導電性基材から触媒層の表面に向かうTEM-EDXラインスキャンにおけるNi元素とFe元素の総カウント数に対するFe元素のカウント数の比率である。
【0008】
上述の通り、本発明者らは、上記構成の電極が顕著に優れた性能を有することを実験で確認している。ここに開示される技術を限定することを意図したものではないが、この電極性能の大幅な改善は、以下のような作用によって生じていると推測される。
【0009】
まず、ここに開示される電極では、導電性基材の上に第1層が形成されている。この第1層は、Ni元素に対してFe元素が少ない高Ni領域を含んでいる。このことから、第1層には、優れた電子伝導性を有する金属Niが多量に存在していると予想される。一方、第1層の上には、第2層が形成されている。この第2層は、第1層よりも多くのFe元素を含んでいる。このことから、この第2層には、優れた触媒活性を有するNi-Fe酸化物が多量に存在していると予想される。このような多層構造の触媒層では、アニオン交換膜を介して対向電極から供給される水酸化イオン(OH
-
)が第2層に接触しやすい。これによって、優れた触媒活性を効率良く発揮できる。また、電子伝導性に優れた第1層が導電性基材と接しているため、導電性基材と触媒層との電子の授受を促進できる。
【0010】
加えて、第1層では、触媒層の表面(上層側)に向かうにつれて、Fe量が増加し、かつ、Ni量が減少するという濃度勾配が生じている。すなわち、第1層は、水酸化イオンが供給されやすい上層に向かうにつれて触媒活性が高くなるという特徴を有している。一方で、この第1層は、導電性基材(下層側)に向かうにつれて、Fe量が減少し、かつ、Ni量が増加している。このため、第1層は、導電性基材との電子の授受が直接行われる下層における電子伝導性が高くなっている。このように、この第1層は、厚み方向における各地点において、触媒活性と電子伝導性とのバランスが好適に変化している。
(【0011】以降は省略されています)
この特許をJ-PlatPat(特許庁公式サイト)で参照する
関連特許
ノリタケ株式会社
焼成炉
10日前
ノリタケ株式会社
焼成炉
10日前
ノリタケ株式会社
焼成炉
10日前
ノリタケ株式会社
加熱炉
4日前
ノリタケ株式会社
冷却炉
4日前
ノリタケ株式会社
洗浄装置
1日前
ノリタケ株式会社
熱処理容器
1日前
ノリタケ株式会社
焼成用治具
2日前
ノリタケ株式会社
熱処理設備
1か月前
ノリタケ株式会社
金ペースト
12日前
ノリタケ株式会社
担体構造体
2日前
ノリタケ株式会社
焼成用治具
2日前
ノリタケ株式会社
焼成用治具
2日前
ノリタケ株式会社
熱処理設備
1か月前
ノリタケ株式会社
研磨パッド
1日前
ノリタケ株式会社
棒材切断機
1日前
ノリタケ株式会社
熱伝導シート
1日前
ノリタケ株式会社
導電性ペースト
1日前
ノリタケ株式会社
超砥粒ホイール
1日前
ノリタケ株式会社
ガス吸収シート
23日前
ノリタケ株式会社
ローラ式搬送装置
4日前
ノリタケ株式会社
ローラ式搬送装置
4日前
ノリタケ株式会社
砥材及びその製造方法
8日前
ノリタケ株式会社
砥材及びその製造方法
2日前
ノリタケ株式会社
静電容量タッチパネル
2日前
ノリタケ株式会社
静電容量タッチパネル
2日前
ノリタケ株式会社
封止用グリーンシート
1日前
ノリタケ株式会社
電気化学セル用ペースト
3日前
ノリタケ株式会社
触媒材料およびその利用
2日前
ノリタケ株式会社
触媒材料およびその利用
2日前
ノリタケ株式会社
触媒材料およびその利用
2日前
ノリタケ株式会社
ガラス接合材及びその利用
1日前
ノリタケ株式会社
焼成用治具およびフレーム
2日前
ノリタケ株式会社
研磨パッド粗材の加工装置
1日前
ノリタケ株式会社
搬送装置および熱処理装置
8日前
ノリタケ株式会社
搬送装置および熱処理装置
8日前
続きを見る
他の特許を見る