TOP
|
特許
|
意匠
|
商標
特許ウォッチ
Twitter
他の特許を見る
公開番号
2025112167
公報種別
公開特許公報(A)
公開日
2025-07-31
出願番号
2024006307
出願日
2024-01-18
発明の名称
電極転写方法及び電極の位置決め治具
出願人
本田技研工業株式会社
代理人
個人
,
個人
主分類
C25B
9/23 20210101AFI20250724BHJP(電気分解または電気泳動方法;そのための装置)
要約
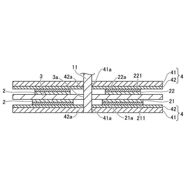
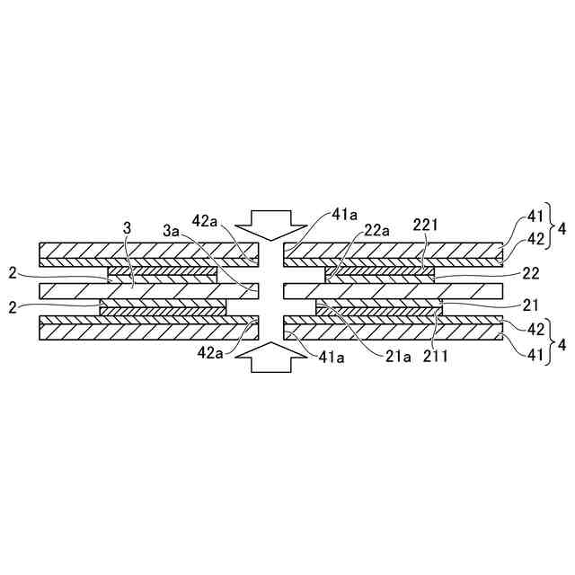
【課題】電極の位置決めが容易な電極転写方法を提供すること。
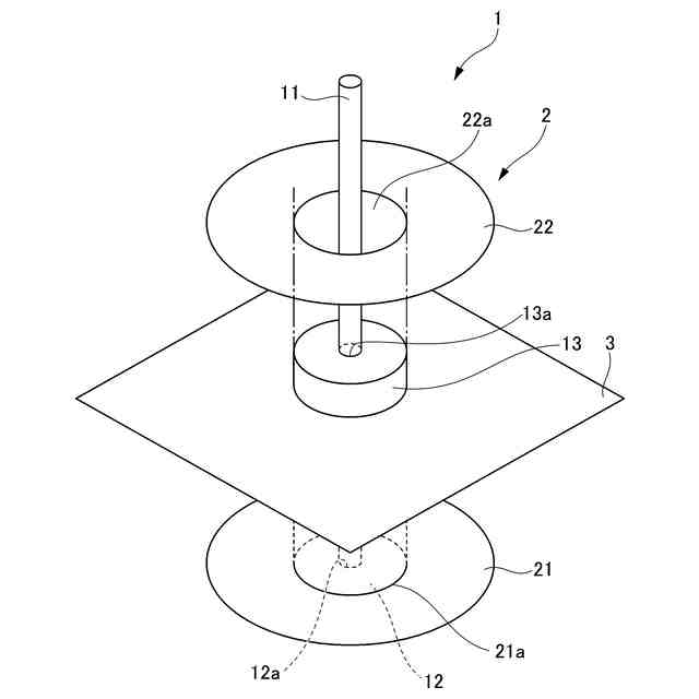
【解決手段】円環状の電極2を固体高分子電解質膜3に転写する電極転写方法は、副資材4に軸部材11を設置する第1副資材設置工程S1と、アノード電極用位置決め治具12に軸部材11を挿通させるアノード電極用位置決め治具設置工程S2と、アノード電極21を設置するアノード電極設置工程S3と、アノード電極用位置決め治具12を取り外し固体高分子電解質膜3を設置する固体高分子電解質膜設置工程S4と、軸部材11をカソード電極用位置決め治具13に挿通させるカソード電極用位置決め治具設置工程S5と、カソード電極22を設置するカソード電極設置工程S6と、カソード電極用位置決め治具13を取り外し副資材4に軸部材11を設置する第2副資材設置工程S7と、軸部材11を抜き取る軸部材除去工程S8と、副資材4の外側から電極2を加熱加圧するホットプレス工程S9とを備える。
【選択図】図1
特許請求の範囲
【請求項1】
中心に貫通孔の形成された円環状のアノード電極及びカソード電極で構成される電極を固体高分子電解質膜に転写する電極転写方法であって、
副資材に軸部材を挿通させて前記副資材を設置する第1副資材設置工程と、
アノード電極用位置決め治具に前記軸部材を挿通させるアノード電極用位置決め治具設置工程と、
前記アノード電極用位置決め治具を中心として前記アノード電極を設置するアノード電極設置工程と、
前記アノード電極用位置決め治具を取り外し、前記アノード電極の上に、前記軸部材を中心として前記固体高分子電解質膜を設置する固体高分子電解質膜設置工程と、
前記固体高分子電解質膜の上で、前記軸部材を、カソード電極用位置決め治具に挿通させるカソード電極用位置決め治具設置工程と、
前記カソード電極用位置決め治具を中心として前記カソード電極を設置するカソード電極設置工程と、
前記カソード電極用位置決め治具を取り外し、前記カソード電極の上に、前記副資材に前記軸部材を挿通させて前記副資材を設置する第2副資材設置工程と、
前記軸部材を抜き取る軸部材除去工程と、
前記軸部材除去工程の後、前記副資材の外側から前記電極を挟んで加熱及び加圧するホットプレス工程と、を備える、電極転写方法。
続きを表示(約 370 文字)
【請求項2】
前記副資材は、緩衝材と、離型材と、を含む、請求項1に記載の電極転写方法。
【請求項3】
請求項1又は2に記載の電極転写方法に用いられる電極の位置決め用治具であって、
前記位置決め用治具は、前記アノード電極用位置決め治具と、前記カソード電極用位置決め治具と、前記軸部材と、を備え、
前記アノード電極用位置決め治具及び前記カソード電極用位置決め治具は、前記軸部材が同心で挿通可能な貫通孔が中心に形成されている、電極の位置決め用治具。
【請求項4】
前記アノード電極用位置決め治具の厚さ寸法は、前記アノード電極の厚さ寸法よりも大きく、
前記カソード電極用位置決め治具の厚さ寸法は、前記カソード電極の厚さ寸法よりも大きい、請求項3に記載の電極の位置決め用治具。
発明の詳細な説明
【技術分野】
【0001】
本発明は、電極転写方法及び電極の位置決め治具に関する。
続きを表示(約 1,800 文字)
【背景技術】
【0002】
従来、固体高分子電解質膜の両側にアノード電極とカソード電極を配置して転写した触媒層付電解質膜(CCM)を水電解等に用いることが知られている(例えば、特許文献1参照)。
【先行技術文献】
【特許文献】
【0003】
特開2020-176300号公報
【発明の概要】
【発明が解決しようとする課題】
【0004】
触媒層付電解質膜(CCM)を水電解等に用いる場合、ガスを昇圧するために円筒形状に構成する場合がある。この場合、アノード電極と、カソード電極とを、間に固体高分子電解質膜を挟んで対応する位置に配置する必要が生じるが、目視で配置するため、正確に位置決めすることが難しいという問題があった。
【課題を解決するための手段】
【0005】
(1) 本発明は、中心に貫通孔(例えば、貫通孔21a、22a)の形成された円環状のアノード電極(例えば、アノード電極21)及びカソード電極(例えば、カソード電極22)で構成される電極(例えば、電極2)を固体高分子電解質膜(例えば、固体高分子電解質膜3)に転写する電極転写方法であって、副資材(例えば、副資材4)に軸部材(例えば、軸部材11)を挿通させて前記副資材を設置する第1副資材設置工程(例えば、第1副資材設置工程S1)と、アノード電極用位置決め治具(例えば、アノード電極用位置決め治具12)に前記軸部材を挿通させるアノード電極用位置決め治具設置工程(例えば、アノード電極用位置決め治具設置工程S2)と、前記アノード電極用位置決め治具を中心として前記アノード電極を設置するアノード電極設置工程(例えば、アノード電極設置工程S3)と、前記アノード電極用位置決め治具を取り外し、前記アノード電極の上に、前記軸部材を中心として前記固体高分子電解質膜を設置する固体高分子電解質膜設置工程(例えば、固体高分子電解質膜設置工程S4)と、前記固体高分子電解質膜の上で、前記軸部材を、カソード電極用位置決め治具(例えば、カソード電極用位置決め治具13)に挿通させるカソード電極用位置決め治具設置工程(例えば、カソード電極用位置決め治具設置工程S5)と、前記カソード電極用位置決め治具を中心として前記カソード電極を設置するカソード電極設置工程(例えば、カソード電極設置工程S6)と、前記カソード電極用位置決め治具を取り外し、前記カソード電極の上に、前記副資材に前記軸部材を挿通させて前記副資材を設置する第2副資材設置工程(例えば、第2副資材設置工程S7)と、前記軸部材を抜き取る軸部材除去工程(例えば、軸部材除去工程S8)と、前記軸部材除去工程の後、前記副資材の外側から前記電極を挟んで加熱及び加圧するホットプレス工程(例えば、ホットプレス工程S9)と、を備える、電極転写方法に関する。
【0006】
(2) 前記副資材は、緩衝材(例えば、緩衝材41)と、離型材(例えば、離型材42)と、を含むことが好ましい。
【0007】
(3) 本発明は、上記(1)又は(2)に記載の電極転写方法に用いられる電極の位置決め用治具(電極の位置決め用治具1)であって、前記位置決め用治具は、前記アノード電極用位置決め治具と、前記カソード電極用位置決め治具と、前記軸部材と、を備え、前記アノード電極用位置決め治具及び前記カソード電極用位置決め治具は、前記軸部材が同心で挿通可能な貫通孔(例えば、貫通孔12a、13a)が中心に形成されている、電極の位置決め用治具に関する。
【0008】
(4) 前記アノード電極用位置決め治具の厚さ寸法は、前記アノード電極の厚さ寸法よりも大きく、前記カソード電極用位置決め治具の厚さ寸法は、前記カソード電極の厚さ寸法よりも大きいことが好ましい。
【発明の効果】
【0009】
上記(1)によれば、軸部材に挿通され、電極の内周を基準とするアノード電極用位置決め治具及びカソード電極用位置決め治具を使用することで、固体高分子電解質膜を挟んで配置されるアノード電極及びカソード電極の転写位置の精度を向上させることができる。
【0010】
上記(2)によれば、電極が副資材に挟まれることで、電極にかける圧力が均等にかかりやすくなるとともに、電極を保護することができる。
(【0011】以降は省略されています)
この特許をJ-PlatPat(特許庁公式サイト)で参照する
関連特許
本田技研工業株式会社
車両
1か月前
本田技研工業株式会社
車両
7日前
本田技研工業株式会社
装置
6日前
本田技研工業株式会社
モータ
3日前
本田技研工業株式会社
保持装置
今日
本田技研工業株式会社
保管装置
1日前
本田技研工業株式会社
通知装置
6日前
本田技研工業株式会社
固体電池
1日前
本田技研工業株式会社
バッテリ
今日
本田技研工業株式会社
バッテリ
今日
本田技研工業株式会社
電解装置
14日前
本田技研工業株式会社
内燃機関
6日前
本田技研工業株式会社
内燃機関
6日前
本田技研工業株式会社
ロボット
29日前
本田技研工業株式会社
回転機械
1か月前
本田技研工業株式会社
車両構造
3日前
本田技研工業株式会社
車両構造
3日前
本田技研工業株式会社
受電装置
1日前
本田技研工業株式会社
送電装置
1日前
本田技研工業株式会社
断続装置
1日前
本田技研工業株式会社
保管装置
1日前
本田技研工業株式会社
リアクトル
6日前
本田技研工業株式会社
触媒インク
1か月前
本田技研工業株式会社
触媒インク
1か月前
本田技研工業株式会社
鞍乗型車両
13日前
本田技研工業株式会社
分離システム
3日前
本田技研工業株式会社
運転制御装置
3日前
本田技研工業株式会社
車両制御装置
7日前
本田技研工業株式会社
電源システム
1日前
本田技研工業株式会社
潤滑システム
13日前
本田技研工業株式会社
鞍乗り型車両
今日
本田技研工業株式会社
鞍乗り型車両
1か月前
本田技研工業株式会社
電力変換装置
1か月前
本田技研工業株式会社
導体接合方法
1か月前
本田技研工業株式会社
位置推定装置
1か月前
本田技研工業株式会社
車両制御装置
1か月前
続きを見る
他の特許を見る