TOP
|
特許
|
意匠
|
商標
特許ウォッチ
Twitter
他の特許を見る
公開番号
2025093062
公報種別
公開特許公報(A)
公開日
2025-06-23
出願番号
2023208555
出願日
2023-12-11
発明の名称
苗木の保管・搬送用包装構造
出願人
島根県
代理人
個人
,
個人
主分類
B65D
85/52 20060101AFI20250616BHJP(運搬;包装;貯蔵;薄板状または線条材料の取扱い)
要約
【課題】植林用苗木の長時間の保管・搬送を可能にする。
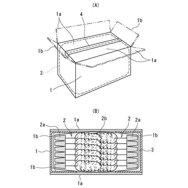
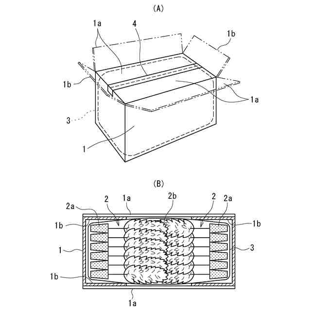
【解決手段】この発明の苗木の保管・搬送用包装構造は、多数本のまとまった量の苗木2を保管又は搬送のために苗木2側を覆う内装材3と該内装材3の外側を覆う外装材1とで包装する包装構造であって、内装材3が苗木2の水分の蒸散を防止して乾燥を防止し且つ耐水性を備え、外装材1が遮光性と断熱性を備えている。上記内装材3及び外装材1は共に生分解性の素材で形成される。
【選択図】図1
特許請求の範囲
【請求項1】
多数本のまとまった量の苗木(2)を保管又は搬送のために苗木(2)側を覆う内装材(3)と該内装材(3)の外側を覆う外装材(1)とで包装する包装構造であって、内装材(3)が苗木(2)の水分の蒸散を防止して乾燥を防止し且つ耐水性を備え、外装材(1)が遮光性と断熱性を備えてなる苗木の保管・搬送用包装構造。
続きを表示(約 710 文字)
【請求項2】
内装材(3)と外装材(1)の両方又はいずれか一方を生分解性の素材で形成した請求項1に記載の苗木の保管・搬送用包装構造。
【請求項3】
内装材(3)及び外装材(1)の材料自体又は両者の組合せによる包装自体により外部との通気性を保持させ、造林地での日射による苗木(2)の温度上昇を防止する構造にしてなる請求項1に記載の苗木の保管・搬送用包装構造。
【請求項4】
苗木(2)を収容する外装材(1)と内装材(3)の間に緩衝材(7)又はスペーサー(10)を介挿して通気層(8)を形成させ、外装材(1)に設けた通気孔(9),(11)から熱を逃しやすい構造とした請求項3に記載の苗木の保管・搬送用包装構造。
【請求項5】
外装材(1)として段ボール紙製の折畳み密閉可能な蓋付の箱を使用し、内装材(3)として該箱の段ボール紙内面に生分解性プラスチック材をコーティング又はラミネートし、内装材(3)により箱の段ボール紙に耐水性を付与し且つ箱自体の強度補強をした請求項1に記載の苗木の保管・搬送用包装構造。
【請求項6】
内装材(3)を多数の苗木(2)を束状にまとめて収容して密閉する生分解性プラスチックフィルムとし、外装材(1)を苗木(2)を収容した上記内装材(3)の外側を覆って梱包する生分解性素材よりなるシート材とした請求項1に記載の苗木の保管・搬送用包装構造。
【請求項7】
外装材(1)が片面段ボール紙又は植物由来繊維材であるムシロ,畳表素材,単層あるいは複層の紙製品のいずれかからなる請求項6に記載の苗木の保管・搬送用包装構造。
発明の詳細な説明
【技術分野】
【0001】
この発明は主として植林用又は植木用等の苗木の保管・搬送用包装構造に関する。
続きを表示(約 1,500 文字)
【背景技術】
【0002】
従来林業用苗木は、樹脂製ネットに入れ(特許文献1,2参照)、あるいはムシロや樹脂製不織布に包むなどして荷造りされ、出荷・運搬されることが一般的であるが、近年、ドローンや架線で苗木を運搬する方法が取り組まれつつある。ドローンや架線では、運搬コストの点から、一度に大量の本数を運搬する必要がある。しかし、従来のネット等に入れて出荷した場合、植栽地に運搬した苗木は即座に植栽しないと、林地の日射下では苗木は数日で乾燥・枯死してしまう。短期間で大量に苗木を植栽することは労務的に困難であることから、植栽が間に合わず、ドローン・架線による苗木の運搬は普及が進みにくい現状となっている。苗木の最適な植栽時期は気候条件等により地域差はあるものの、概ね11月~12月および3月~4月であり短期間に集中している。生産者にとっては出荷作業が短期間に集中し負担が大きく、このことは生産者が苗木の大量生産を行う上でのボトルネックとなっている。
【0003】
他方、コンテナ苗では一般的には根鉢を10本単位で樹脂フィルムで包んだのち、計50本程度を樹脂製ネットにいれて出荷する。植栽後にこれらのフィルムやネットは、林地で不用意に放置されるとマイクロプラスチック化し環境汚染の原因となる。当然ながら、事業活動で生じた廃プラスチックは適切に回収して産業廃棄物として処分が必要である。
【0004】
また段ボール紙を使用したパレットの段ボール紙表面に生分解性樹脂フィルムを貼着し又は生分解性樹脂材をスプレーして耐水性を付与するものも特許文献3等によって知られている。
【先行技術文献】
【特許文献】
【0005】
特開2022-102493号公報
特許第6990525公報
特開2008-23741号公報
【発明の概要】
【発明が解決しようとする課題】
【0006】
上記特許文献1,2の発明では、苗木の根を収容する育苗ポットを鉢状の容器や筒状のケースに密接させて収容することにより、まとまった苗木を安定的に包装して保管・搬送できる他、荷造りや苗の取り出しも容易であるという利点はあるものの、枝葉部分が通気性に富んだネットで囲まれているだけであるため、前述したように運搬中や植林現場や保管倉庫での長時間保管中に乾燥・枯死する欠点がある他、樹脂製ネットや容器類の回収・持ち帰り等の手数を要する。
【0007】
また特許文献3の段ボール紙製コンテナは、外表面の耐水性は付与されるものの、内側からの苗木の乾燥を防止することは出来ず、苗木からの蒸散水分を吸収してコンテナ自体の形状維持が出来ないため運搬中や保管中の荷崩れを生じる等の欠点がある。
【課題を解決するための手段】
【0008】
上記課題を解決するための本発明の苗木の保管・搬送用包装構造は、第1に多数本のまとまった量の苗木2を保管又は搬送のために苗木2側を覆う内装材3と該内装材3の外側を覆う外装材1とで包装する包装構造であって、内装材3が苗木2の水分の蒸散を防止して乾燥を防止し且つ耐水性を備え、外装材1が遮光性と断熱性を備えてなることを特徴としている。
【0009】
第2に、内装材3と外装材1の両方又はいずれか一方を生分解性の素材で形成しことを特徴としている。
【0010】
第3に、内装材3及び外装材1の材料自体又は両者の組合せによる包装自体により外部との通気性を保持させ、造林地での日射による苗木2の温度上昇を防止する構造にしてなることを特徴としている。
(【0011】以降は省略されています)
この特許をJ-PlatPat(特許庁公式サイト)で参照する
関連特許
島根県
油吸着材とその製造方法
2日前
島根県
参照電極及びその製造方法
9か月前
島根県
苗木の保管・搬送用包装構造
3か月前
国立大学法人島根大学
骨削孔ドリル
2か月前
エステック株式会社
プリント基板及びその製造方法
6か月前
国立大学法人大阪大学
シリコン粒子
7か月前
株式会社ツムラ
オタネニンジンの苗の栽培方法
3日前
TDK株式会社
評価方法、及び評価装置
2か月前
TDK株式会社
評価方法、及び評価装置
2か月前
一般社団法人ジャパンオーガニックパーティー
茶花の有効利用形態
6か月前
一般社団法人ジャパンオーガニックパーティー
茶花の有効利用形態
6か月前
UBE三菱セメント株式会社
モルタル組成物及びその製造方法
11か月前
個人
箱
12か月前
個人
収容箱
2か月前
個人
ゴミ箱
11か月前
個人
コンベア
4か月前
個人
容器
8か月前
個人
段ボール箱
6か月前
個人
段ボール箱
6か月前
個人
ゴミ収集器
6か月前
個人
宅配システム
6か月前
個人
角筒状構造体
5か月前
個人
パウチ補助具
11か月前
個人
土嚢運搬器具
8か月前
個人
バンド
1か月前
個人
楽ちんハンド
4か月前
個人
コード類収納具
7か月前
個人
包装容器
23日前
個人
お薬の締結装置
5か月前
個人
廃棄物収容容器
2か月前
個人
閉塞装置
9か月前
個人
貯蔵サイロ
6か月前
個人
蓋閉止構造
3か月前
株式会社バンダイ
物品
4日前
株式会社コロナ
梱包材
5か月前
個人
把手付米袋
4か月前
続きを見る
他の特許を見る