TOP
|
特許
|
意匠
|
商標
特許ウォッチ
Twitter
他の特許を見る
公開番号
2025111143
公報種別
公開特許公報(A)
公開日
2025-07-30
出願番号
2024005365
出願日
2024-01-17
発明の名称
電池
出願人
愛三工業株式会社
,
トヨタ自動車株式会社
代理人
弁理士法人 快友国際特許事務所
主分類
H01M
4/13 20100101AFI20250723BHJP(基本的電気素子)
要約
【課題】電池のエネルギー密度を向上させると共に、電極を集電体から剥がれ難くするための技術を提供する。
【解決手段】電池は、集電体と、前記集電体の表面上に配置される電極成分と、を備えている。前記電極成分の空隙率は、前記集電体の表面に近いほど大きい。
【選択図】図1
特許請求の範囲
【請求項1】
集電体と、
前記集電体の表面上に配置される電極成分と、を備えており、
前記電極成分の空隙率は、前記集電体の表面に近いほど大きい、電池。
続きを表示(約 720 文字)
【請求項2】
請求項1に記載の電池であって、
前記電極成分は、前記集電体の表面上に配置される第1層と、前記第1層上に配置される第2層と、を備えており、
前記電極成分は、複数の粒子を含んでおり、
前記第1層中の前記粒子の体積分率は、前記第2層中の前記粒子の体積分率より小さい、電池。
【請求項3】
請求項2に記載の電池であって、
前記集電体の体積は、前記第1層において前記粒子が配置されない領域の体積より大きい、電池。
【請求項4】
請求項2に記載の電池であって、
前記集電体の前記表面の弾性率は、前記第1層の前記粒子の弾性率より小さい、電池。
【請求項5】
請求項2に記載の電池であって、
前記電極成分は、前記第1層に配置される第1粒子と、前記第2層に配置される第2粒子と、を備えており、
前記第1粒子は、第1の外径を有しており、
前記第2粒子は、前記第1の外径より小さい第2の外径を有している、電池。
【請求項6】
請求項2に記載の電池であって、
前記電極成分は、前記第1層に配置される第1粒子と、前記第2層に配置される第2粒子と、を備えており、
前記第1粒子の密度は、前記第2粒子の密度より小さい、電池。
【請求項7】
請求項1~6のいずれか一項に記載の電池であって、
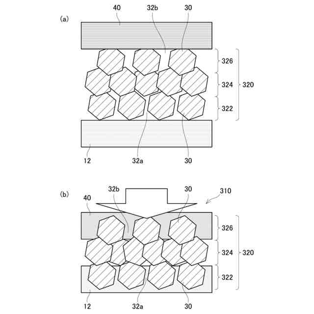
前記電極成分の前記集電体とは反対側に配置される固体電解質をさらに備えており、
前記電極成分の空隙率は、前記集電体の表面に近いほど大きく、かつ、前記固体電解質の表面に近いほど大きい、電池。
発明の詳細な説明
【技術分野】
【0001】
本明細書に開示する技術は、電池に関する。
続きを表示(約 1,300 文字)
【背景技術】
【0002】
電池は、性能を向上させるために種々の改良がされている。例えば、特許文献1には、集電体と、集電体の表面上に配置された電極成分を備える電池が開示されている。特許文献1の電池では、集電体の表面に電極成分が高密度で配置されている。これにより、電池のエネルギー密度が向上する。
【先行技術文献】
【特許文献】
【0003】
特開2004-362789号公報
【発明の概要】
【発明が解決しようとする課題】
【0004】
特許文献1の電池では、電極成分を高密度で配置することによって、電池のエネルギー密度を向上させている。しかしながら、集電体の表面に電極成分を高密度で配置すると、電極を集電体に塗工するために加圧したときに、電極に集電体が入り込み難くなる。このため、電極と集電体との間にアンカー効果が生じ難くなり、電極が集電体から剥がれ易くなる。また、電極を集電体から剥がれ難くするために、集電体の表面に配置する電極の密度を低くすると、電池のエネルギー密度が低下する。
【0005】
本明細書は、電池のエネルギー密度を向上させると共に、電極を集電体から剥がれ難くするための技術を開示する。
【課題を解決するための手段】
【0006】
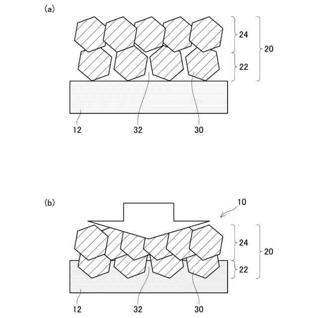
本技術の態様では、電池は、集電体と、前記集電体の表面上に配置される電極成分と、を備えている。前記電極成分の空隙率は、前記集電体の表面に近いほど大きい。
【0007】
この構成によれば、集電体の表面に近いほど電極成分の空隙率が大きいことによって、電極を集電体に塗工するために加圧したときに、集電体が電極成分の空隙に入り込み易くなる。これにより、電極と集電体との間にアンカー効果が生じ、電極が集電体から剥がれ難くなる。また、集電体の表面に近いほど電極成分の空隙率が大きいため、集電体の表面から離れた部分では、電極成分の空隙率が小さくなる。これにより、電極成分は、集電体の表面から離れるほど高密度になり、エネルギー密度が高くなる。このため、電池のエネルギー密度を向上させることと、電極を集電体から剥がれ難くすることを同時に実現することができる。
【0008】
本技術の第2の態様では、上記の第1の態様において、前記電極成分は、前記集電体の表面上に配置される第1層と、前記第1層上に配置される第2層と、を備えていてもよい。前記電極成分は、複数の粒子を含んでいてもよい。前記第1層中の前記粒子の体積分率は、前記第2層中の前記粒子の体積分率より小さくてもよい。
【0009】
この構成によれば、集電体の表面に近い第1層中の粒子の体積分率が、集電体の表面から離れた第2層中の粒子の体積分率より小さい。このため、集電体の表面に近いほど、電極成分の空隙率を好適に大きくすることができる。
【0010】
本技術の第3の態様では、上記の第2の態様において、前記集電体の体積は、前記第1層において前記粒子が配置されない領域の体積より大きくてもよい。
(【0011】以降は省略されています)
この特許をJ-PlatPat(特許庁公式サイト)で参照する
関連特許
個人
フレキシブル電気化学素子
6日前
株式会社ユーシン
操作装置
6日前
ローム株式会社
半導体装置
13日前
ローム株式会社
半導体装置
8日前
日新イオン機器株式会社
イオン源
2日前
オムロン株式会社
電磁継電器
7日前
株式会社GSユアサ
蓄電設備
6日前
株式会社ホロン
冷陰極電子源
今日
株式会社GSユアサ
蓄電設備
6日前
太陽誘電株式会社
全固体電池
13日前
株式会社ホロン
冷陰極電子源
13日前
株式会社GSユアサ
蓄電装置
13日前
太陽誘電株式会社
コイル部品
6日前
日本特殊陶業株式会社
保持装置
13日前
トヨタ自動車株式会社
蓄電装置
6日前
日東電工株式会社
積層体
7日前
TDK株式会社
電子部品
13日前
日本特殊陶業株式会社
保持装置
13日前
ノリタケ株式会社
熱伝導シート
6日前
サクサ株式会社
電池の固定構造
6日前
トヨタ自動車株式会社
バッテリ
7日前
東レエンジニアリング株式会社
実装装置
13日前
日本製紙株式会社
導電性フィルム
7日前
日本特殊陶業株式会社
電極
13日前
株式会社トクヤマ
シリコンエッチング液
今日
日本特殊陶業株式会社
電極
13日前
日本特殊陶業株式会社
電極
13日前
TDK株式会社
コイル部品
13日前
SMK株式会社
キートップ及びスイッチ
8日前
株式会社トクヤマ
シリコンエッチング液
今日
ベストテック株式会社
装置支持具
6日前
東レエンジニアリング株式会社
実装装置
7日前
ローム株式会社
半導体装置
8日前
株式会社ダイヘン
搬送装置
6日前
古河電気工業株式会社
端子
6日前
日本特殊陶業株式会社
電極
13日前
続きを見る
他の特許を見る