TOP
|
特許
|
意匠
|
商標
特許ウォッチ
Twitter
他の特許を見る
公開番号
2025146316
公報種別
公開特許公報(A)
公開日
2025-10-03
出願番号
2024047019
出願日
2024-03-22
発明の名称
実装装置
出願人
東レエンジニアリング株式会社
代理人
主分類
H01L
21/60 20060101AFI20250926BHJP(基本的電気素子)
要約
【課題】実装状態のばらつきを抑えた基板へのチップ部品の実装を行う実装装置を提供する。
【解決手段】加熱機構により基板保持面21aを持つ吸着テーブル上の基板Sを加熱した状態においてボンディングヘッドが保持するチップ部品Cを基板へ押圧することによって基板にチップ部品を実装する実装装置であって、加熱機構による基板保持面21aの加熱状態が均等となる均等加熱領域Eは基板の面積よりも小さく、ボンディングヘッドは基板において均等加熱領域上に位置する部分に対してのみチップ部品を実装し、基板上のチップ部品が実装される領域全体が均等加熱領域上に位置する状態を経るよう基板と均等加熱領域の相対位置を変更しながらボンディングヘッドによるチップ部品の実装を行うことによって基板上のチップ部品が実装される領域全体へのチップ部品の実装を行う。
【選択図】図4
特許請求の範囲
【請求項1】
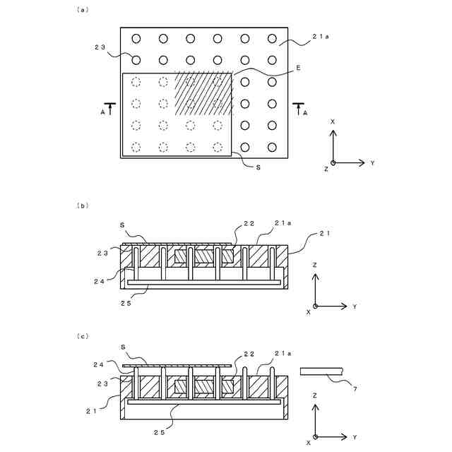
基板を保持する基板保持面と当該基板保持面を加熱する加熱機構とを有する保持テーブルと、
チップ部品を保持するボンディングヘッドと、
前記ボンディングヘッドを昇降させる昇降ユニットと、
を備え、
前記加熱機構により前記保持テーブル上の基板を加熱した状態において前記ボンディングヘッドが保持するチップ部品を基板へ押圧することによって基板にチップ部品を実装する実装装置であり、
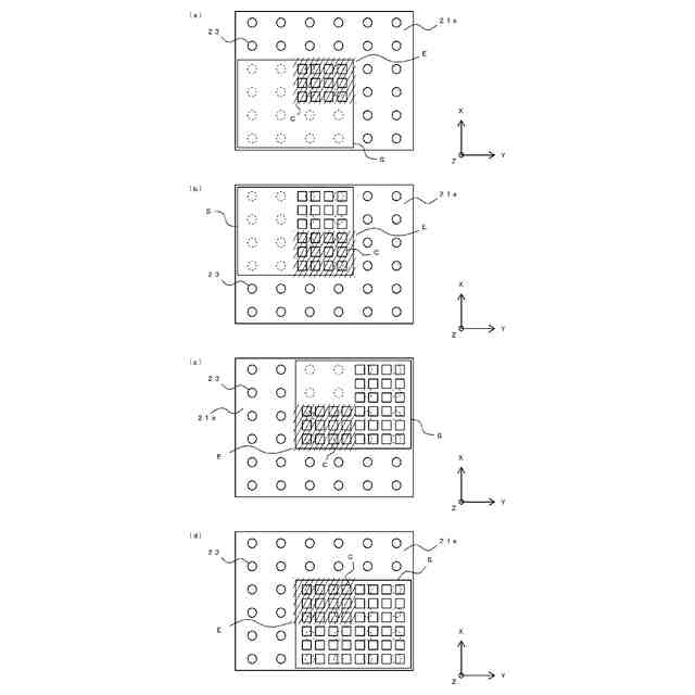
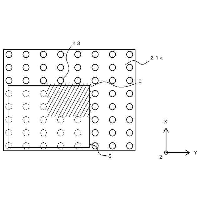
前記加熱機構による前記基板保持面の加熱状態が均等となる均等加熱領域は基板の面積よりも小さく、前記ボンディングヘッドは基板において当該均等加熱領域上に位置する部分に対してのみチップ部品を実装し、
基板上のチップ部品が実装される領域全体が前記均等加熱領域上に位置する状態を経るよう前記基板と前記均等加熱領域の相対位置を変更しながら前記ボンディングヘッドによるチップ部品の実装を行うことによって基板上のチップ部品が実装される領域全体へのチップ部品の実装を行うことを特徴とする、実装装置。
続きを表示(約 190 文字)
【請求項2】
前記基板保持面の面積は基板の面積よりも大きく、前記均等加熱領域は、前記基板保持面の中央部に設けられていることを特徴とする、請求項1に記載の実装装置。
【請求項3】
前記基板保持面は、矩形の基板の四隅が前記均等加熱領域上にあるそれぞれの場合において基板全面を保持することが可能な大きさを有することを特徴とする、請求項2に記載の実装装置。
発明の詳細な説明
【技術分野】
【0001】
本発明は、基板の所定位置にチップ部品を実装する実装装置に関する。
続きを表示(約 1,800 文字)
【背景技術】
【0002】
ボンディング処理は、電子部品の実装や半導体デバイスの製造プロセスにおいて欠かすことのできない工程であり、基板上の複数の部品を接合するために使用される。
【0003】
このボンディング処理を行う実装装置を図6に示す。実装装置101には、基板ステージ102の上方にボンディングヘッド104が設けられており、チップ搬送手段106によって搬送されたチップ部品Cがボンディングヘッド104の下面に保持された状態で昇降ユニット103がボンディングヘッド104を降下させることにより、基板ステージ102に載置された基板Sの所定位置にチップ部品Cを押圧する。そして、基板ステージ102およびボンディングヘッド104が昇温することによってチップ部品Cは基板Sに熱圧着され、チップ部品Cが基板Sに実装される。ボンディング時には、基板および部品を適切に加熱することが重要であり、通常、ヒーターが使用される。
【発明の概要】
【発明が解決しようとする課題】
【0004】
ここで、従来の実装装置101においては、基板ステージ102のヒーターは基板S全面を加熱するために基板Sと同等の大きさに設計する。その場合、基板Sのサイズが大きくなるにしたがってボンディング時におけるヒーター全面の温度を均一に制御することが困難になるおそれがあった。このようにヒーター全面の温度が均一に制御できない場合、基板Sに複数実装されたチップ部品Cの実装状態にばらつきが生じて適切な接合が行われないチップ部品Cが生じる可能性があり、その結果製品の品質の低下や不良品の発生といった問題が生じる可能性があった。
【0005】
本発明は、上記問題点を鑑み、実装状態のばらつきを抑えた実装装置を提供することを目的としている。
【課題を解決するための手段】
【0006】
上記課題を解決するために本発明の実装装置は、基板を保持する基板保持面と当該基板保持面を加熱する加熱機構とを有する保持テーブルと、チップ部品を保持するボンディングヘッドと、前記ボンディングヘッドを昇降させる昇降ユニットと、を備え、前記加熱機構により前記保持テーブル上の基板を加熱した状態において前記ボンディングヘッドが保持するチップ部品を基板へ押圧することによって基板にチップ部品を実装する実装装置であり、前記加熱機構による前記基板保持面の加熱状態が均等となる均等加熱領域は基板の面積よりも小さく、前記ボンディングヘッドは基板において当該均等加熱領域上に位置する部分に対してのみチップ部品を実装し、基板上のチップ部品が実装される領域全体が前記均等加熱領域上に位置する状態を経るよう前記基板と前記均等加熱領域の相対位置を変更しながら前記ボンディングヘッドによるチップ部品の実装を行うことによって基板上のチップ部品が実装される領域全体へのチップ部品の実装を行うことを特徴としている。
【0007】
本発明の実装装置では、加熱機構による基板保持面の加熱状態が均等となる均等加熱領域は基板の面積よりも小さいことにより、基板全面を同時に加熱できないものの確実に均等加熱領域を形成することができ、そこでの実装状態のばらつきを防ぐことができる。そして、基板上のチップ部品が実装される領域全体が均等加熱領域上に位置する状態を経るよう基板と均等加熱領域の相対位置を変更しながらボンディングヘッドによるチップ部品の実装を行うことによって、基板上のチップ部品が実装される領域全体へ、実装状態のばらつきを抑えたチップ部品の実装を行うことができる。
【0008】
また、前記基板保持面の面積は基板の面積よりも大きく、前記均等加熱領域は、前記基板保持面の中央部に設けられていると良い。
【0009】
こうすることにより、均等加熱領域上でチップ部品の実装を行っている間、その領域以外でも基板を保持できるため、安定して基板を保持することができる。
【0010】
また、前記基板保持面は、矩形の基板の四隅が前記均等加熱領域上にあるそれぞれの場合において基板全面を保持することが可能な大きさを有することが好ましい。
(【0011】以降は省略されています)
この特許をJ-PlatPat(特許庁公式サイト)で参照する
関連特許
東レ株式会社
多孔質炭素シート
26日前
日本発條株式会社
積層体
7日前
個人
防雪防塵カバー
7日前
キヤノン株式会社
電子機器
26日前
ローム株式会社
半導体装置
5日前
ローム株式会社
半導体装置
3日前
ローム株式会社
半導体装置
5日前
ローム株式会社
半導体装置
26日前
ローム株式会社
半導体装置
5日前
ニチコン株式会社
コンデンサ
19日前
東レ株式会社
ガス拡散層の製造方法
26日前
株式会社GSユアサ
蓄電装置
7日前
株式会社ホロン
冷陰極電子源
3日前
株式会社GSユアサ
蓄電装置
3日前
太陽誘電株式会社
全固体電池
3日前
株式会社ティラド
面接触型熱交換器
18日前
個人
半導体パッケージ用ガラス基板
6日前
ニチコン株式会社
コンデンサ
19日前
日本特殊陶業株式会社
保持装置
5日前
マクセル株式会社
配列用マスク
18日前
トヨタ自動車株式会社
二次電池
7日前
日本特殊陶業株式会社
保持装置
3日前
日本特殊陶業株式会社
保持装置
3日前
TDK株式会社
電子部品
3日前
日本特殊陶業株式会社
保持装置
7日前
ローム株式会社
電子装置
7日前
株式会社カネカ
正極活物質
7日前
ローム株式会社
半導体装置
7日前
住友電装株式会社
コネクタ
7日前
住友電装株式会社
コネクタ
7日前
ヒロセ電機株式会社
電気コネクタ
7日前
住友電装株式会社
コネクタ
7日前
住友電装株式会社
コネクタ
7日前
ローム株式会社
半導体装置
7日前
TDK株式会社
コイル部品
3日前
株式会社デンソー
電子装置
7日前
続きを見る
他の特許を見る