TOP
|
特許
|
意匠
|
商標
特許ウォッチ
Twitter
他の特許を見る
公開番号
2025114305
公報種別
公開特許公報(A)
公開日
2025-08-05
出願番号
2024008926
出願日
2024-01-24
発明の名称
撹拌加熱装置及びこれを用いた金属有機構造体の合成方法
出願人
愛三工業株式会社
代理人
弁理士法人太陽国際特許事務所
主分類
H05B
6/62 20060101AFI20250729BHJP(他に分類されない電気技術)
要約
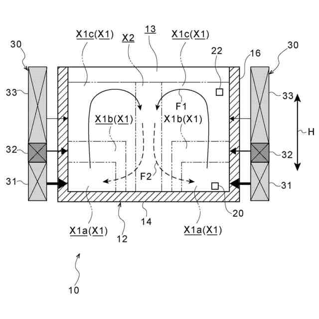
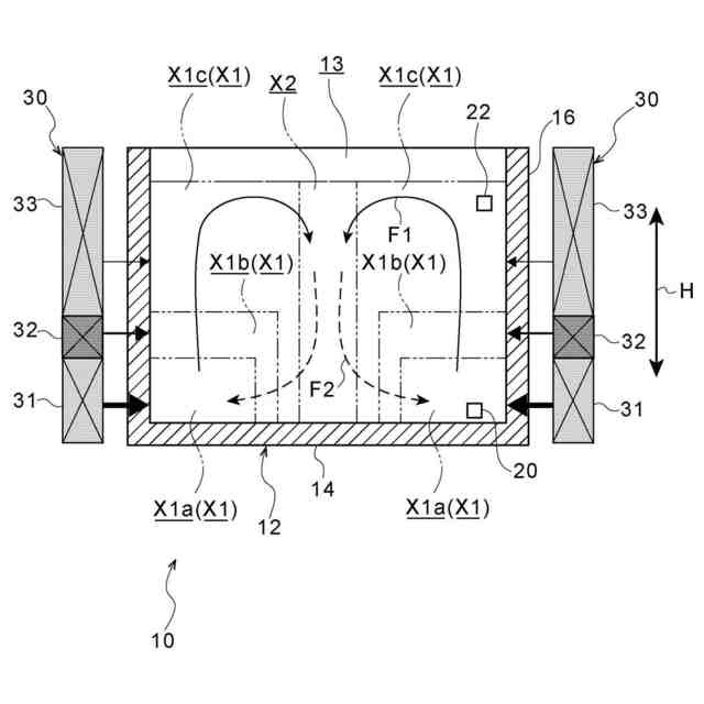
【課題】容器内の構造の簡素化を図ることにより、容器内の収容効率を高め、運用コストを抑えることができる撹拌加熱装置及びこれを用いた金属有機構造体の合成方法を得る。
【解決手段】撹拌加熱装置10は、電磁波透過材料により形成された容器12と、容器内に向けて配置され、容器内に設けられた収容空間13に電磁波を照射することにより、収容空間13に収容された被照射物質を加熱する電磁波発生部30と、を備える。電磁波発生部30は、電磁波の照射レベルを容器12の深さ方向Hに異ならせることにより、容器内に対流を発生させ、被照射物質を撹拌する。
【選択図】図2
特許請求の範囲
【請求項1】
電磁波透過材料により形成された容器と、
前記容器内に向けて配置され、前記容器内に設けられた収容空間に電磁波を照射することにより前記収容空間に収容された被照射物質を加熱する電磁波発生部と、を備え、
前記電磁波発生部は、電磁波の照射レベルを前記容器の深さ方向に異ならせることにより、前記容器内に対流を発生させて、前記被照射物質を撹拌するように構成されている、
撹拌加熱装置。
続きを表示(約 890 文字)
【請求項2】
前記電磁波発生部は、電磁波の照射レベルが前記容器の下部で最も高くなるように電磁波を照射する、
請求項1に記載の撹拌加熱装置。
【請求項3】
前記電磁波発生部は、前記容器の深さ方向に沿って配置された複数の照射部を有し、複数の前記照射部は、前記容器の下部から上部へ向かって電磁波の照射レベルが低くなるように、電磁波の照射レベルが互いに異なるように設定されている、
請求項2に記載の撹拌加熱装置。
【請求項4】
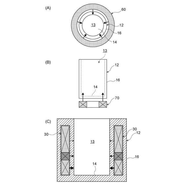
前記電磁波発生部は、前記容器を挟んだ状態で一対配置されている、
請求項1~請求項3の何れか1項に記載の撹拌加熱装置。
【請求項5】
前記容器は、前記容器の外周部に沿って又はその近傍が電磁波の照射領域として設定され、前記容器の中央部が電磁波の非照射領域として設定されている、
請求項1~請求項3の何れか1項に記載の撹拌加熱装置。
【請求項6】
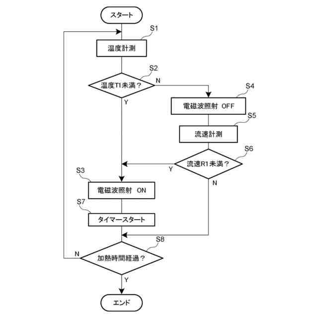
前記容器内の前記被照射物質の温度を検知する温度センサと、
前記容器内の前記被照射物質の流速を検知する流速センサと、
前記温度センサ及び前記流速センサの検出値に基づいて前記電磁波発生部から照射される電磁波のON/OFFを制御する制御部と、を更に備え、
前記制御部は、前記温度センサで所定の閾値以上の温度が検知されると前記電磁波の照射をOFFにし、前記流速センサで所定の閾値未満の流速が検知されると前記電磁波の照射をONにする、
請求項1~請求項3の何れか1項に記載の撹拌加熱装置。
【請求項7】
請求項1~請求項3の何れか1項に記載の撹拌加熱装置を用いて金属有機構造体を合成する方法であって、
前記容器内の前記収容空間に前記被照射物質として無機金属化合物と有機配位子を含む混合溶液を収容し、前記電磁波発生部から照射される電磁波により、前記無機金属化合物と前記有機配位子とを加熱及び撹拌し、金属有機構造体を合成する、
金属有機構造体の合成方法。
発明の詳細な説明
【技術分野】
【0001】
本発明は、撹拌加熱装置及びこれを用いた金属有機構造体の合成方法に関する。
続きを表示(約 1,400 文字)
【背景技術】
【0002】
特許文献1には、マイクロ波照射による化合物の合成を行う反応装置が開示されている。この反応装置では、容器内の被照射物質にマイクロ波を照射して加熱する。また、容器内に撹拌翼が設置され、撹拌翼の回転によって、容器内の物質が撹拌される。
【先行技術文献】
【特許文献】
【0003】
特開2010-260008号公報
【発明の概要】
【発明が解決しようとする課題】
【0004】
特許文献1に記載されているように、容器内に撹拌翼を設置した構造では、装置構造が複雑化するとともに、容器内の収容効率が低下するという課題が生じる。また、撹拌翼のメンテナンスのために運用コストが高騰するという課題が生じる。
【0005】
本発明は上記事実を考慮し、容器内の構造の簡素化を図ることにより、容器内の収容効率を高め、運用コストを抑えることができる撹拌加熱装置及びこれを用いた金属有機構造体の合成方法を得ることを目的とする。
【課題を解決するための手段】
【0006】
請求項1に記載の撹拌加熱装置は、電磁波透過材料により形成された容器と、前記容器内に向けて配置され、前記容器内に設けられた収容空間に電磁波を照射することにより前記収容空間に収容された被照射物質を加熱する電磁波発生部と、を備え、前記電磁波発生部は、電磁波の照射レベルを前記容器の深さ方向に異ならせることにより、前記容器内に対流を発生させて、前記被照射物質を撹拌するように構成されている。
【0007】
請求項1に記載の撹拌加熱装置は、電磁波透過材料により形成された容器と、当該容器内に設けられた収容空間に電磁波を照射する電磁波発生部と、を備える。撹拌加熱装置は、電磁波発生部から照射される電磁波により、容器内に収容された被照射物質を加熱する。ここで、電磁波発生部は、電磁波の照射レベルを容器の深さ方向に異ならせることにより、容器内に対流を発生させる。これにより、撹拌翼などの回転体を容器内に設置することなく被照射物質の撹拌を行うことができ、容器内の構造が簡素化される。また、回転体のメンテナンスも要しない。その結果、容器内の収容効率を高め、かつ、運用コストを抑えることができる。
【0008】
請求項2に記載の撹拌加熱装置は、請求項1に記載の構成において、前記電磁波発生部は、電磁波の照射レベルが前記容器の下部で最も高くなるように電磁波を照射する。
【0009】
請求項2に記載の撹拌加熱装置では、電磁波発生部は、電磁波の照射レベルが容器の下部で最も高くなるように電磁波を照射する。これにより、容器内では、収容空間の下部から上部へ向かって上昇する対流が発生する。その結果、容器内の下部で被照射物質が停滞することが抑制され、被照射物質を効率良く撹拌することができる。
【0010】
請求項3に記載の撹拌加熱装置は、請求項2に記載の構成において、前記電磁波発生部は、前記容器の深さ方向に沿って配置された複数の照射部を有し、複数の前記照射部は、前記容器の下部から上部へ向かって電磁波の照射レベルが低くなるように、電磁波の照射レベルが互いに異なるように設定されている。
(【0011】以降は省略されています)
この特許をJ-PlatPat(特許庁公式サイト)で参照する
関連特許
個人
電子部品の実装方法
2日前
日本精機株式会社
回路基板
24日前
アイホン株式会社
電気機器
16日前
日本放送協会
基板固定装置
22日前
キヤノン株式会社
電子機器
16日前
メクテック株式会社
配線基板
1か月前
東レ株式会社
霧化状活性液体供給装置
1か月前
イビデン株式会社
プリント配線板
22日前
FDK株式会社
基板
1日前
イビデン株式会社
配線基板
1か月前
サクサ株式会社
筐体の壁掛け構造
1か月前
日産自動車株式会社
電子部品
14日前
新電元工業株式会社
電子装置
16日前
オムロン株式会社
端子折り曲げ治具
4日前
株式会社レゾナック
冷却装置
1日前
タイガー魔法瓶株式会社
加熱器
14日前
日本無線株式会社
電子機器用密閉構造
28日前
日本特殊陶業株式会社
配線基板
1か月前
新光電気工業株式会社
配線基板
7日前
日本特殊陶業株式会社
セラミックヒータ
4日前
日本特殊陶業株式会社
セラミックヒータ
1日前
株式会社デンソー
電子装置
1か月前
日本特殊陶業株式会社
セラミックヒータ
1日前
株式会社IHI
基板固定構造
23日前
矢崎総業株式会社
箱状体
1か月前
矢崎総業株式会社
箱状体
1か月前
個人
照明制御システム
1か月前
トヨタ自動車株式会社
小型モビリティ
25日前
株式会社アイシン
立体構造基板
4日前
キヤノン株式会社
電気回路及び画像形成装置
14日前
リンナイ株式会社
加熱調理装置
4日前
株式会社デンソー
電子制御装置
28日前
株式会社デンソー
電子装置
1か月前
フクシマガリレイ株式会社
電磁誘導加熱調理器
4日前
フクシマガリレイ株式会社
電磁誘導加熱調理器
1か月前
フクシマガリレイ株式会社
電磁誘導加熱調理器
14日前
続きを見る
他の特許を見る