TOP
|
特許
|
意匠
|
商標
特許ウォッチ
Twitter
他の特許を見る
公開番号
2025141272
公報種別
公開特許公報(A)
公開日
2025-09-29
出願番号
2024041141
出願日
2024-03-15
発明の名称
電磁誘導加熱調理器
出願人
フクシマガリレイ株式会社
代理人
個人
主分類
H05B
6/12 20060101AFI20250919BHJP(他に分類されない電気技術)
要約
【課題】被加熱物の重量を測定する計量機能を備える電磁誘導加熱調理器において、加熱ユニットと制御ユニットとを接続するケーブルに由来する加熱ユニットの傾きを抑制して、計量ユニットに対する荷重の偏りを防止して、被加熱物の重量をより正確に測定できるようにする。
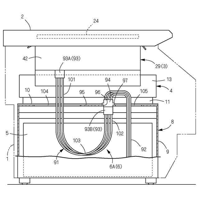
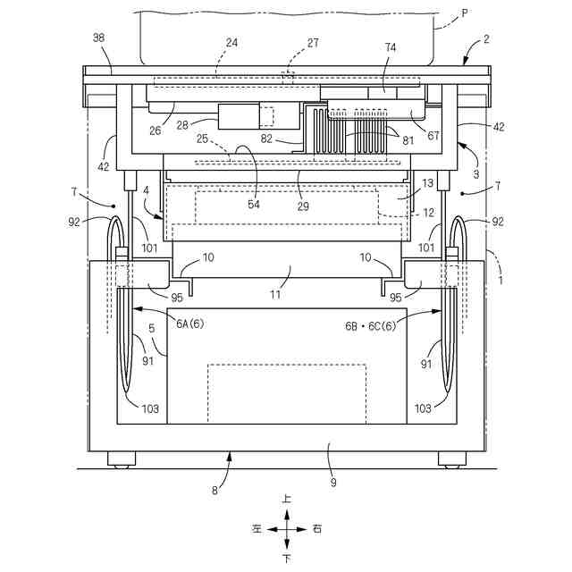
【解決手段】本発明に係る電磁誘導加熱調理器は、被加熱物が載置されるトッププレート2と、トッププレート2を下側から支持して被加熱物を加熱する加熱ユニット3と、加熱ユニット3を下側から支持して被加熱物の重量を測定する計量ユニット4と、加熱ユニット3を制御する制御ユニット5と、加熱ユニット3を制御ユニット5に接続するケーブル6とを備える。加熱ユニット3の両側端部からそれぞれケーブル6が垂れ下がっている。
【選択図】図1
特許請求の範囲
【請求項1】
被加熱物が載置されるトッププレート(2)と、
トッププレート(2)を下側から支持して被加熱物を加熱する加熱ユニット(3)と、
加熱ユニット(3)を下側から支持して被加熱物の重量を測定する計量ユニット(4)と、
加熱ユニット(3)を制御する制御ユニット(5)と、
加熱ユニット(3)を制御ユニット(5)に接続するケーブル(6)と、
を備えており、
加熱ユニット(3)の両側端部からそれぞれケーブル(6)が垂れ下がっていることを特徴とする電磁誘導加熱調理器。
続きを表示(約 950 文字)
【請求項2】
加熱ユニット(3)の両側端部が、計量ユニット(4)よりも側方へ張り出しており、
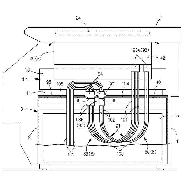
ケーブル(6)が、加熱ユニット(3)の両側端部の下面から真下へ延出されて、計量ユニット(4)の側方を上下に通過している請求項1に記載の電磁誘導加熱調理器。
【請求項3】
計量ユニット(4)を支持するベース部材(8)を備えており、
ケーブル(6)が、加熱ユニット(3)から垂れ下がる一次ケーブル(91)と、一次ケーブル(91)に連続して制御ユニット(5)に至る二次ケーブル(92)とで構成されており、
一次ケーブル(91)の一端に設けられた一次コネクタ(93)と、二次ケーブル(92)の一端に設けられた二次コネクタ(94)とが、電気的に接続されてベース部材(8)に固定されている請求項1または2に記載の電磁誘導加熱調理器。
【請求項4】
ベース部材(8)に、その壁面を上下方向に貫通するコネクタ孔(96)が設けられており、
一次コネクタ(93)がコネクタ孔(96)に挿通可能に形成され、二次コネクタ(94)がコネクタ孔(96)に挿通不能に形成されている請求項3に記載の電磁誘導加熱調理器。
【請求項5】
一次ケーブル(91)が、加熱ユニット(3)から垂れ下がる第1垂下部(101)と、第1垂下部(101)の下端に連続する下凸円弧状の湾曲部(103)とを含む請求項3に記載の電磁誘導加熱調理器。
【請求項6】
一次ケーブル(91)が、ベース部材(8)から垂れ下がる第2垂下部(102)を含み、
湾曲部(103)が第1垂下部(101)と第2垂下部(102)の下端どうしを繋いでいる請求項5に記載の電磁誘導加熱調理器。
【請求項7】
ベース部材(8)の上部に、一次コネクタ(93)と二次コネクタ(94)が固定されるケーブル壁(95)が設けられており、
制御ユニット(5)が、加熱ユニット(3)とケーブル壁(95)よりも下方に配置されており、
一次ケーブル(91)の湾曲部(103)が、制御ユニット(5)の側方に配置されている請求項5に記載の電磁誘導加熱調理器。
発明の詳細な説明
【技術分野】
【0001】
本発明は、被加熱物の重量を測定する計量機能を備える電磁誘導加熱調理器に関する。
続きを表示(約 1,700 文字)
【背景技術】
【0002】
計量機能を備える電磁誘導加熱調理器(以下、適宜に「調理器」と記す。)は、例えば特許文献1に開示されている。特許文献1の調理器は、比較的扁平な四角箱型のケーシングと、ケーシング内に収容される加熱コイルとコイルベースと重量センサなどで構成される。ケーシングは、上下に相対移動可能な上ケースと下ケースからなり、上ケースの天面は被加熱物を支持するトッププレートとされている。加熱コイルとコイルベースは共に水平円盤状に形成されて、コイルベースの上面に加熱コイルが支持されている。コイルベースの周縁部には、上下に伸びる複数本の柱部が一体に設けられている。各柱部の上端部はトッププレートを支持しており、各柱部の下端部は重量センサに支持されている。重量センサは、加熱コイルを制御する制御基板と共に、下ケースの内底面に並べて固定されている。
【0003】
トッププレート上に被加熱物が載置されると、トッププレートを含む上ケースは、コイルベースおよび加熱コイルと一体に、下ケースに対して下降変位し、被加熱物の重量はトッププレートと各柱部とを介して重量センサに作用する。重量センサで測定された被加熱物の重量は、制御基板に出力される。また制御基板には、トッププレート上の温度センサで測定された被加熱物の温度が出力される。制御基板は、各センサから出力される被加熱物の重量と温度に基づいて、加熱コイルの出力と駆動時間を制御している。
【先行技術文献】
【特許文献】
【0004】
特開2016-12517号公報
【発明の概要】
【発明が解決しようとする課題】
【0005】
特許文献1の調理器では、加熱コイルの出力などを制御基板で制御することから、加熱コイルと制御基板はケーブルで接続されているとみられる。加熱コイルは制御基板の上方に位置することから、ケーブルは主に上下方向に延在し、加熱コイルには主に下向きの張力が作用する。この張力が加熱コイルの一端部に偏って作用して、いわゆる力のモーメントによって加熱コイルが傾くと、重量センサに対する加熱コイルの荷重に偏りが生じて、重量センサの測定値に誤差が生じることは避けられない。
【0006】
本発明の目的は、加熱ユニットと制御ユニットとを接続するケーブルに由来する加熱ユニットの傾きを抑制して、計量ユニットに対する荷重の偏りを防止して、被加熱物の重量をより正確に測定し得る電磁誘導加熱調理器を提供することにある。
【課題を解決するための手段】
【0007】
本発明に係る電磁誘導加熱調理器は、被加熱物が載置されるトッププレート2と、トッププレート2を下側から支持して被加熱物を加熱する加熱ユニット3と、加熱ユニット3を下側から支持して被加熱物の重量を測定する計量ユニット4と、加熱ユニット3を制御する制御ユニット5と、加熱ユニット3を制御ユニット5に接続するケーブル6とを備える。そして、加熱ユニット3の両側端部からそれぞれケーブル6が垂れ下がっていることを特徴とする。
【0008】
加熱ユニット3の両側端部が、計量ユニット4よりも側方へ張り出している。ケーブル6が、加熱ユニット3の両側端部の下面から真下へ延出されて、計量ユニット4の側方を上下に通過している。
【0009】
具体的には、調理器は、計量ユニット4を支持するベース部材8を備える。ケーブル6が、加熱ユニット3から垂れ下がる一次ケーブル91と、一次ケーブル91に連続して制御ユニット5に至る二次ケーブル92とで構成されており、一次ケーブル91の一端に設けられた一次コネクタ93と、二次ケーブル92の一端に設けられた二次コネクタ94とが、電気的に接続されてベース部材8に固定されている。
【0010】
ベース部材8に、その壁面を上下方向に貫通するコネクタ孔96が設けられている。一次コネクタ93がコネクタ孔96に挿通可能に形成され、二次コネクタ94がコネクタ孔96に挿通不能に形成されている。
(【0011】以降は省略されています)
この特許をJ-PlatPat(特許庁公式サイト)で参照する
関連特許
個人
電子部品の実装方法
2日前
株式会社コロナ
電気機器
2か月前
個人
非衝突型ガウス加速器
1か月前
日本精機株式会社
回路基板
24日前
日本精機株式会社
回路基板
3か月前
株式会社遠藤照明
照明装置
3か月前
キヤノン株式会社
電子機器
16日前
キヤノン株式会社
電子機器
3か月前
アイホン株式会社
電気機器
1か月前
アイホン株式会社
電気機器
16日前
個人
節電材料
1か月前
日本放送協会
基板固定装置
22日前
メクテック株式会社
配線基板
3か月前
メクテック株式会社
配線基板
1か月前
マクセル株式会社
配列用マスク
2か月前
東レ株式会社
霧化状活性液体供給装置
1か月前
FDK株式会社
基板
1日前
イビデン株式会社
配線基板
1か月前
イビデン株式会社
プリント配線板
2か月前
イビデン株式会社
プリント配線板
22日前
サクサ株式会社
筐体の壁掛け構造
1か月前
イビデン株式会社
プリント配線板
2か月前
イビデン株式会社
プリント配線板
3か月前
イビデン株式会社
配線基板
1か月前
トキコーポレーション株式会社
照明器具
2か月前
日産自動車株式会社
電子部品
14日前
メクテック株式会社
伸縮性配線基板
3か月前
メクテック株式会社
配線モジュール
3か月前
日産自動車株式会社
電子機器
2か月前
株式会社レゾナック
冷却装置
1日前
オムロン株式会社
端子折り曲げ治具
4日前
新電元工業株式会社
充電装置
2か月前
カシン工業株式会社
PTC発熱装置
2か月前
新電元工業株式会社
電子装置
16日前
株式会社電気印刷研究所
金属画像形成方法
2か月前
株式会社電気印刷研究所
金属画像形成方法
2か月前
続きを見る
他の特許を見る