TOP
|
特許
|
意匠
|
商標
特許ウォッチ
Twitter
他の特許を見る
公開番号
2025115118
公報種別
公開特許公報(A)
公開日
2025-08-06
出願番号
2024009468
出願日
2024-01-25
発明の名称
モータシステム
出願人
マツダ株式会社
代理人
個人
,
個人
,
個人
,
個人
主分類
H02K
9/12 20060101AFI20250730BHJP(電力の発電,変換,配電)
要約
【課題】CO
2
冷媒を潤滑に用いる滑り軸受を備えたモータシステムにおいて、ロータシャフトとハウジングとの間からCO
2
冷媒が漏れ出ることを抑制することが可能なモータシステムを提供する。
【解決手段】ハウジング15は、シール室50にシール部材16を収容すると共に、軸受室52に滑り軸受20を保持しており、モータシステムSは、ハウジング15及び滑り軸受20を貫通して延びて、ロータシャフト13に対する滑り軸受20の摺動面22に連通する第1冷媒供給通路18bを更に備え、滑り軸受20は、第1冷媒供給通路18bを通して供給された超臨界流体のCO
2
冷媒Rによって潤滑されるように構成されており、モータシステムSは、ハウジング15を貫通して延びてシール室50に開口し、超臨界流体のCO
2
冷媒Rをシール室50に供給する第2冷媒供給通路18cを更に備えている。
【選択図】図3
特許請求の範囲
【請求項1】
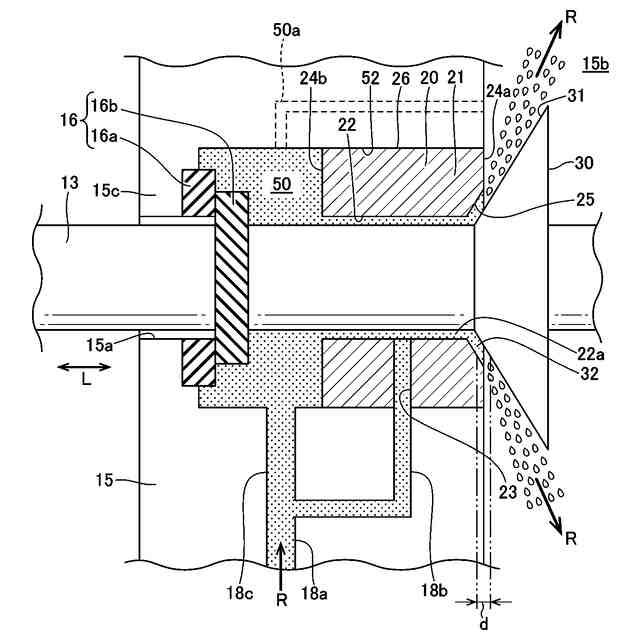
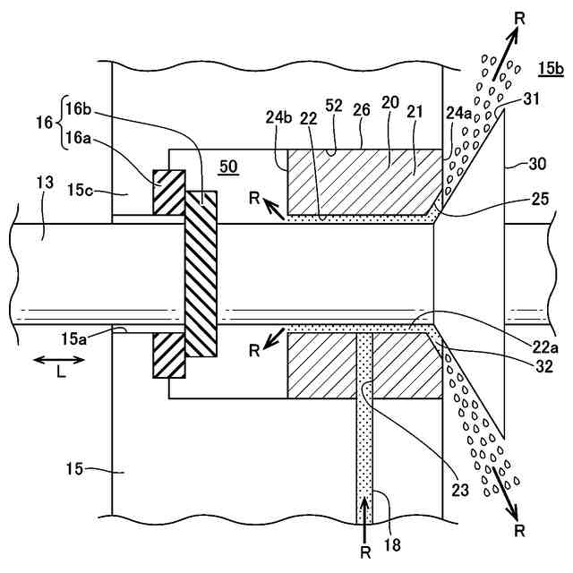
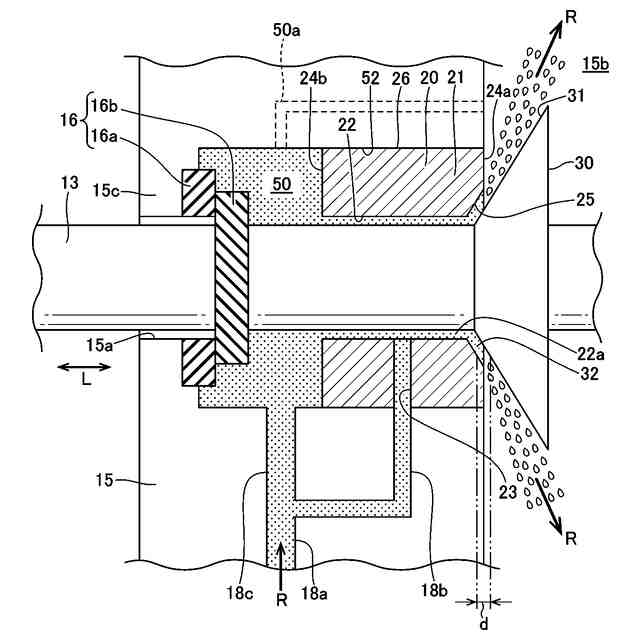
軸方向に延びるロータシャフトと、前記ロータシャフトを回転可能に支持する滑り軸受と、前記滑り軸受を保持するハウジングと、前記ハウジングから外部へ延びる前記ロータシャフトの端部と前記ハウジングとの間をシールするシール部材と、を備えるモータシステムであって、
前記ハウジングは、貫通孔によって前記ハウジングの外部と連通するシール室に前記シール部材を収容すると共に、前記シール室と前記ハウジングの内部空間とを連通する軸受室に前記滑り軸受を保持しており、
前記モータシステムは、前記ハウジング及び前記滑り軸受を貫通して延びて、前記ロータシャフトに対する前記滑り軸受の摺動面に連通する第1冷媒供給通路を更に備え、前記滑り軸受は、前記第1冷媒供給通路を通して、前記滑り軸受と前記ロータシャフトとの間の支持空間へ供給された超臨界流体のCO
2
冷媒によって潤滑されるように構成されており、
前記モータシステムは、前記ハウジングを貫通して延びて前記シール室に開口し、超臨界流体のCO
2
冷媒を前記シール室に供給する第2冷媒供給通路を更に備えている、モータシステム。
続きを表示(約 820 文字)
【請求項2】
前記シール室は、前記第2冷媒供給通路を介して供給された前記CO
2
冷媒を保持するように構成されている、請求項1に記載のモータシステム。
【請求項3】
前記支持空間は、前記シール室と前記ハウジングの内部空間とを連通している、請求項1に記載のモータシステム。
【請求項4】
超臨界流体の前記CO
2
冷媒を前記第1冷媒供給通路及び前記第2冷媒供給通路に供給する冷媒循環システムを更に備えている、請求項1に記載のモータシステム。
【請求項5】
前記冷媒循環システムは、
前記ハウジングから回収した気体の前記CO
2
冷媒を圧縮し超臨界流体の前記CO
2
冷媒を生成する圧縮機と、
前記圧縮機から出力された前記CO
2
冷媒を凝縮し外部環境と熱交換し、超臨界流体の前記CO
2
冷媒を前記第1冷媒供給通路及び前記第2冷媒供給通路へ供給する凝縮器と、を備える、請求項4に記載のモータシステム。
【請求項6】
前記冷媒循環システムは、少なくとも気体の前記CO
2
冷媒を前記ハウジング内から回収する、請求項4に記載のモータシステム。
【請求項7】
前記第1冷媒供給通路と前記第2冷媒供給通路は、前記ハウジングを貫通して延びる主冷媒供給通路から分岐するように形成されている、請求項1に記載のモータシステム。
【請求項8】
前記シール部材は、前記貫通孔を取り囲むように前記シール室に固定された環状の固定シール部材と、前記ロータシャフトに固定された環状の回転シール部材と、を備え、
前記ロータシャフトの回転時に、前記固定シール部材と前記回転シール部材は摺動する、請求項1に記載のモータシステム。
発明の詳細な説明
【技術分野】
【0001】
本発明は、モータシステムに関し、特に滑り軸受を有するモータシステムに関する。
続きを表示(約 2,300 文字)
【背景技術】
【0002】
従来、電気モータのロータシャフトは、転がり軸受や滑り軸受によって支持されるように構成される。例えば、特許文献1に記載の電気モータでは、ロータシャフトは、転がり軸受によって支持されている。
【先行技術文献】
【特許文献】
【0003】
特開2023-17291号公報
【発明の概要】
【発明が解決しようとする課題】
【0004】
一般に、電気モータの回転速度が高速になると(例えば、30,000rmp超)、転がり軸受は転がり疲労が問題となる。これを回避するため、このような超高速回転モータでは、転がり軸受に代えて、オイル潤滑滑り軸受を採用してもよい。オイル潤滑滑り軸受では、オイルが滑り軸受に供給される。しかしながら、この場合、超高速回転モータでは、オイルが有する粘性に起因して、ロータシャフトの高速回転時における攪拌抵抗損失が問題となる。
【0005】
近年、車両などにおいて、環境に配慮して、冷凍サイクルで自然冷媒(例えばCO
2
冷媒など)を用いる技術が開発されている。CO
2
冷媒の冷凍サイクルでは、CO
2
冷媒は、圧力及び温度に応じて、気体、液体、気液混合、超臨界流体の4つの状態に変化する。
【0006】
そこで、本発明者は、滑り軸受において、オイルに代えてCO
2
冷媒を用いることを検討した。すなわち、CO
2
冷媒(超臨界流体)が滑り軸受の潤滑に用いられ、潤滑に用いられたCO
2
冷媒がコイル端の冷却に用いられる。この場合、コイル端で熱交換した後のCO
2
冷媒(気体)はオイルと比べて粘性が大幅に小さいため、このようなCO
2
冷媒の使用は、所定の粘性を有する液体のオイル冷媒と比べて、攪拌抵抗損失を極めて小さくすることができる。
【0007】
しかしながら、本発明者は、この場合、超臨界流体のCO
2
冷媒の一部が滑り軸受付近で気化してしまうと、CO
2
ガスが、ロータシャフトとハウジングとの間のシール部材から外部に漏れ出しまうという新たな解決課題を見出した。この課題に対応するため、液体用のシール部材ではなく気体用のシール部材(例えば、メカニカルシール)を採用してもよいが、この場合、装置構造が複雑で製造コストが高くなってしまう。
【0008】
本発明は、上述した従来技術の問題点を解決するためになされたものであり、CO
2
冷媒を潤滑に用いる滑り軸受を備えたモータシステムにおいて、ロータシャフトとハウジングとの間からCO
2
冷媒が漏れ出ることを抑制することが可能なモータシステムを提供することを目的とする。
【課題を解決するための手段】
【0009】
上記の目的を達成するために、本発明は、軸方向に延びるロータシャフトと、ロータシャフトを回転可能に支持する滑り軸受と、滑り軸受を保持するハウジングと、ハウジングから外部へ延びる前記ロータシャフトの端部とハウジングとの間をシールするシール部材と、を備えるモータシステムであって、ハウジングは、貫通孔によってハウジングの外部と連通するシール室にシール部材を収容すると共に、シール室とハウジングの内部空間とを連通する軸受室に滑り軸受を保持しており、モータシステムは、ハウジング及び滑り軸受を貫通して延びて、ロータシャフトに対する滑り軸受の摺動面に連通する第1冷媒供給通路を更に備え、滑り軸受は、第1冷媒供給通路を通して、滑り軸受とロータシャフトとの間の支持空間へ供給された超臨界流体のCO
2
冷媒によって潤滑されるように構成されており、モータシステムは、ハウジングを貫通して延びてシール室に開口し、超臨界流体のCO
2
冷媒をシール室に供給する第2冷媒供給通路を更に備えていることを特徴とする。
【0010】
このように構成された本発明では、モータシステムは、第1冷媒供給通路を介してCO
2
冷媒を滑り軸受とロータシャフトとの間の支持空間に供給すると共に、第2冷媒供給通路を介してCO
2
冷媒をシール室に供給することができる。支持空間に供給されたCO
2
冷媒は、滑り軸受の摺動面を潤滑し、その後、支持空間からハウジングの内部空間へ噴出する。CO
2
冷媒は、噴出時に膨張して低温低圧の気液混合状態となり、モータ内部を冷却することができる。一方、シール室に供給されたCO
2
冷媒は、第2冷媒供給通路及び支持空間の超臨界流体のCO
2
冷媒によって、温度上昇及び圧力低下が抑制された状態でシール室内に閉じ込められる。これにより、本発明では、シール室内でCO
2
冷媒のガス化が防止され、シール室内に超臨界流体のCO
2
冷媒が保持される。このため、本発明では、CO
2
冷媒を用いて滑り軸受の潤滑ができると共に、ロータシャフトとハウジングとの間のシール部材を通してCO
2
冷媒がハウジングの外部へ漏れ出ることを抑制することができる。
(【0011】以降は省略されています)
この特許をJ-PlatPat(特許庁公式サイト)で参照する
関連特許
マツダ株式会社
二次電池
15日前
マツダ株式会社
車両用駆動装置
23日前
マツダ株式会社
車両用駆動装置
23日前
マツダ株式会社
車両用駆動装置
23日前
マツダ株式会社
車両用駆動装置
23日前
マツダ株式会社
車両用駆動装置
23日前
マツダ株式会社
冷媒循環システム
17日前
マツダ株式会社
冷媒循環システム
17日前
マツダ株式会社
冷媒循環システム
17日前
マツダ株式会社
冷媒循環システム
17日前
マツダ株式会社
冷媒循環システム
17日前
マツダ株式会社
冷媒循環システム
17日前
マツダ株式会社
冷媒循環システム
17日前
マツダ株式会社
冷媒循環システム
17日前
マツダ株式会社
車両の下部車体構造
5日前
マツダ株式会社
車両の下部車体構造
1日前
マツダ株式会社
車両の下部車体構造
1日前
マツダ株式会社
車両の下部車体構造
1日前
マツダ株式会社
車両の下部車体構造
1日前
マツダ株式会社
モータ軸受システム
5日前
マツダ株式会社
モータ軸受システム
5日前
マツダ株式会社
車両の下部車体構造
5日前
マツダ株式会社
車両の下部車体構造
5日前
マツダ株式会社
車両運転支援システム
5日前
マツダ株式会社
車両運転支援システム
1日前
マツダ株式会社
車両運転支援システム
5日前
マツダ株式会社
樹脂発泡体及びシート
16日前
マツダ株式会社
車両運転支援システム
15日前
マツダ株式会社
車両運転支援システム
15日前
マツダ株式会社
車両用サンシェード装置
9日前
マツダ株式会社
車両用サンシェード装置
9日前
マツダ株式会社
車両用サンシェード装置
9日前
マツダ株式会社
車両用サンシェード装置
9日前
マツダ株式会社
積層塗膜及びその形成方法
9日前
マツダ株式会社
エンジンの排気バルブ制御装置
1日前
マツダ株式会社
積層鉄心の製造装置及び製造方法
2日前
続きを見る
他の特許を見る