TOP
|
特許
|
意匠
|
商標
特許ウォッチ
Twitter
他の特許を見る
10個以上の画像は省略されています。
公開番号
2025138065
公報種別
公開特許公報(A)
公開日
2025-09-25
出願番号
2024036814
出願日
2024-03-11
発明の名称
車両用サンシェード装置
出願人
マツダ株式会社
代理人
個人
,
個人
,
個人
,
個人
主分類
B60J
3/00 20060101AFI20250917BHJP(車両一般)
要約
【課題】空調仕事によるエネルギー損失を低減し、車両の航続距離を延ばすことが可能な車両用サンシェードを提供する。
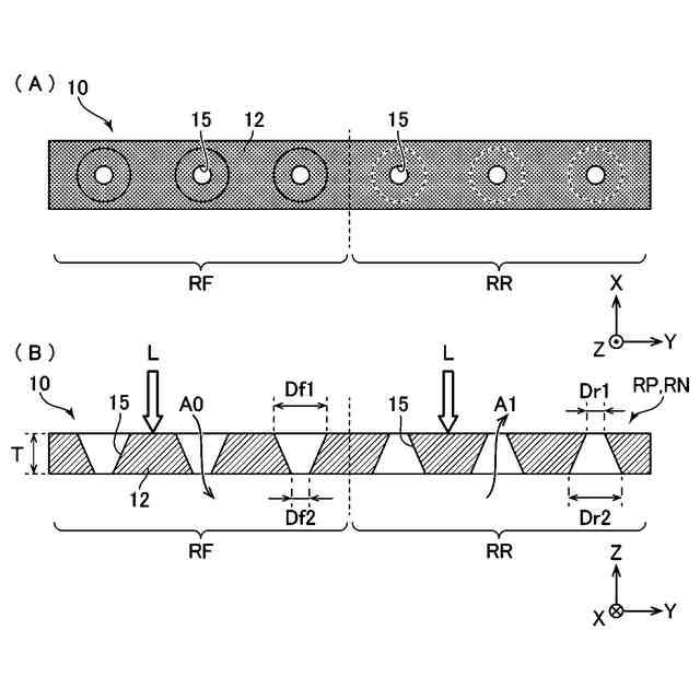
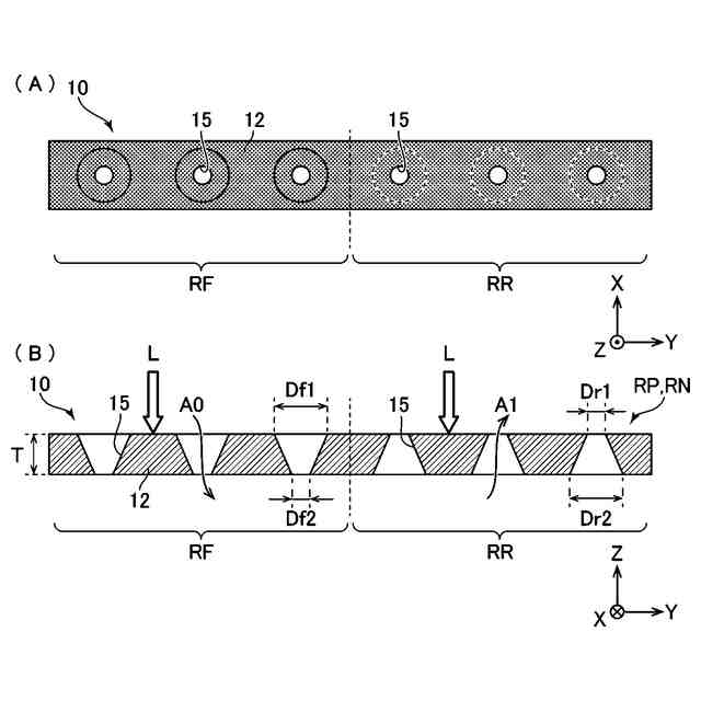
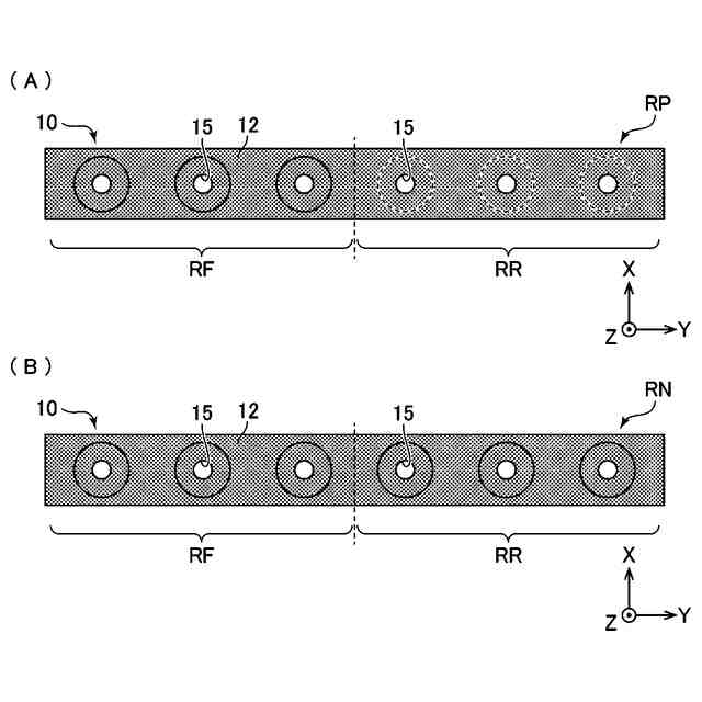
【解決手段】本発明による車両用サンシェード装置100は、車両1のルーフ2のウインドウ枠3の開口部3aを閉じる閉位置とウインドウ枠3の開口部3aを開放する開位置との間で移動可能な開閉式のウインドウガラス4と、ウインドウ枠3の開口部3aを覆うように車両1内に配置されるシェード部10と、を備え、シェード部10は、所定の厚みTを有するシート状のシェード母材12と、母材12を貫通する複数の換気孔15と、を有し、シェード部10は、平面視において、車両前方領域部RFと、車両後方領域部RRと、を有し、母材12の上面の換気孔の開口面積が、車両前方領域部RFよりも車両後方領域部RRにおいて小さく形成されている。
【選択図】図5
特許請求の範囲
【請求項1】
車両用サンシェード装置であって、
車両のルーフのウインドウ枠の開口部を閉じる閉位置と前記ウインドウ枠の開口部を開放する開位置との間で移動可能な開閉式のウインドウガラスと、
前記ウインドウ枠の開口部を覆うように車両内に配置されるシェード部と、を備え、
前記シェード部は、所定の厚みを有するシート状の母材と、前記母材を貫通する複数の換気孔と、を有し、
前記シェード部は、平面視において、車両前方領域部と、車両後方領域部と、を有し、前記母材の上面の前記換気孔の開口面積が、前記車両前方領域部よりも前記車両後方領域部において小さく形成されている、車両用サンシェード装置。
続きを表示(約 890 文字)
【請求項2】
前記車両前方領域部は、少なくとも前記車両の運転席及び/又は助手席の上方に設けられ、前記車両後方領域部は、少なくとも前記車両の後部座席の上方に設けられる、請求項1に記載の車両用サンシェード装置。
【請求項3】
前記換気孔は、前記車両後方領域部において、前記母材の上面の開口面積が、前記母材の下面の開口面積よりも小さく形成されている、請求項1に記載の車両用サンシェード装置。
【請求項4】
前記換気孔は、前記車両前方領域部において、前記母材の上面の開口面積が、前記母材の下面の開口面積よりも大きく形成されている、請求項1に記載の車両用サンシェード装置。
【請求項5】
前記換気孔は、多角錐台又は円錐台の形状を有する、請求項3又は4に記載の車両用サンシェード装置。
【請求項6】
前記換気孔は、前記車両前方領域部と前記車両後方領域部において、単位面積あたりで略同じ個数だけ形成されている、請求項1に記載の車両用サンシェード装置。
【請求項7】
前記母材は、前記車両前方領域部よりも前記車両後方領域部において、前記母材の厚みが薄くなるように形成されている、請求項1に記載の車両用サンシェード装置。
【請求項8】
前記換気孔の開口面積は、前記母材の厚みが薄いほど、小さくなるように形成されている、請求項7に記載の車両用サンシェード装置。
【請求項9】
前記車両は、少なくとも運転席と助手席とを有し、
前記シェード部は、平面視において、前記運転席の上方で前記車両の前後方向に延びる運転席領域部及び前記助手席の上方で前記車両の前後方向に延びる助手席領域部を含む乗員領域部と、前記運転席領域部と前記助手席領域部との間で前記車両の前後方向に延びる非乗員領域部と、を有し、
前記換気孔は、前記母材の上面の開口面積が、前記非乗員領域部の前記車両前方領域部と前記車両後方領域部では略同じ開口面積に形成されている、請求項1に記載の車両用サンシェード装置。
発明の詳細な説明
【技術分野】
【0001】
本発明は、車両用サンシェード装置に係り、特に、開閉可能なウインドウガラスを有する車両に設けられる車両用サンシェード装置に関する。
続きを表示(約 1,900 文字)
【背景技術】
【0002】
近年、内燃機関の代わりに電気モータを駆動源とする電気自動車の開発が進められている。近年の電気自動車の開発課題の1つは、航続距離を延ばすことである。これを解決するには、例えば、消費可能なエネルギーを大量に搭載するように、大容量の蓄電池を車両に搭載することが考えられる。しかしながら、例えば、多数の蓄電池を搭載すると、車重が増加すると共に、製造コストも増大するという問題が生じる。
【0003】
これに対して、本発明者は、車両のエネルギー損失を低減する観点で開発を進め、種々のエネルギー損失のうち、空調仕事によるエネルギー損失に着目した。すなわち、空調仕事を低減するためには、車室温度を下げる場合、外気と内気との間の換気や車室内に差し込む日射量の調整により、空調装置の作動を抑制することが望ましい。
【0004】
一方、ウインドウガラスを通して車両内に差し込む日射量を低減するため、車両にサンシェードを設ける技術が知られている。例えば、特許文献1には、ドアウインドウに設けられたサンシェードが開示されており、このサンシェードでは、視認性を向上させるために、シート状の母材に多数の貫通孔が形成され、さらに母材の車外側面に金属皮膜が形成されている。
【先行技術文献】
【特許文献】
【0005】
特開2009-292297号公報
【発明の概要】
【発明が解決しようとする課題】
【0006】
しかしながら、特許文献1のシェードでは、ある程度までは太陽光が車内へ差し込むことを抑制できるが、シェードにより車室内の換気が抑制されてしまう。したがって、車両において、単にウインドウガラスにサンシェードを設けても、空調仕事によるエネルギー損失を低減し、航続距離を延ばすことは困難である。
【0007】
そこで、本発明は、上述した問題を解決するためになされたものであり、空調仕事によるエネルギー損失を低減し、車両の航続距離を延ばすことが可能な車両用のサンシェード装置を提供することを目的とする。
【課題を解決するための手段】
【0008】
上述した課題を解決するために、本発明は、車両用サンシェード装置であって、車両のルーフのウインドウ枠の開口部を閉じる閉位置と前記ウインドウ枠の開口部を開放する開位置との間で移動可能な開閉式のウインドウガラスと、ウインドウ枠の開口部を覆うように車両内に配置されるシェード部と、を備え、シェード部は、所定の厚みを有するシート状の母材と、母材を貫通する複数の換気孔と、を有し、シェード部は、平面視において、車両前方領域部と、車両後方領域部と、を有し、母材の上面の換気孔の開口面積が、車両前方領域部よりも車両後方領域部において小さく形成されていることを特徴としている。
【0009】
このように構成された本発明によれば、車両前方領域部よりも車両後方領域部の方が、母材の上面における換気孔の開口面積が小さく形成されているので、車両後方領域部よりも車両前方領域部から外気を優先的に車室内に引き込み、車室内において内気を前方から後方に回り込ませて、車両後方領域部から車外へ排出させる空気の流れを形成することが可能となり、換気効率を向上させることができる。また、従来、車室内前方では、運転者等の乗員の頭上付近にあるフレーム等によって入射光がある程度遮られるため、前部座席の乗員に入射光が当たり難かったが、車室内後方ではフレーム等による光遮蔽がないため、後部座席の乗員に入射光が当たり易かった。しかしながら、本発明では、車両後方領域部で母材の上面における換気孔の開口面積を小さく形成して、入射光が車室内に入射することを抑制することにより、後部座席の乗員にも入射光を当たり難くしている。これにより、乗員は、本発明の車両用サンシェード装置を利用することにより、空調装置の作動を抑制することが可能となり、空調仕事によるエネルギー損失を低減し、車両の航続距離を延ばすことができる。
【0010】
本発明において、好ましくは、車両前方領域部は、少なくとも前記車両の運転席及び/又は助手席の上方に設けられ、車両後方領域部は、少なくとも車両の後部座席の上方に設けられる。このように構成された本発明によれば、車室内において、車両前方領域部から前方の運転者に向けて外気が上方から取り込まれ、後方の乗員に向けて内気が移動した後、内気が後部乗員の上方から車両後方領域部を通して車外へ排出される。
(【0011】以降は省略されています)
この特許をJ-PlatPat(特許庁公式サイト)で参照する
関連特許
マツダ株式会社
二次電池
12日前
マツダ株式会社
排気浄化装置
28日前
マツダ株式会社
排気浄化装置
28日前
マツダ株式会社
車両用駆動装置
20日前
マツダ株式会社
車両用駆動装置
20日前
マツダ株式会社
車両用駆動装置
20日前
マツダ株式会社
車両用駆動装置
20日前
マツダ株式会社
車両用駆動装置
20日前
マツダ株式会社
冷媒循環システム
14日前
マツダ株式会社
冷媒循環システム
14日前
マツダ株式会社
冷媒循環システム
14日前
マツダ株式会社
冷媒循環システム
14日前
マツダ株式会社
冷媒循環システム
14日前
マツダ株式会社
冷媒循環システム
14日前
マツダ株式会社
冷媒循環システム
14日前
マツダ株式会社
エンジンシステム
29日前
マツダ株式会社
エンジンシステム
29日前
マツダ株式会社
燃料改質システム
1か月前
マツダ株式会社
冷媒循環システム
14日前
マツダ株式会社
車両の下部車体構造
2日前
マツダ株式会社
車両の下部車体構造
2日前
マツダ株式会社
モータ軸受システム
2日前
マツダ株式会社
モータ軸受システム
2日前
マツダ株式会社
車両の下部車体構造
2日前
マツダ株式会社
車両運転支援システム
12日前
マツダ株式会社
車両運転支援システム
2日前
マツダ株式会社
車両運転支援システム
2日前
マツダ株式会社
車両運転支援システム
12日前
マツダ株式会社
ドライバ状態推定装置
1か月前
マツダ株式会社
ドライバ状態推定装置
1か月前
マツダ株式会社
樹脂発泡体及びシート
13日前
マツダ株式会社
車両用サンシェード装置
6日前
マツダ株式会社
車両用サンシェード装置
6日前
マツダ株式会社
車両の燃料改質システム
1か月前
マツダ株式会社
車両用サンシェード装置
6日前
マツダ株式会社
車両の燃料改質システム
1か月前
続きを見る
他の特許を見る