TOP
|
特許
|
意匠
|
商標
特許ウォッチ
Twitter
他の特許を見る
公開番号
2025115710
公報種別
公開特許公報(A)
公開日
2025-08-07
出願番号
2024010306
出願日
2024-01-26
発明の名称
静電チャック
出願人
TOTO株式会社
代理人
個人
,
個人
,
個人
,
個人
主分類
H01L
21/683 20060101AFI20250731BHJP(基本的電気素子)
要約
【課題】処理中における基板の面内温度分布を十分に均一化することのできる静電チャック、を提供する。
【解決手段】静電チャック10は、誘電体基板100と、複数のシールリング150と、
複数のドット113と、を備える。複数のシールリング150は、最も外周端に配置された第1シールリング151と、第1シールリング151の内側に配置された第2シールリング152と、を含む。上面視において、第1シールリング151と第2シールリング152との間の領域は、第1シールリング151側の第1領域D1と、第2シールリング152側の第2領域D2と、を含む。第1領域D1において、第1領域D1に配置された全てのドット113の総面積が占めている割合は、第2領域D2において、第2領域D2に配置された全てのドット113の総面積が占めている割合、よりも高い。
【選択図】図2
特許請求の範囲
【請求項1】
被吸着物が載置される載置面を有する誘電体基板と、
前記誘電体基板に形成された環状の突起であって、その先端面が前記載置面の一部となっている複数のシールリングと、
前記誘電体基板に形成された突起であって、その先端面が前記載置面の一部となっている複数のドットと、を備え、
複数の前記シールリングは、
前記載置面のうち最も外周端となる位置に配置された第1シールリングと、
前記第1シールリングとの間に他の前記シールリングを挟むことなく、前記第1シールリングの内側となる位置に配置された第2シールリングと、を含み、
前記載置面に対し垂直な方向から見た場合において、
前記第1シールリングと前記第2シールリングとの間の領域は、前記第1シールリング側の第1領域と、前記第2シールリング側の第2領域と、を含み、
前記第1領域において、前記第1領域に配置された全ての前記ドットの総面積が占めている割合が、
前記第2領域において、前記第2領域に配置された全ての前記ドットの総面積が占めている割合、よりも高いことを特徴とする静電チャック。
続きを表示(約 220 文字)
【請求項2】
前記載置面に対し垂直な方向から見た場合において、全ての前記ドットの面積は互いに同じであり、
前記第1領域における前記ドットの配置密度が、
前記第2領域における前記ドットの配置密度よりも高いことを特徴とする、請求項1に記載の静電チャック。
【請求項3】
前記第1シールリングの表面粗さが、前記第2シールリングの表面粗さよりも大きいことを特徴とする、請求項1に記載の静電チャック。
発明の詳細な説明
【技術分野】
【0001】
本発明は静電チャックに関する。
続きを表示(約 1,600 文字)
【背景技術】
【0002】
例えばエッチング装置等の半導体製造装置には、処理の対象となるシリコンウェハ等の基板を吸着し保持するための装置として、静電チャックが設けられる。下記特許文献1に記載されているように、静電チャックは、吸着電極が設けられた誘電体基板と、誘電体基板を支持するベースプレートと、を備え、これらが互いに接合された構成を有する。吸着電極に電圧が印加されると静電力が生じ、誘電体基板上に載置された基板が吸着され保持される。
【0003】
誘電体基板と基板との間の空間には、温度調整用の不活性ガスが供給される。当該空間は、誘電体基板に複数設けられた環状の突起によって、複数に分けられている。それぞれの空間における不活性ガスの圧力を個別に調整することで、処理中における基板の面内温度分布を均一化することができる。
【先行技術文献】
【特許文献】
【0004】
特開2010-135851号公報
【発明の概要】
【発明が解決しようとする課題】
【0005】
エッチング等の処理が行われているときには、基板のうち特に外周側の部分の温度が上昇しやすい。温度上昇の程度によっては、不活性ガスの圧力を調整しただけでは、基板の面内温度分布を十分に均一化することが難しい場合も生じ得る。
【0006】
本発明はこのような課題に鑑みてなされたものであり、その目的は、処理中における基板の面内温度分布を十分に均一化することのできる静電チャック、を提供することにある。
【課題を解決するための手段】
【0007】
上記課題を解決するために、本発明に係る静電チャックは、被吸着物が載置される載置面を有する誘電体基板と、誘電体基板に形成された環状の突起であって、その先端面が載置面の一部となっている複数のシールリングと、誘電体基板に形成された突起であって、その先端面が載置面の一部となっている複数のドットと、を備える。複数のシールリングは、載置面のうち最も外周端となる位置に配置された第1シールリングと、第1シールリングとの間に他のシールリングを挟むことなく、第1シールリングの内側となる位置に配置された第2シールリングと、を含む。載置面に対し垂直な方向から見た場合において、第1シールリングと第2シールリングとの間の領域は、第1シールリング側の第1領域と、第2シールリング側の第2領域と、を含み、第1領域において、第1領域に配置された全てのドットの総面積が占めている割合が、第2領域において、第2領域に配置された全てのドットの総面積が占めている割合、よりも高い。
【0008】
このような構成の静電チャックにおいて、基板の外周側部分の直下にある第1領域では、その内側の第2領域に比べて、固体接触に伴う基板からの伝熱が生じやすくなっている。このため、基板のうち、処理中において温度の上昇しやすい外周側部分を、固体接触に伴う伝熱によって効率的に冷却することができる。その結果、処理中における基板の面内温度分布を十分に均一化することが可能となる。
【発明の効果】
【0009】
本発明によれば、処理中における基板の面内温度分布を十分に均一化することのできる静電チャック、を提供することができる。
【図面の簡単な説明】
【0010】
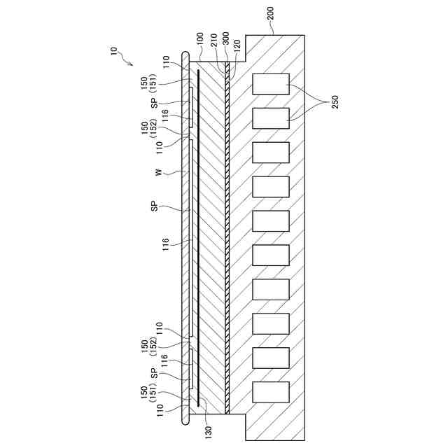
本実施形態に係る静電チャックの構成を模式的に示す断面図である。
図1の静電チャックが備える誘電体基板の、載置面側の構成を示す図である。
変形例に係る誘電体基板の、載置面側の構成を示す図である。
他の変形例に係る誘電体基板の、載置面側の構成を示す図である。
【発明を実施するための形態】
(【0011】以降は省略されています)
この特許をJ-PlatPat(特許庁公式サイト)で参照する
関連特許
TOTO株式会社
浴室
22日前
TOTO株式会社
浴室
22日前
TOTO株式会社
浴室床
1か月前
TOTO株式会社
水栓装置
13日前
TOTO株式会社
便器装置
22日前
TOTO株式会社
複合材料
14日前
TOTO株式会社
水栓装置
13日前
TOTO株式会社
水栓装置
13日前
TOTO株式会社
水栓装置
13日前
TOTO株式会社
浴槽装置
1か月前
TOTO株式会社
浴槽装置
1か月前
TOTO株式会社
水栓装置
13日前
TOTO株式会社
水栓装置
13日前
TOTO株式会社
水栓装置
13日前
TOTO株式会社
水栓装置
13日前
TOTO株式会社
水栓装置
13日前
TOTO株式会社
便座装置
22日前
TOTO株式会社
浴槽装置
1か月前
TOTO株式会社
衛生陶器
1か月前
TOTO株式会社
衛生陶器
1か月前
TOTO株式会社
パッキン
1か月前
TOTO株式会社
洗い場床
2か月前
TOTO株式会社
排水管継手
1か月前
TOTO株式会社
トイレ装置
22日前
TOTO株式会社
トイレ装置
22日前
TOTO株式会社
トイレ装置
22日前
TOTO株式会社
水洗大便器
22日前
TOTO株式会社
水洗大便器
22日前
TOTO株式会社
水洗大便器
1か月前
TOTO株式会社
水洗大便器
1か月前
TOTO株式会社
水洗大便器
22日前
TOTO株式会社
水洗大便器
1か月前
TOTO株式会社
水洗大便器
1か月前
TOTO株式会社
水洗大便器
22日前
TOTO株式会社
排水管継手
1か月前
TOTO株式会社
水洗大便器
1か月前
続きを見る
他の特許を見る