TOP
|
特許
|
意匠
|
商標
特許ウォッチ
Twitter
他の特許を見る
公開番号
2025117096
公報種別
公開特許公報(A)
公開日
2025-08-12
出願番号
2024011779
出願日
2024-01-30
発明の名称
静的コーン試験装置と静的コーン試験方法
出願人
大成建設株式会社
,
株式会社地盤試験所
代理人
個人
,
個人
主分類
E02D
33/00 20060101AFI20250804BHJP(水工;基礎;土砂の移送)
要約
【課題】大掛かりな準備作業を不要として、経済的かつ効率的に地下構造物の内部から静的コーン試験を実施することのできる、静的コーン試験装置と静的コーン試験方法を提供する。
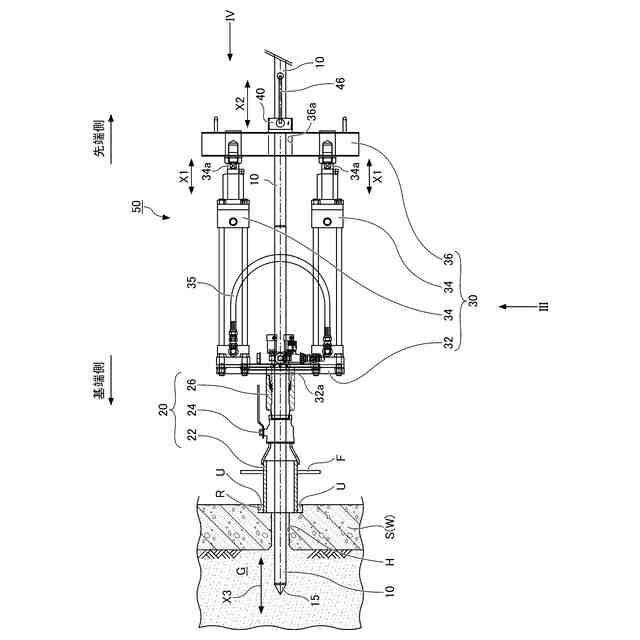
【解決手段】コーンの形状を呈するプローブ15を、構造物Sの内部から静的に地盤に圧入して地盤特性を測定する、静的コーン試験装置50であり、構造物Sに設けられている貫通孔Hに挿通され、先端にプローブ15を備えているロッド10と、構造物Sに固定される固定部20と、固定部20に基端側が固定され、固定部20から反力を得て伸縮する伸縮部30と、伸縮部30の先端側に固定され、ロッド10の一部を把持する把持部40とを有し、把持部40がロッド10の一部を把持した状態で伸縮部30が縮むことにより、ロッド10の先端のプローブ15を地盤Gに圧入する。
【選択図】図2
特許請求の範囲
【請求項1】
コーンの形状を呈するプローブを、構造物の内部から静的に地盤に圧入して地盤特性を測定する、静的コーン試験装置であって、
前記構造物に設けられている貫通孔に挿通され、先端に前記プローブを備えている、ロッドと、
前記構造物に固定される、固定部と、
前記固定部に基端側が固定され、該固定部から反力を得て伸縮する、伸縮部と、
前記伸縮部の先端側に固定され、前記ロッドの一部を把持する、把持部とを有し、
前記把持部が前記ロッドの一部を把持した状態で前記伸縮部が縮むことにより、該ロッドの先端の前記プローブを地盤に圧入することを特徴とする、静的コーン試験装置。
続きを表示(約 1,400 文字)
【請求項2】
前記伸縮部は、
前記固定部に取り付けられて、前記ロッドが挿通される第1挿通孔を備えている、不動部材と、
前記不動部材に取り付けられる油圧シリンダと、
前記油圧シリンダのピストンに取り付けられ、該ピストンとともにスライドし、前記ロッドが挿通される第2挿通孔を備えている、可動部材とを備え、
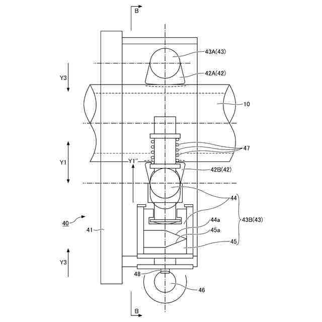
前記可動部材に対して前記把持部が取り付けられていることを特徴とする、請求項1に記載の静的コーン試験装置。
【請求項3】
前記把持部は、
架構フレームと、
前記ロッドを把持する一対のカムブロックと、
前記一対のカムブロックにそれぞれ固定される一対のカムシャフトと、
操作ハンドルとを有し、
一方のカムシャフトは前記架構フレームに対して固定され、他方のカムシャフトは前記架構フレームに対してスライド自在に取り付けられており、
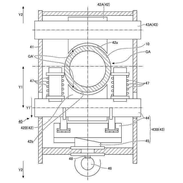
前記操作ハンドルの操作により、前記他方のカムシャフトとこれに対応する前記カムブロックがスライドされるようになっていることを特徴とする、請求項1に記載の静的コーン試験装置。
【請求項4】
前記他方のカムシャフトは、前記カムブロックに固定されている第1カムシャフトと、前記操作ハンドルの回動軸を中心とした回動の際に同期して回動する第2カムシャフトとを備え、
前記第1カムシャフトと前記第2カムシャフトの双方の第1当接面と第2当接面が相補的なテーパー面を有しており、
前記操作ハンドルの回動により、
前記一対のカムシャフトが離れるように前記他方のカムシャフトがスライドして、前記第1当接面と前記第2当接面が当接した際には、前記一対のカムブロックによる前記ロッドの把持が解除され、
前記一対のカムシャフトが近接するように前記他方のカムシャフトがスライドして、前記第1当接面と前記第2当接面が当接していない際には、前記一対のカムブロックが前記ロッドを把持することを特徴とする、請求項3に記載の静的コーン試験装置。
【請求項5】
前記構造物が、シールドトンネルを構成する鋼製セグメントもしくはコンクリート系セグメント、鉄筋コンクリート製もしくは鋼製の地下構造物であることを特徴とする、請求項1乃至3のいずれか一項に記載の静的コーン試験装置。
【請求項6】
前記構造物がシールド掘進機であることを特徴とする、請求項1乃至3のいずれか一項に記載の静的コーン試験装置。
【請求項7】
コーンの形状を呈するプローブを、構造物の内部から静的に地盤に圧入して地盤特性を測定する、静的コーン試験方法であって、
先端に前記プローブを備えたロッドと、固定部と、伸縮部と、把持部とにより構成される静的コーン試験装置の該固定部を前記構造物に固定し、
前記固定部に対して前記伸縮部の基端側を固定し、
前記ロッドの一部を把持する前記把持部を前記伸縮部の先端側に固定するとともに、該ロッドの圧入方向先端側を前記構造物に設けられている貫通孔に挿通する、準備工程と、
前記把持部により前記ロッドの一部を把持させた状態で前記伸縮部を縮ませ、前記プローブを地盤に圧入して該地盤の地盤特性を測定する、圧入測定工程とを有することを特徴とする、静的コーン試験方法。
発明の詳細な説明
【技術分野】
【0001】
本発明は、静的コーン試験装置と静的コーン試験方法に関する。
続きを表示(約 2,700 文字)
【背景技術】
【0002】
地質調査には、スウェーデン式サウンディング試験(SWS)や静的コーン貫入試験(CPT:Cone Penetration Test)をはじめとして、様々な調査方法が存在する。
このうち、静的コーン貫入試験は、コーンの形状を呈するプローブを、地上から静的(例えば20mm/sec程度の速度)に地盤に圧入して地盤特性(土質区分、N値、微細粒分含有率等)を測定する、地盤工学会規準(JGS1435-2012)に基づいた試験方法であり、先端にあるプローブの抵抗と間隙水圧(土粒子間にある水の圧力)、プローブ自体の周面摩擦の3成分を同時に測定する試験である。
静的コーン貫入試験は電気式静的コーン貫入試験と称することもでき、地盤の支持力や土質分類、液状化判定など、様々な地盤情報を同時に得ることができる。
また、ボーリング調査や室内土質試験と比較して、より簡便に実施することが可能であり、原地盤の情報を直接的かつ連続的に測定することができ、信頼性の高い調査方法であることから、欧州や北米等においても一般に適用されている調査方法となっている。
【0003】
静的コーン試験は地上からの調査を対象としていることから、杭打ち機をベースに改良したベースマシンを地上に設置して試験装置を構成するのが一般的である。この試験装置では、先端にプローブを備えているロッドをベースマシンに装備されたハンマーヘッドに取り付け、ハンマーヘッドによってロッドを地盤に圧入する際に、例えば5乃至8tもの貫入力(土質によって様々に変化する)が生じ、この貫入力に抗するべく、地盤に対してベースマシンをスクリューアンカー(アンカーの一例)にて固定する措置が講じられている。
通常は地上から実施される静的コーン試験を仮に地下構造物の内部から実施する場合には、上記するアンカーの設置に際して、当初から想定されていない仮設開口を地下構造物に設ける必要が生じる。そのため、地下構造物である地下躯体やシールドセグメント、シールド掘進機に対して仮設開口を設けることができない事態が生じることもあり、このような場合は静的コーン試験を実施できないことになる。
また、静的コーン試験において上記するベースマシンを要することから、地下構造物内へのベースマシンの設置やアンカーの設置等、準備作業が極めて大掛かりなものとなることから、不経済な試験方法となり、この観点からも地下構造物の内部からの静的コーン試験の実施は不適となり得る。
【0004】
以上のことから、地下構造物の内部から静的コーン試験を行うに当たり、大掛かりな準備作業を不要として、経済的に実施することのできる、静的コーン試験装置と静的コーン試験方法が望まれる。
【0005】
ここで、特許文献1には、掘進機により形成されるトンネル内に埋設される埋設管またはセグメントリングの外周地山を調査する、トンネル外周地山の調査方法が提案されている。
この調査方法は、埋設管またはセグメントリングに内部から外部へ貫通するように設けられた貫通孔の内部側に、弁開状態で調査用棒材を挿通可能な止水バルブを取り付け、弁閉状態とした止水バルブの内部側に、調査用棒材を挿通可能な貫通孔と調査用棒材の外周を止水可能なパッキング材を有するパッキング治具を接続し、このパッキング治具に調査用棒材の先端を弁閉状態の止水バルブの手前まで挿入し、パッキング治具により止水した状態で止水バルブを開き、調査用棒材を止水バルブの内部を貫通させて地山側へ挿入する、トンネル外周地山の調査方法である。
【先行技術文献】
【特許文献】
【0006】
特開2009-138489号公報
【発明の概要】
【発明が解決しようとする課題】
【0007】
特許文献1に記載のトンネル外周地山の調査方法によれば、推進工法やシールド工法の埋設管やトンネルセグメント外周の余掘り量や土質などの調査において、止水が確実で、簡易・低コストの調査が可能になるとしている。
しかしながら、上記する課題、すなわち、地下構造物の内部から静的コーン試験を行うに当たり、大掛かりな準備作業を不要として、経済的に実施することのできる試験装置や試験方法を提供するものではない。
【0008】
本発明は、大掛かりな準備作業を不要として、経済的かつ効率的に地下構造物の内部から静的コーン試験を実施することのできる、静的コーン試験装置と静的コーン試験方法を提供することを目的としている。
【課題を解決するための手段】
【0009】
前記目的を達成すべく、本発明による静的コーン試験装置の一態様は、
コーンの形状を呈するプローブを、構造物の内部から静的に地盤に圧入して地盤特性を測定する、静的コーン試験装置であって、
前記構造物に設けられている貫通孔に挿通され、先端に前記プローブを備えている、ロッドと、
前記構造物に固定される、固定部と、
前記固定部に基端側が固定され、該固定部から反力を得て伸縮する、伸縮部と、
前記伸縮部の先端側に固定され、前記ロッドの一部を把持する、把持部とを有し、
前記把持部が前記ロッドの一部を把持した状態で前記伸縮部が縮むことにより、該ロッドの先端の前記プローブを地盤に圧入することを特徴とする。
【0010】
本態様によれば、構造物に固定される固定部から反力を得て伸縮部が伸縮し、伸縮部に固定される把持部により把持されて先端にプローブを備えたロッドが伸縮部の縮みによって地盤に圧入されることにより、ベースマシンやアンカー等の設置に起因する大掛かりな準備作業を不要にでき、経済的かつ効率的に、地下構造物の内部から静的コーン試験を実施することが可能になる。
ここで、本態様の静的コーン試験装置が適用される構造物(地下構造物)には、RC(Reinforced Concrete)造やS(Steel)造、SRC(Steel Reinforced Concrete)造の地下構造物が含まれ、地下の道路トンネルや鉄道トンネル(例えばシールドトンネル)、鉄道駅舎、ビルやマンション等の地下室等の施工済みの構造物の他、シールドトンネルを施工中のシールド掘進機等も含まれる。
(【0011】以降は省略されています)
この特許をJ-PlatPat(特許庁公式サイト)で参照する
関連特許
大成建設株式会社
新設構造物
1か月前
大成建設株式会社
木質複合構造
19日前
大成建設株式会社
ペレット製造装置
6日前
大成建設株式会社
摩擦制振ダンパー
13日前
大成建設株式会社
気体貯蔵放出材料
1か月前
大成建設株式会社
既存建物の解体方法
5日前
大成建設株式会社
木材性状推定システム
今日
大成建設株式会社
浮体式基礎の製作方法
1か月前
大成建設株式会社
床版接合部の設計方法
9日前
大成建設株式会社
杭の施工方法および杭
9日前
大成建設株式会社
推定装置および推定方法
1か月前
大成建設株式会社
推定装置および推定方法
1か月前
大成建設株式会社
浚渫用施設および浚渫方法
28日前
大成建設株式会社
炭酸カルシウムの製造方法
1か月前
大成建設株式会社
建物の健全性評価システム
2か月前
大成建設株式会社
無線給電システム及び移動体
1か月前
大成建設株式会社
木材縦弾性係数推定システム
今日
大成建設株式会社
試料採取装置および特性評価方法
1か月前
大成建設株式会社
地下水排水構造と地下水排水方法
5日前
大成建設株式会社
地震時要救助者位置推定システム
2か月前
大成建設株式会社
到達立坑における掘進機の回収方法
9日前
大成建設株式会社
異種コンクリートの切替り特定方法
5日前
大成建設株式会社
汚泥処理方法および汚泥処理システム
1か月前
地中空間開発株式会社
トンネル掘削機
1か月前
大成建設株式会社
水槽構造物および水槽構造物の施工方法
28日前
大成建設株式会社
凍結地盤の掘削土の排土装置と排土方法
5日前
大成建設株式会社
シールド到達構造およびシールド到達方法
28日前
大成建設株式会社
シールド工事用充填材、及びシールド工法
2か月前
大成建設株式会社
静的コーン試験装置と静的コーン試験方法
1か月前
大成建設株式会社
既設トンネルの坑口補強構造と坑口補強方法
5日前
大成建設株式会社
浮体式基礎の製作方法及び洋上風車の製作方法
1か月前
大成建設株式会社
水中不分離性モルタル組成物、及び、その部材
28日前
大成建設株式会社
吊荷向き制御システムおよびブレード設置方法
20日前
大成建設株式会社
浮体式基礎の製作方法及び洋上風車の製作方法
1か月前
大成建設株式会社
ランドマーク、位置推定方法、およびプログラム
2か月前
大成建設株式会社
既設トンネルと分岐トンネルの接合構造と接合方法
5日前
続きを見る
他の特許を見る