TOP
|
特許
|
意匠
|
商標
特許ウォッチ
Twitter
他の特許を見る
10個以上の画像は省略されています。
公開番号
2025117646
公報種別
公開特許公報(A)
公開日
2025-08-13
出願番号
2024012487
出願日
2024-01-31
発明の名称
コネクタ
出願人
住友電装株式会社
代理人
個人
,
個人
主分類
H01R
13/187 20060101AFI20250805BHJP(基本的電気素子)
要約
【課題】規格を満たしつつ相手側第1端子の挿入圧を小さく抑制可能としたコネクタを提供すること。
【解決手段】コネクタは、相手側第1端子が挿入されつつ接続される第1端子と、相手側第2端子と接続される第2端子とを備える。第1端子は、端子本体の筒状部の内周面に沿って配置されるばね部材34を有し、ばね部材34は、径方向に弾性を有するとともに周方向に並設される複数の弾性片35と、複数の弾性片35の第1端部同士を連結する第1連結部36と、複数の弾性片35の第2端部同士を連結する第2連結部37とを有する。複数の弾性片35は、第2端子に相手側第2端子が接触していない状態において第1連結部36寄りの先行位置で相手側第1端子と押圧接触可能な先行接触片40と、第2端子に相手側第2端子が接触している状態において第1連結部36と第2連結部37との中間位置で相手側第1端子と押圧接触可能な中間接触片41とを含む。
【選択図】図5
特許請求の範囲
【請求項1】
相手側コネクタの相手側第1端子が第1軸線に沿って挿入されつつ接続される第1端子と、
前記相手側コネクタの相手側第2端子と接続される第2端子と、
前記第1端子及び前記第2端子を保持するコネクタハウジングと、
を備えるコネクタであって、
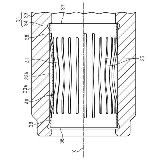
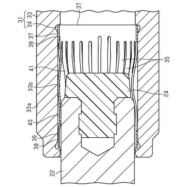
前記第1端子は、筒状部を有する端子本体と、前記筒状部の内周面に沿って配置されるばね部材とを有し、
前記ばね部材は、
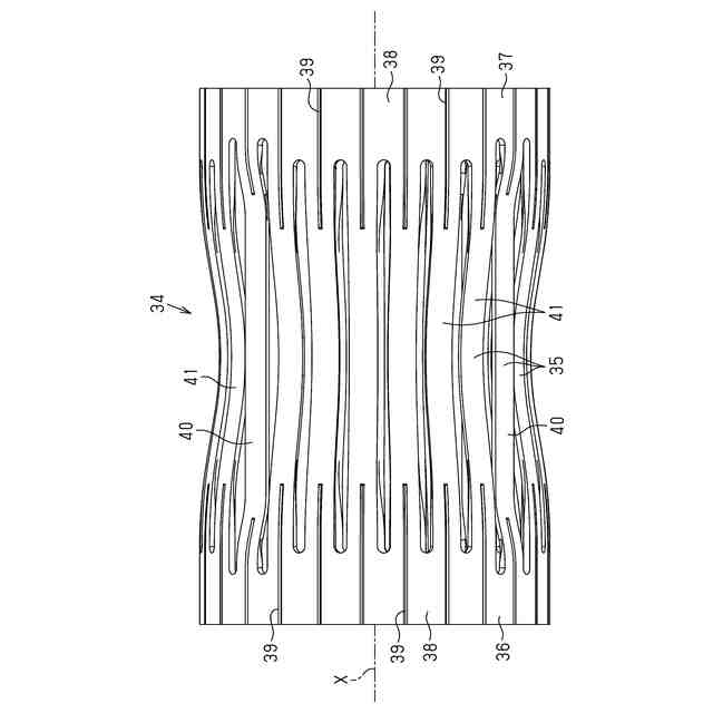
前記第1軸線を中心として径方向に弾性を有するとともに周方向に並設される複数の弾性片と、前記複数の弾性片の第1端部同士を連結する第1連結部と、前記複数の弾性片の第2端部同士を連結する第2連結部とを有し、
前記複数の弾性片は、
前記第2端子に前記相手側第2端子が接触していない状態において前記第1連結部寄りの先行位置で前記相手側第1端子と押圧接触可能な先行接触片と、前記第2端子に前記相手側第2端子が接触している状態において前記第1連結部と前記第2連結部との中間位置で前記相手側第1端子と押圧接触可能な中間接触片とを含む、
コネクタ。
続きを表示(約 260 文字)
【請求項2】
前記第1端子は、給電用端子であり、
前記第2端子は、信号用端子である、
請求項1に記載のコネクタ。
【請求項3】
前記先行接触片の数は、前記中間接触片の数よりも少ない、
請求項1に記載のコネクタ。
【請求項4】
前記先行接触片の数は3つである、
請求項3に記載のコネクタ。
【請求項5】
前記ばね部材は、前記第1軸線と直交する面を対称面とする面対称の形状に形成されている、
請求項1に記載のコネクタ。
発明の詳細な説明
【技術分野】
【0001】
本開示は、コネクタに関するものである。
続きを表示(約 2,500 文字)
【背景技術】
【0002】
従来、コネクタとしては、相手側コネクタの相手側端子が挿入されつつ接続される端子と、端子を保持するコネクタハウジングとを備えたものがある(例えば、特許文献1参照)。このコネクタの端子は、筒状部を有する端子本体と、筒状部の内周面に沿って配置されるばね部材とを有する。ばね部材は、相手側端子の径方向に弾性を有するとともに周方向に並設される複数の弾性片と、複数の弾性片の第1端部同士を連結する第1連結部と、複数の弾性片の第2端部同士を連結する第2連結部とを有する。そして、弾性片は、第1連結部と第2連結部との中間位置で径方向内側に突出するように湾曲しているため、第1連結部と第2連結部との中間位置で相手側端子と押圧接触可能となる。
【先行技術文献】
【特許文献】
【0003】
特開2011-204607号公報
【発明の概要】
【発明が解決しようとする課題】
【0004】
ところで、上記の端子が給電用端子である場合のコネクタ等では、さらに信号用端子を備える場合がある。この場合、例えば、相手側コネクタは、給電用端子に接続される相手側第1端子と、信号用端子に接続される相手側第2端子とを備える。そして、相手側コネクタが接続されている給電装置は、例えば、相手側第2端子が信号用端子に接続されていることに基づいて、相手側第1端子を介した給電用端子への給電を行うように構成される。このようなコネクタでは、アークの発生を防ぐために、相手側コネクタが嵌合される際、信号用端子に相手側第2端子が電気的に接続される前に、給電用端子に相手側第1端子を電気的に接続させるという規格を満たす必要がある。この規格を満たしたコネクタでは、給電用端子に相手側第1端子を挿入する際、及び給電用端子から相手側第1端子を抜く際のアークの発生が防止される。
【0005】
また、上記のようなコネクタにおいては、例えば、端子に施されている銀めっきの摩耗を抑えるためなどの理由から、相手側第1端子の挿入圧を小さく抑える構成とすることが好ましい。なお、端子に施されている銀めっきが摩耗すると、端子の母材が露出してしまう。そして、母材が露出することは、母材の腐食の原因となる。そして、母材が腐食することは、異常発熱の原因となる。
【0006】
本開示の目的は、規格を満たしつつ相手側第1端子の挿入圧を小さく抑制可能としたコネクタを提供することにある。
【課題を解決するための手段】
【0007】
本開示のコネクタは、相手側コネクタの相手側第1端子が第1軸線に沿って挿入されつつ接続される第1端子と、前記相手側コネクタの相手側第2端子と接続される第2端子と、前記第1端子及び前記第2端子を保持するコネクタハウジングと、を備えるコネクタであって、前記第1端子は、筒状部を有する端子本体と、前記筒状部の内周面に沿って配置されるばね部材とを有し、前記ばね部材は、前記第1軸線を中心として径方向に弾性を有するとともに周方向に並設される複数の弾性片と、前記複数の弾性片の第1端部同士を連結する第1連結部と、前記複数の弾性片の第2端部同士を連結する第2連結部とを有し、前記複数の弾性片は、前記第2端子に前記相手側第2端子が接触していない状態において前記第1連結部寄りの先行位置で前記相手側第1端子と押圧接触可能な先行接触片と、前記第2端子に前記相手側第2端子が接触している状態において前記第1連結部と前記第2連結部との中間位置で前記相手側第1端子と押圧接触可能な中間接触片とを含む。
【発明の効果】
【0008】
本開示のコネクタによれば、規格を満たしつつ相手側第1端子の挿入圧を小さく抑制できる。
【図面の簡単な説明】
【0009】
図1は、一実施形態におけるコネクタ及び相手側コネクタの一部断面斜視図である。
図2は、一実施形態におけるコネクタ及び相手側コネクタの一部断面斜視図である。
図3は、一実施形態におけるコネクタ及び相手側コネクタの一部断面斜視図である。
図4は、一実施形態における第1端子の分解斜視図である。
図5は、一実施形態におけるばね部材の側面図である。
図6は、一実施形態におけるばね部材の正面図である。
図7は、一実施形態における第1端子の一部断面正面図である。
図8は、図6の8-8線に沿った第1端子の断面図である。
図9は、一実施形態における第1端子と相手側第1端子の断面図である。
図10は、図6の10-10線に沿った第1端子の断面図である。
図11は、一実施形態における第1端子と相手側第1端子の断面図である。
【発明を実施するための形態】
【0010】
[本開示の実施形態の説明]
最初に本開示の実施態様を列記して説明する。
本開示のコネクタは、
[1]相手側コネクタの相手側第1端子が第1軸線に沿って挿入されつつ接続される第1端子と、前記相手側コネクタの相手側第2端子と接続される第2端子と、前記第1端子及び前記第2端子を保持するコネクタハウジングと、を備えるコネクタであって、前記第1端子は、筒状部を有する端子本体と、前記筒状部の内周面に沿って配置されるばね部材とを有し、前記ばね部材は、前記第1軸線を中心として径方向に弾性を有するとともに周方向に並設される複数の弾性片と、前記複数の弾性片の第1端部同士を連結する第1連結部と、前記複数の弾性片の第2端部同士を連結する第2連結部とを有し、前記複数の弾性片は、前記第2端子に前記相手側第2端子が接触していない状態において前記第1連結部寄りの先行位置で前記相手側第1端子と押圧接触可能な先行接触片と、前記第2端子に前記相手側第2端子が接触している状態において前記第1連結部と前記第2連結部との中間位置で前記相手側第1端子と押圧接触可能な中間接触片とを含む。
(【0011】以降は省略されています)
この特許をJ-PlatPat(特許庁公式サイト)で参照する
関連特許
住友電装株式会社
端子台
4日前
住友電装株式会社
コネクタ
15日前
住友電装株式会社
コネクタ
4日前
住友電装株式会社
コネクタ
7日前
住友電装株式会社
コネクタ
24日前
住友電装株式会社
コネクタ
4日前
住友電装株式会社
コネクタ
14日前
住友電装株式会社
コネクタ
4日前
住友電装株式会社
コネクタ
4日前
住友電装株式会社
コネクタ
4日前
住友電装株式会社
コネクタ
4日前
住友電装株式会社
コネクタ
28日前
住友電装株式会社
端子金具
1か月前
住友電装株式会社
充電コネクタ
23日前
住友電装株式会社
中継コネクタ
25日前
住友電装株式会社
ワイヤハーネス
1か月前
住友電装株式会社
充電インレット
1か月前
住友電装株式会社
ワイヤハーネス
7日前
住友電装株式会社
ワイヤハーネス
24日前
住友電装株式会社
コネクタユニット
25日前
住友電装株式会社
コネクタユニット
15日前
住友電装株式会社
コネクタアセンブリ
2日前
住友電装株式会社
ダミー栓およびコネクタ
2日前
住友電装株式会社
コネクタおよび端子ユニット
1か月前
住友電装株式会社
圧着端子、および端子付き電線
8日前
住友電装株式会社
ワイヤハーネス、及びグロメット
14日前
住友電装株式会社
コネクタ及びコネクタアセンブリ
2日前
住友電装株式会社
コネクタ及びコネクタアセンブリ
1か月前
住友電気工業株式会社
充放電装置
25日前
住友電装株式会社
コネクタおよびコネクタアセンブリ
15日前
住友電装株式会社
電線固定部材、及びワイヤハーネス
14日前
住友電気工業株式会社
電力変換装置
1か月前
トヨタ自動車株式会社
車両の制御装置
1日前
株式会社オートネットワーク技術研究所
電線
1か月前
株式会社オートネットワーク技術研究所
端子台
14日前
株式会社オートネットワーク技術研究所
基板装置
4日前
続きを見る
他の特許を見る