TOP
|
特許
|
意匠
|
商標
特許ウォッチ
Twitter
他の特許を見る
公開番号
2025144423
公報種別
公開特許公報(A)
公開日
2025-10-02
出願番号
2024044184
出願日
2024-03-19
発明の名称
車両の制御装置
出願人
トヨタ自動車株式会社
,
住友電装株式会社
代理人
個人
,
個人
主分類
B60W
20/50 20160101AFI20250925BHJP(車両一般)
要約
【課題】永久磁石形のモータジェネレータで構成された走行用の動力源とインバータとを接続するケーブルの焼損の発生を抑止するとともに、退避走行の走行距離の延長を図ることができる、車両の制御装置を提供する。
【解決手段】電動機MGは、永久磁石形のモータジェネレータで構成され且つエンジン走行中は連れ回される。電子制御装置90は、(a)エンジン制御ECU92と、電動機MGを駆動するMG制御用インバータ50を制御し且つエンジン制御ECU92とは異なるMG制御ECU94と、を含み、(b)MG制御ECU94が故障したとエンジン制御ECU92が判定した場合には、電動機MGを非駆動状態にするとともにエンジン12による退避走行を実行し、(c)電動機MGとMG制御用インバータ50とを接続するMGケーブル60の温度であるケーブル温度THcbが判定温度THcb_jdgを超過する場合には、退避走行を中止させる。
【選択図】図1
特許請求の範囲
【請求項1】
走行用の第1の動力源と、永久磁石形のモータジェネレータで構成され且つ前記第1の動力源を用いた走行中において非駆動状態の場合に連れ回される走行用の第2の動力源と、を備える車両の、制御装置であって、
第1の制御装置部と、前記第2の動力源を駆動するインバータを制御し且つ前記第1の制御装置部とは異なる第2の制御装置部と、を含み、
前記第2の制御装置部が故障したと前記第1の制御装置部が判定した場合には、前記第2の動力源を非駆動状態にするとともに前記第1の動力源による退避走行を実行し、
前記第2の動力源と前記インバータとを接続するケーブルの温度が所定の判定温度を超過する場合には、前記退避走行を中止させる
ことを特徴とする車両の制御装置。
続きを表示(約 430 文字)
【請求項2】
前記ケーブルは、前記第2の動力源の相数に対応して複数のケーブル線を含み、
前記ケーブルの温度が前記判定温度を超過するか否かは、複数の前記ケーブル線のそれぞれにおいて判定される
ことを特徴とする請求項1に記載の車両の制御装置。
【請求項3】
前記ケーブルは、前記第2の動力源の相数に対応して複数のケーブル線を含み、
前記ケーブルの温度が前記判定温度を超過するか否かは、複数の前記ケーブル線の温度のうちの一部に基づいて判定される
ことを特徴とする請求項1に記載の車両の制御装置。
【請求項4】
複数の前記ケーブル線の温度をそれぞれ検出する温度センサのうちの一部が故障した場合に、前記ケーブルの温度が前記判定温度を超過するか否かが、前記ケーブル線の温度のうち故障していない前記温度センサで検出された一部に基づいて判定される
ことを特徴とする請求項3に記載の車両の制御装置。
発明の詳細な説明
【技術分野】
【0001】
走行用の第1の動力源と、永久磁石形のモータジェネレータで構成された走行用の第2の動力源と、を備える車両の、制御装置に関する。
続きを表示(約 2,200 文字)
【背景技術】
【0002】
走行用の動力源としてエンジン及びモータジェネレータを備える車両であって、エンジンと一対の駆動輪との間の動力伝達経路にモータジェネレータが動力伝達可能に接続され且つ前記動力伝達経路に自動変速機が接続されているものが知られている。例えば、特許文献1に記載のものがそれである。特許文献1に記載の車両の制御装置では、動力源をエンジンとする退避走行中において、モータジェネレータの回転速度が所定の閾値以上となった場合には、自動変速機がアップシフトされてモータジェネレータの回転速度の低下が図られる。自動変速機がアップシフトされてもモータジェネレータの回転速度が所定の閾値以上となっている状態が所定の時間を超過する場合には、退避走行が停止させられる。これにより、モータジェネレータが故障に至るような昇温が抑制される。
【先行技術文献】
【特許文献】
【0003】
特開2023-121351号公報
【発明の概要】
【発明が解決しようとする課題】
【0004】
ところで、モータジェネレータを駆動するインバータを制御するECU(Electronic Control Unit)が故障した場合には、故障したECUの機能を停止させてモータジェネレータを非駆動状態にすることで永久磁石形のモータジェネレータが故障に至る昇温を抑制することが考えられる。この場合、モータジェネレータを非駆動状態に制御しているインバータでの短絡故障が検出できなくなってしまう。そのため、ECUの故障とともにインバータでの短絡故障が二重に発生した場合には、過電流が流れることでモータジェネレータとインバータとを接続するケーブルが焼損するおそれがある。
【0005】
本発明は、以上の事情を背景として為されたものであり、その目的とするところは、永久磁石形のモータジェネレータで構成された走行用の動力源とインバータとを接続するケーブルの焼損の発生を抑止するとともに、退避走行の走行距離の延長を図ることができる、車両の制御装置を提供することにある。
【課題を解決するための手段】
【0006】
本発明の要旨とするところは、走行用の第1の動力源と、永久磁石形のモータジェネレータで構成され且つ前記第1の動力源を用いた走行中において非駆動状態の場合に連れ回される走行用の第2の動力源と、を備える車両の、制御装置であって、(a)第1の制御装置部と、前記第2の動力源を駆動するインバータを制御し且つ前記第1の制御装置部とは異なる第2の制御装置部と、を含み、(b)前記第2の制御装置部が故障したと前記第1の制御装置部が判定した場合には、前記第2の動力源を非駆動状態にするとともに前記第1の動力源による退避走行を実行し、(c)前記第2の動力源と前記インバータとを接続するケーブルの温度が所定の判定温度を超過する場合には、前記退避走行を中止させることにある。
【発明の効果】
【0007】
本発明の車両の制御装置によれば、(a)第1の制御装置部と、前記第2の動力源を駆動するインバータを制御し且つ前記第1の制御装置部とは異なる第2の制御装置部と、が含まれ、(b)前記第2の制御装置部が故障したと前記第1の制御装置部が判定した場合には、前記第2の動力源が非駆動状態にされるとともに前記第1の動力源による退避走行が実行され、(c)前記第2の動力源と前記インバータとを接続するケーブルの温度が所定の判定温度を超過する場合には、前記退避走行が中止される。第2の動力源である永久磁石形のモータジェネレータが退避走行中に連れ回される場合、第2の動力源に設けられたステータコイルには逆起電力が発生する。この場合、インバータのスイッチング素子のうちいずれかで短絡故障が発生すると、ケーブルには過電流が流れるおそれがある。第2の動力源及びインバータは冷却油や冷却ファン等で冷却されやすい構造にできる一方、それらに比較してケーブルは冷却しにくい構造とせざるを得ない。ケーブルの温度が所定の判定温度以下の場合には退避走行が継続されて退避走行の走行距離の延長が図られるとともに、ケーブルの温度が所定の判定温度を超過する場合には退避走行が中止されてケーブルの焼損の発生が抑止される。
【図面の簡単な説明】
【0008】
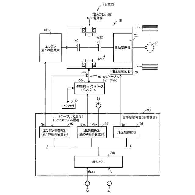
本発明の実施例1に係る電子制御装置を備える車両の概略構成図である。
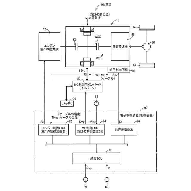
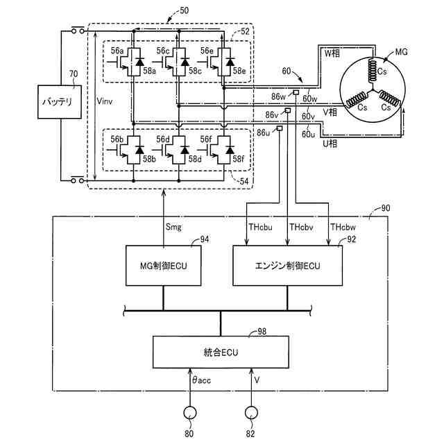
図1に示す、MG制御用インバータ、バッテリ、電動機、MGケーブル、電子制御装置について説明する図である。
図1に示す電子制御装置の制御作動の要部を説明するフローチャートの一例である。
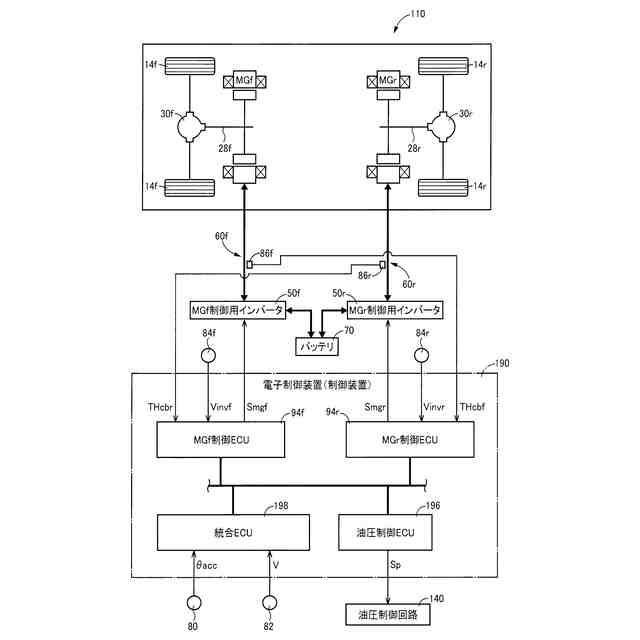
本発明の実施例2に係る電子制御装置を備える車両の概略構成図である。
図4に示す電子制御装置の制御作動の要部を説明するフローチャートの一例である。
【発明を実施するための形態】
【0009】
以下、本発明の各実施例を図面を参照しつつ詳細に説明する。なお、各実施例において図は適宜簡略化或いは変形されており、各部の寸法比及び形状等は必ずしも正確に描かれていない。
【実施例】
【0010】
図1は、本発明の実施例1に係る電子制御装置90を備える車両10の概略構成図である。
(【0011】以降は省略されています)
この特許をJ-PlatPat(特許庁公式サイト)で参照する
関連特許
トヨタ自動車株式会社
車両
14日前
トヨタ自動車株式会社
車両
4日前
トヨタ自動車株式会社
装置
24日前
トヨタ自動車株式会社
装置
24日前
トヨタ自動車株式会社
電池
4日前
トヨタ自動車株式会社
車両
23日前
トヨタ自動車株式会社
回転子
15日前
トヨタ自動車株式会社
電動車
14日前
トヨタ自動車株式会社
モータ
15日前
トヨタ自動車株式会社
電動車
2日前
トヨタ自動車株式会社
サーバ
8日前
トヨタ自動車株式会社
ロータ
2日前
トヨタ自動車株式会社
駆動装置
22日前
トヨタ自動車株式会社
冷却装置
14日前
トヨタ自動車株式会社
蓄電装置
4日前
トヨタ自動車株式会社
水系電池
22日前
トヨタ自動車株式会社
蓄電装置
16日前
トヨタ自動車株式会社
表示装置
16日前
トヨタ自動車株式会社
制御装置
15日前
トヨタ自動車株式会社
蓄電装置
14日前
トヨタ自動車株式会社
検査装置
4日前
トヨタ自動車株式会社
制御装置
4日前
トヨタ自動車株式会社
電動車両
14日前
トヨタ自動車株式会社
給電装置
14日前
トヨタ自動車株式会社
加熱装置
14日前
トヨタ自動車株式会社
蓄電装置
8日前
トヨタ自動車株式会社
二次電池
4日前
トヨタ自動車株式会社
蓄電装置
4日前
トヨタ自動車株式会社
制御装置
4日前
トヨタ自動車株式会社
蓄電装置
14日前
トヨタ自動車株式会社
蓄電装置
4日前
トヨタ自動車株式会社
蓄電装置
4日前
トヨタ自動車株式会社
蓄電装置
4日前
トヨタ自動車株式会社
制御装置
14日前
トヨタ自動車株式会社
制御装置
14日前
トヨタ自動車株式会社
内燃機関
14日前
続きを見る
他の特許を見る