TOP
|
特許
|
意匠
|
商標
特許ウォッチ
Twitter
他の特許を見る
10個以上の画像は省略されています。
公開番号
2025145581
公報種別
公開特許公報(A)
公開日
2025-10-03
出願番号
2024045842
出願日
2024-03-22
発明の名称
冷却器及び半導体モジュール
出願人
富士電機株式会社
代理人
インフォート弁理士法人
主分類
H01L
23/473 20060101AFI20250926BHJP(基本的電気素子)
要約
【課題】冷却器の冷却性能を向上させる。
【解決手段】冷却器(1)は、冷媒の流路(190)における第1の面(102)を形成する天板部(100)と、冷媒の流路における第1の面と対向する第2の面(123)を形成する底板部(121)と、冷媒の流路内に配置され第1の面から第2の面に向かう方向に突出した複数の突起部(110)と、冷媒の流路における第1の面及び第2の面と接続し複数の突起部を囲む壁面(124~127)を形成する枠部(122)と、複数の突起部のうちの冷媒の流路における冷媒の流通方向(X方向)に所定の距離だけ離間した第1の突起部と第2の突起部との間に第2の面から第1の面に向かう方向に突出した壁部(140)とを備える。壁部は、第2の面の平面視において冷媒の流通方向と直交する流路幅方向(Y方向)の端に位置する一対の壁面のそれぞれと接続しており、流路幅方向でみたときに第1の面から離間した区間を有する。
【選択図】図3
特許請求の範囲
【請求項1】
冷媒の流路における第1の面を形成する天板部と、
前記冷媒の流路における前記第1の面と対向する第2の面を形成する底板部と、
前記冷媒の流路内に配置され前記第1の面から前記第2の面に向かう方向に突出した複数の突起部と、
前記冷媒の流路における前記第1の面及び前記第2の面と接続し前記複数の突起部を囲む壁面を形成する枠部と、
前記複数の突起部のうちの前記冷媒の流路における前記冷媒の流通方向に所定の距離だけ離間した第1の突起部と第2の突起部との間に、前記第2の面から前記第1の面に向かう方向に突出した壁部と、を備え、
前記壁部は、
前記第2の面の平面視において前記冷媒の流通方向と直交する流路幅方向の端に位置する一対の壁面のそれぞれと接続しており、
前記流路幅方向でみたときに前記第1の面から離間した区間を有する、
冷却器。
続きを表示(約 990 文字)
【請求項2】
前記壁部は、前記冷媒の流路における前記第1の突起部を含む複数の突起部が配置された第1の領域と前記第2の突起部を含む複数の突起部が配置された第2の領域との間の前記突起部が配置されていない領域に設けられる、請求項1に記載の冷却器。
【請求項3】
前記複数の突起部は、前記第2の面から離間している、請求項1に記載の冷却器。
【請求項4】
前記壁部の前記第2の面からの高さが、前記壁部の位置における前記第2の面から前記第1の面までの冷媒の流路の高さの20%から90%の範囲内である、請求項1に記載の冷却器。
【請求項5】
前記壁部は、前記流路幅方向でみた前記第2の面からの高さが変動する、請求項1に記載の冷却器。
【請求項6】
前記壁部は、前記天板部における前記第1の面の裏面である第3の面の平面視で前記第3の面に配置される発熱体の前記流路幅方向の両端と実質的に同じ位置を両端とする区間の高さが、その区間と隣り合う区間の高さよりも低くなるように変動する、請求項5に記載の冷却器。
【請求項7】
前記発熱体の前記流路幅方向の両端と実質的に同じ位置を両端とする前記区間の高さは、前記流路幅方向に沿ってV字形に変動する、請求項6に記載の冷却器。
【請求項8】
前記壁部は、前記天板部における前記第1の面の裏面である第3の面の平面視で前記第3の面に配置される発熱体の前記流路幅方向の両端と実質的に同じ位置を両端とする区間の下流側の壁面から上流側の壁面までの厚さが、その区間と隣り合う区間の厚さの25%から100%の範囲内である、請求項1に記載の冷却器。
【請求項9】
前記壁部は、
発熱体の前記流路幅方向の両端と実質的に同じ位置を両端とする前記区間の前記厚さが前記隣り合う区間の前記厚さよりも小さくなるように変動し、かつ
前記区間の前記第2の面からの高さが前記隣り合う区間の高さよりも低くなるように変動する、
請求項8に記載の冷却器。
【請求項10】
前記天板部は、前記第1の面の平面視での平面形状が長方形であり、前記冷媒の流通方向は、前記天板部の長手方向である、請求項1に記載の冷却器。
(【請求項11】以降は省略されています)
発明の詳細な説明
【技術分野】
【0001】
本発明は、冷却器及び半導体モジュールに関する。
続きを表示(約 2,200 文字)
【背景技術】
【0002】
半導体装置等の電子部品を冷却する冷却器には、冷媒を流通させる冷媒流路が設けられたものがある。この種の冷却器には、冷媒流路の流路幅を絞った絞り部を部分的に設けることで絞り部の下流側での冷却効率を向上させるものがある(例えば、特許文献1)。
【先行技術文献】
【特許文献】
【0003】
特開2009-182313号公報
【発明の概要】
【発明が解決しようとする課題】
【0004】
上記の冷却器では、冷媒流路における電子部品が配置された面からの距離が近い部分を流れる冷媒の温度上昇により、冷媒流路の下流での冷却効率が低下する。
【0005】
本発明は、かかる点に鑑みてなされたものであり、冷却器の冷却性能を向上させることを一つの目的とする。
【課題を解決するための手段】
【0006】
本発明の一態様の冷却器は、冷媒の流路における第1の面を形成する天板部と、前記冷媒の流路における前記第1の面と対向する第2の面を形成する底板部と、前記冷媒の流路内に配置され前記第1の面から前記第2の面に向かう方向に突出した複数の突起部と、前記冷媒の流路における前記第1の面及び前記第2の面と接続し前記複数の突起部を囲む壁面を形成する枠部と、前記複数の突起部のうちの前記冷媒の流路における前記冷媒の流通方向に所定の距離だけ離間した第1の突起部と第2の突起部との間に、前記第2の面から前記第1の面に向かう方向に突出した壁部と、を備える。前記壁部は、前記第2の面の平面視において前記冷媒の流通方向と直交する流路幅方向の端に位置する一対の壁面のそれぞれと接続しており、前記流路幅方向で見たときに前記第1の面から離間した区間を有する。
【発明の効果】
【0007】
本発明によれば、冷却器の冷却性能を向上させることができる。
【図面の簡単な説明】
【0008】
図1A及び図1Bは、第1の実施の形態に係る冷却器の外観構成例を説明する斜視図である。
冷却器の一部分を省略した平面図である。
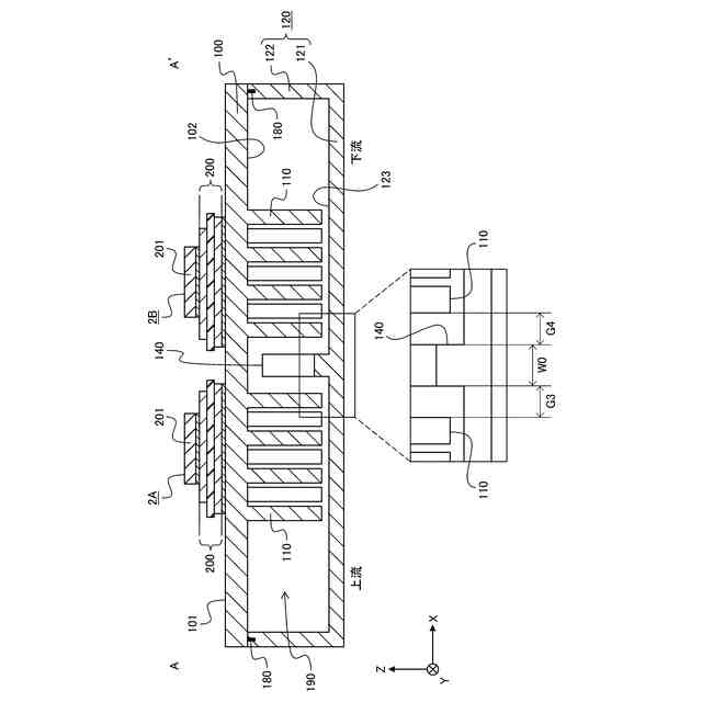
図2のA-A’線で切断した冷却器の側面断面図である。
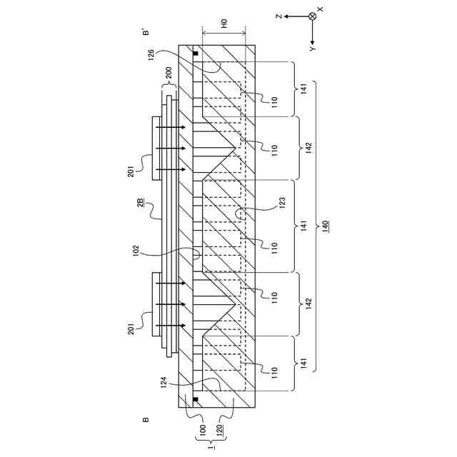
図2のB-B’線で切断した冷却器の側面断面図である。
冷却器の壁部の形状を補足する図である。
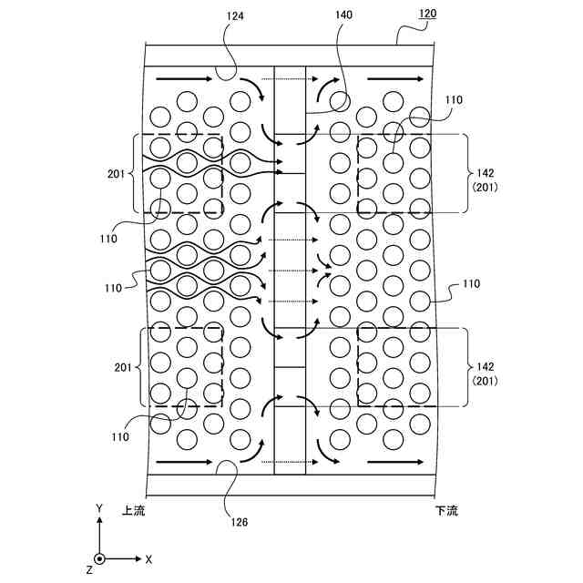
壁部の周囲における冷媒の流れを説明する部分断面図である。
壁部の周囲における冷媒の流れを説明する部分平面図である。
壁部の高さと冷却性能との関係を説明するグラフである。
切り欠き区間の深さと冷却性能との関係を説明するグラフである。
第2の実施の形態に係る冷却器における壁部の形状を例示する部分平面図である。
壁部の切り欠き区間の長さと冷却性能との関係を説明するグラフである。
壁部に設ける切り欠き区間の形状の変形例を説明する斜視図である。
図13A及び図13Bは、壁部の高さの変形例を説明する部分断面図である。
壁部の上流側の壁面の形状の変形例を説明する部分平面図である。
壁部を設ける方法の変形例を説明する部分側面断面図である。
図16A及び図16Bは、冷却器の構成の変形例を説明する側面断面図である。
実施の形態に係る冷却器を取り付けた半導体モジュールの構成例を示す平面図である。
半導体モジュールに形成される例示的な電力変換回路の等価回路図である。
冷却器の壁部の配置の例を説明する平面図である。
【発明を実施するための形態】
【0009】
以下、図面を参照しながら、本発明の実施の形態を詳細に説明する。なお、参照する各図におけるX軸、Y軸、及びZ軸は、例示する冷却器等における平面や方向を定義する目的で示されている。X軸、Y軸、及びZ軸は互いに直交し、右手系を成している。以下の説明では、X軸に平行な方向をX方向と呼び、Y軸に平行な方向をY方向と呼び、Z軸に平行な方向をZ方向と呼ぶ。また、X方向、Y方向、及びZ方向の各方向は、図示されるX軸、Y軸、及びZ軸の矢印(正負)の方向と関連付ける場合には、「正側」又は「負側」が付される。
【0010】
本明細書では、Z方向を上下方向と呼ぶことがある。本明細書において、「上」や「上方」は、基準となる面、部材、位置等よりもZ方向正側であることを意図し、「下」や「下方」は、基準となる面、部材、位置等よりもZ方向負側であることを意図する。例えば、「部材Aの上に部材Bが配置される」と記載されるとき、部材Bは、部材AからみてZ方向正側に配置される。また、「部材Aの上面」と記載されるとき、その面は、部材AにおけるZ方向正側の端に位置し、Z方向正側を向いた面である。これらの方向や面は、説明の便宜上用いる文言であり、冷却器の取付姿勢等によっては、X軸、Y軸、及びZ軸の方向のそれぞれとの対応関係が変わることがある。例えば、冷却器における配線板及び半導体素子が配置される面は、本明細書では冷却器の上面と呼ぶが、これに限らず、冷却器の下面、側面等と呼ばれてもよい。本明細書では、X方向、Y方向、及びZ方向を冷媒の流路と関連付けた方向として表現することがある。
(【0011】以降は省略されています)
この特許をJ-PlatPat(特許庁公式サイト)で参照する
関連特許
富士電機株式会社
搬送機構
14日前
富士電機株式会社
溶接装置
14日前
富士電機株式会社
回路遮断器
11日前
富士電機株式会社
半導体装置
14日前
富士電機株式会社
電磁接触器
10日前
富士電機株式会社
電磁接触器
10日前
富士電機株式会社
電磁接触器
10日前
富士電機株式会社
電磁接触器
10日前
富士電機株式会社
電磁接触器
10日前
富士電機株式会社
半導体装置
10日前
富士電機株式会社
エンコーダ
11日前
富士電機株式会社
ショーケース
6日前
富士電機株式会社
商品収納装置
6日前
富士電機株式会社
チャンネルベース
10日前
富士電機株式会社
電力変換システム
14日前
富士電機株式会社
電力変換システム
10日前
富士電機株式会社
チャンネルベース
10日前
富士電機株式会社
エレベータ制御装置
12日前
富士電機株式会社
エレベータ制御装置
12日前
富士電機株式会社
冷却器及び半導体装置
10日前
富士電機株式会社
測定装置および冷却システム
12日前
富士電機株式会社
冷却器及び半導体モジュール
10日前
富士電機株式会社
店舗内位置情報取得システム
11日前
富士電機株式会社
窒化物半導体装置の製造方法
10日前
富士電機株式会社
半導体装置及びその製造方法
10日前
富士電機株式会社
電力変換装置及びその制御方法
6日前
富士電機株式会社
炭化珪素半導体装置の製造方法
10日前
富士電機株式会社
最適制御方法、及び最適制御装置
14日前
富士電機株式会社
半導体装置及び半導体装置の製造方法
10日前
富士電機株式会社
スイッチング制御回路、及び電源回路
17日前
富士電機株式会社
トリミングシステムおよび半導体モジュール
11日前
富士電機株式会社
認証用鍵管理システムおよび認証用鍵管理方法
12日前
富士電機株式会社
異常種類提示装置、異常種類提示方法及びプログラム
10日前
個人
フレキシブル電気化学素子
3日前
日本発條株式会社
積層体
14日前
ローム株式会社
半導体装置
5日前
続きを見る
他の特許を見る