TOP
|
特許
|
意匠
|
商標
特許ウォッチ
Twitter
他の特許を見る
10個以上の画像は省略されています。
公開番号
2025143226
公報種別
公開特許公報(A)
公開日
2025-10-01
出願番号
2025038805
出願日
2025-03-11
発明の名称
測定装置および冷却システム
出願人
富士電機株式会社
代理人
弁理士法人RYUKA国際特許事務所
主分類
F04D
29/66 20060101AFI20250924BHJP(液体用容積形機械;液体または圧縮性流体用ポンプ)
要約
【課題】液体ポンプの動作状態を精度よく検知する。
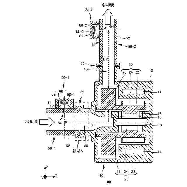
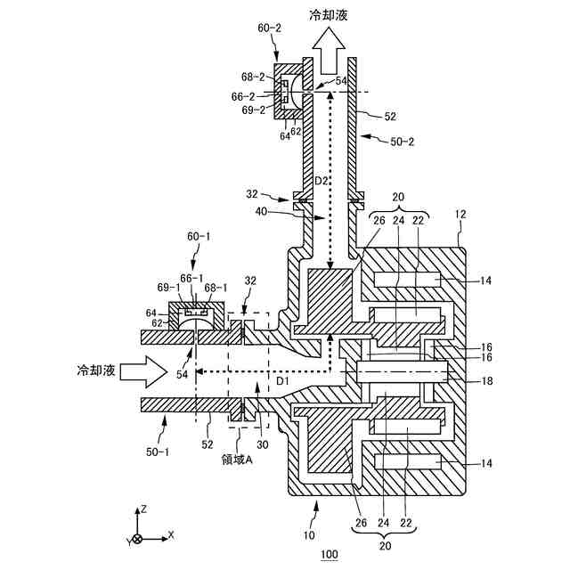
【解決手段】吸入口と吐出口とを有する液体ポンプに取り付けられる測定装置であって、前記吐出口から流出する冷却液の吐出温度および吐出圧力の両方に応じた検出値を検出する吐出側センサ部と、前記検出値に基づいて、前記吐出口から流出する冷却液の流量を算出する吐出側算出部とを備える測定装置を提供する。前記検出値は前記吐出温度および前記吐出圧力であってよい。測定装置は、前記吸入口に流入する前記冷却液の吸入温度および吸入圧力を検出する吸入側センサ部と、前記吸入温度における前記冷却液の飽和蒸気圧と、前記吸入圧力との比較結果に基づいてキャビテーションの発生を検知する吸入側検知部とを更に備えてよい。
【選択図】図5
特許請求の範囲
【請求項1】
吸入口と吐出口とを有する液体ポンプに取り付けられる測定装置であって、
前記吐出口から流出する冷却液の吐出温度および吐出圧力の両方に応じた検出値を検出する吐出側センサ部と、
前記検出値に基づいて、前記吐出口から流出する冷却液の流量を算出する吐出側算出部と
を備える測定装置。
続きを表示(約 1,100 文字)
【請求項2】
前記検出値は前記吐出温度および前記吐出圧力である
請求項1に記載の測定装置。
【請求項3】
吸入口と吐出口とを有する液体ポンプに取り付けられる測定装置であって、
前記吸入口に流入する冷却液の吸入温度および吸入圧力を検出する吸入側センサ部と、
前記吸入温度における前記冷却液の飽和蒸気圧と、前記吸入圧力との比較結果に基づいてキャビテーションの発生を検知する吸入側検知部と
を備える測定装置。
【請求項4】
前記吸入口に流入する前記冷却液の吸入温度および吸入圧力を検出する吸入側センサ部と、
前記吸入温度における前記冷却液の飽和蒸気圧と、前記吸入圧力との比較結果に基づいてキャビテーションの発生を検知する吸入側検知部と
を更に備える請求項2に記載の測定装置。
【請求項5】
前記吸入側センサ部の検出結果に基づいて前記液体ポンプの動作を制御する
請求項3または4に記載の測定装置。
【請求項6】
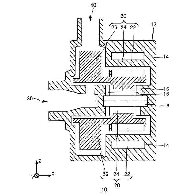
前記液体ポンプは、前記冷却液と接した状態で移動することで、前記冷却液を移動させる移動部を備え、
前記吸入側センサ部は前記吐出側センサ部よりも、前記液体ポンプの前記移動部の近くに配置される
請求項4に記載の測定装置。
【請求項7】
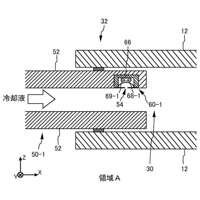
前記液体ポンプの前記吸入口には、前記冷却液を前記吸入口へ導く吸入側配管が前記吸入口の内部に挿入される形で接続されており、
前記吸入側センサ部は、前記吸入側配管のうち、前記吸入口の内部に挿入される部分に取り付けられている
請求項3、4または6のいずれか一項に記載の測定装置。
【請求項8】
前記液体ポンプの前記吐出口には、前記吐出口から吐出された前記冷却液が通る吐出側配管が接続されており、
前記吐出側センサ部は、前記吐出側配管の内部に設けられた空気室の圧力と温度を前記検出値として検出する
請求項1に記載の測定装置。
【請求項9】
前記吸入側検知部は、前記冷却液の種類に応じた前記飽和蒸気圧と、前記吸入圧力との比較結果に基づいて前記キャビテーションの発生を検知する
請求項3、4または6のいずれか一項に記載の測定装置。
【請求項10】
前記吸入側センサ部は、前記吸入圧力を上流側と下流側の2か所で検出し、
前記吸入側検知部は、前記冷却液の飽和蒸気圧と、前記下流側の吸入圧力との比較結果に基づいて前記キャビテーションの発生を検知する
請求項3、4または6のいずれか一項に記載の測定装置。
(【請求項11】以降は省略されています)
発明の詳細な説明
【技術分野】
【0001】
本発明は、測定装置および冷却システムに関する。
続きを表示(約 1,800 文字)
【背景技術】
【0002】
従来、ウォーターポンプの近傍に温度センサまたは圧力センサを配置した燃料電池冷却システムが知られている(例えば、特許文献1参照)。また、センサレスタイプのブラシレスモータを備える電動式ウォーターポンプの冷却液吐出側および冷却液導入側に、それぞれ圧力センサを設ける構成が知られている(例えば、特許文献2参照)。
[先行技術文献]
[特許文献]
[特許文献1] 特開2018-181654号公報
[特許文献2] 特開2009-264288号公報
【発明の概要】
【発明が解決しようとする課題】
【0003】
液体ポンプの動作状態を精度よく検知する。
【課題を解決するための手段】
【0004】
上記課題を解決するために、本発明の第1の態様においては、吸入口と吐出口とを有する液体ポンプに取り付けられる測定装置を提供する。上記測定装置は、前記吐出口から流出する冷却液の吐出温度および吐出圧力の両方に応じた検出値を検出する吐出側センサ部を備えてよい。上記いずれかの測定装置は、前記検出値に基づいて、前記吐出口から流出する冷却液の流量を算出する吐出側算出部を備えてよい。
【0005】
上記いずれかの測定装置において、前記検出値は前記吐出温度および前記吐出圧力であってよい。上記いずれかの測定装置は、前記吐出側センサ部の検出結果に基づいて前記液体ポンプの動作を制御してよい。上記いずれかの測定装置において、前記液体ポンプの前記吸入口には、前記冷却液を前記吸入口へ導く吸入側配管が接続されてよい。上記いずれかの測定装置において、前記液体ポンプの前記吐出口には、前記吐出口から吐出された前記冷却液が通る吐出側配管が接続されてよい。上記いずれかの測定装置は、前記吸入口に流入する前記冷却液の吸入温度および吸入圧力の両方に応じた検出値を検出する吸入側センサ部を備えてよい。上記いずれかの測定装置は、前記吸入側センサ部の検出値と前記吐出側センサ部の検出値とに基づいて前記吸入側配管または前記吐出側配管の異常を検知する検知部を備えてよい。上記いずれかの測定装置は、前記検出値に基づいて、前記吸入口に流入する冷却液の流量を算出する吸入側算出部を更に備えてよい。上記いずれかの測定装置において、前記検知部は、前記吸入側算出部の算出結果と前記吐出側算出部の算出結果とを比較して前記異常を検知してよい。上記いずれかの測定装置は、前記吸入側センサ部の検出結果および前記吐出側センサ部の検出結果に基づいて前記液体ポンプの動作を制御してよい。
【0006】
本発明の第2の態様においては、吸入口と吐出口とを有する液体ポンプに取り付けられる測定装置を提供する。上記測定装置は、前記吸入口に流入する冷却液の吸入温度および吸入圧力を検出する吸入側センサ部を備えてよい。上記測定装置は、前記吸入温度における前記冷却液の飽和蒸気圧と、前記吸入圧力との比較結果に基づいてキャビテーションの発生を検知する吸入側検知部を備えてよい。
【0007】
上記いずれかの測定装置は、前記吸入口に流入する前記冷却液の吸入温度および吸入圧力を検出する吸入側センサ部を備えてよい。上記いずれかの測定装置は、前記吸入温度における前記冷却液の飽和蒸気圧と、前記吸入圧力との比較結果に基づいてキャビテーションの発生を検知する吸入側検知部を備えてよい。
【0008】
上記いずれかの測定装置は、前記吸入側センサ部の検出結果に基づいて前記液体ポンプの動作を制御してよい。
【0009】
上記いずれかの測定装置が取り付けられる前記液体ポンプは、前記冷却液と接した状態で移動することで、前記冷却液を移動させる移動部を備えてよい。上記いずれかの測定装置において、前記吸入側センサ部は前記吐出側センサ部よりも、前記液体ポンプの前記移動部の近くに配置されてよい。
【0010】
上記いずれかの測定装置が取り付けられる前記液体ポンプの前記吸入口には、前記冷却液を前記吸入口へ導く吸入側配管が前記吸入口の内部に挿入される形で接続されていてよい。上記いずれかの測定装置において、前記吸入側センサ部は、前記吸入側配管のうち、前記吸入口の内部に挿入される部分に取り付けられていてよい。
(【0011】以降は省略されています)
この特許をJ-PlatPat(特許庁公式サイト)で参照する
関連特許
富士電機株式会社
搬送機構
4日前
富士電機株式会社
溶接装置
4日前
富士電機株式会社
半導体装置
4日前
富士電機株式会社
電磁接触器
今日
富士電機株式会社
エンコーダ
1日前
富士電機株式会社
半導体装置
今日
富士電機株式会社
電磁接触器
今日
富士電機株式会社
電磁接触器
今日
富士電機株式会社
電磁接触器
今日
富士電機株式会社
電磁接触器
今日
富士電機株式会社
回路遮断器
1日前
富士電機株式会社
チャンネルベース
今日
富士電機株式会社
チャンネルベース
今日
富士電機株式会社
電力変換システム
今日
富士電機株式会社
エレベータ制御装置
2日前
富士電機株式会社
エレベータ制御装置
2日前
富士電機株式会社
冷却器及び半導体装置
今日
富士電機株式会社
測定装置および冷却システム
2日前
富士電機株式会社
冷却器及び半導体モジュール
今日
富士電機株式会社
店舗内位置情報取得システム
1日前
富士電機株式会社
窒化物半導体装置の製造方法
今日
富士電機株式会社
半導体装置及びその製造方法
今日
富士電機株式会社
炭化珪素半導体装置の製造方法
今日
富士電機株式会社
半導体装置及び半導体装置の製造方法
今日
富士電機株式会社
トリミングシステムおよび半導体モジュール
1日前
富士電機株式会社
認証用鍵管理システムおよび認証用鍵管理方法
2日前
富士電機株式会社
異常種類提示装置、異常種類提示方法及びプログラム
今日
個人
海流製造装置。
16日前
株式会社ツインバード
送風装置
14日前
株式会社ツインバード
送風装置
14日前
カヤバ株式会社
電動ポンプ
1か月前
株式会社不二越
蓄圧装置
2か月前
ビッグボーン株式会社
送風装置
1か月前
株式会社酉島製作所
ポンプ
3か月前
株式会社ノーリツ
ロータリ圧縮機
1か月前
サンデン株式会社
スクロール圧縮機
今日
続きを見る
他の特許を見る