TOP
|
特許
|
意匠
|
商標
特許ウォッチ
Twitter
他の特許を見る
10個以上の画像は省略されています。
公開番号
2025120302
公報種別
公開特許公報(A)
公開日
2025-08-15
出願番号
2025094088,2021114979
出願日
2025-06-05,2021-07-12
発明の名称
RFIDラベル及びRFIDラベルの使用方法
出願人
株式会社サトー
代理人
弁理士法人後藤特許事務所
主分類
G06K
19/077 20060101AFI20250807BHJP(計算;計数)
要約
【課題】被着体に関する情報が印字されたRFIDラベルにおいて、更新前の情報を利用できなくして、更新後の情報を含むRFIDラベルを読み取り可能にすること。
【解決手段】RFIDアンテナと、RFIDアンテナに接続されたICチップと、を有する第一基材を備え、第一基材の一方の面にラミネート用粘着剤層を介して貼り付けられた第二基材と、第一基材の他方の面に設けられた被着体用粘着剤層と、を備えたRFIDラベルであって、RFIDラベルは、被着体用粘着剤層の少なくとも一部に形成された非粘着部と、非粘着部と重なる位置においてRFIDラベルの一方の辺から他方の辺に向けて形成された一対の切取線と、を有し、ICチップを含むRFIDアンテナの一部が一対の切取線の間に位置する。
【選択図】図2
特許請求の範囲
【請求項1】
RFIDアンテナと、前記RFIDアンテナに接続されたICチップと、を一方の面に有する第一基材と、前記第一基材の一方の面にラミネート用粘着剤層を介して貼り付けられた第二基材と、を備えたRFIDラベルであって、
前記RFIDラベルは、
前記第一基材の他方の面に設けられた被着体用粘着剤層からなる粘着部、及び、前記被着体用粘着剤層が設けられていない非粘着部と、
前記非粘着部と重なる位置において前記RFIDラベルの一方の辺から他方の辺に向けて形成された一対の切取線と、を有し、
前記ICチップを含む前記RFIDアンテナの一部が一対の前記切取線の間に位置する、
RFIDラベル。
続きを表示(約 1,200 文字)
【請求項2】
請求項1に記載のRFIDラベルであって、
前記RFIDアンテナは、前記ICチップが接続されたループ部を有し、
一対の前記切取線は、前記他方の辺側において、ぞれぞれの端部同士を接続する切取線とともに、前記ループ部全体を含む前記RFIDラベルの一部を区画する、
RFIDラベル。
【請求項3】
請求項1又は2に記載のRFIDラベルであって、
前記切取線は、所定長さの切込部分と切込がない部分とを有するミシン目であって、前記切込部分が前記RFIDアンテナと重ならないように形成された、
RFIDラベル。
【請求項4】
請求項1から3のいずれか1項に記載のRFIDラベルであって、
前記第一基材の前記RFIDアンテナ側の表面に、前記被着体用粘着剤層と、セパレータとがこの順に積層された、
RFIDラベル。
【請求項5】
請求項2に記載のRFIDラベルであって、
前記RFIDアンテナは、
前記ループ部と、前記ループ部に一方の端部が接続されて前記ループ部から延びるメアンダと、前記メアンダにそれぞれ接続されたキャパシタハットと、を備えた、
RFIDラベル。
【請求項6】
請求項5に記載のRFIDラベルであって、
前記切取線が前記ループ部と前記メアンダとの間に形成された、
RFIDラベル。
【請求項7】
請求項1から6のいずれか1項に記載のRFIDラベルであって、
前記一方の辺における前記切取線の位置には、前記RFIDラベルの内方に向けて凹んだ凹部が形成された、
RFIDラベル。
【請求項8】
請求項1から7のいずれか1項に記載のRFIDラベルであって、
前記被着体用粘着剤層が低温環境に対応した冷凍糊によって形成された、
RFIDラベル。
【請求項9】
請求項1から8のいずれか1項に記載のRFIDラベルであって、
前記RFIDアンテナは、UHF帯RFIDアンテナである、
RFIDラベル。
【請求項10】
RFIDアンテナと、前記RFIDアンテナに接続されたICチップと、を有する第一基材を備え、前記第一基材の前記RFIDアンテナ側の表面に被着体用粘着剤層を有するRFIDラベルであって、
前記RFIDラベルは、
前記第一基材の前記RFIDアンテナ側の表面に設けられた前記被着体用粘着剤層からなる粘着部、及び、前記被着体用粘着剤層が設けられていない非粘着部と、
前記非粘着部と重なる位置において前記RFIDラベルの一方の辺から他方の辺に向けて形成された一対の切取線と、を有し、
前記ICチップを含む前記RFIDアンテナの一部が一対の前記切取線の間に位置する、
RFIDラベル。
(【請求項11】以降は省略されています)
発明の詳細な説明
【技術分野】
【0001】
本発明は、RFIDラベル及びRFIDラベルの使用方法に関する。
続きを表示(約 2,200 文字)
【背景技術】
【0002】
従来、被着体に関する情報が予め印字されたラベルにおいて、その情報が更新された場合や情報が付加された場合などに、既に被着体に貼り付けられているラベルの上から更新した情報が印字されたラベルを重ねて貼ることにより、既に被着体に貼り付けられたラベルに印字された情報を利用できなくするラベルの使用方法が提案されている(特許文献1参照)。
【0003】
特許文献1では、更新された情報を含んだバーコードが印字されたラベルを、既に貼り付けられたラベルに印字されたバーコードを覆うようにして重ねて貼ることにより、既に貼り付けられたラベルのバーコードを読み取りできなくしている。これにより、被着体に関する情報を更新することができる。
【先行技術文献】
【特許文献】
【0004】
特開2009-98494号公報
【発明の概要】
【発明が解決しようとする課題】
【0005】
近年、製品の製造、管理、流通等の分野において、製品に関する情報や識別情報が書き込まれたICチップから非接触通信によって情報を送受するRFID(Radio Frequency Identification)技術に対応した、いわゆる、RFIDタグ、RFIDラベル等のRFID媒体が普及してきている。
【0006】
RFIDラベルの読み取りは、非接触通信で行われる。このため、特許文献1に記載のラベルの使用方法をRFIDラベルに適用した場合には、被着体に複数のRFIDラベルが存在することになり、いずれのRFIDラベルも読み取りができなかったり、所望でないRFIDラベルの情報が読み取られたりすることがあった。
【0007】
そこで、本発明は、被着体に関する情報が印字されたRFIDラベルにおいて、その情報が更新された場合などに、更新前の情報を利用できなくして、更新後の情報を含むRFIDラベルを読み取り可能にすることを目的とする。
【課題を解決するための手段】
【0008】
本発明のある態様によれば、RFIDアンテナと、前記RFIDアンテナに接続されたICチップと、を一方の面に有する第一基材と、前記第一基材の一方の面にラミネート用粘着剤層を介して貼り付けられた第二基材と、を備えたRFIDラベルであって、前記RFIDラベルは、前記第一基材の他方の面に設けられた被着体用粘着剤層からなる粘着部、及び、前記被着体用粘着剤層が配置されていない非粘着部と、前記非粘着部と重なる位置において前記RFIDラベルの一方の辺から他方の辺に向けて形成された一対の切取線と、を有し、前記ICチップを含む前記RFIDアンテナの一部が一対の前記切取線の間に位置する、RFIDラベルが提供される。
【発明の効果】
【0009】
本発明によれば、一対の切取線によって、RFIDラベルの一方の辺から他方の辺に向けてRFIDラベルの破断が進行することにより、一対の前記切取線の間に位置するICチップを含むRFIDアンテナの一部が破断されて、非粘着部が切り取られる。このため、被着体に関する情報が印字されたRFIDラベルにおいて、その情報が更新された場合などに、更新前の情報を利用不可能にできる。また、更新後の情報を含むRFIDラベルを被着体に貼り付けても、これを読み取り可能にすることができる。
【図面の簡単な説明】
【0010】
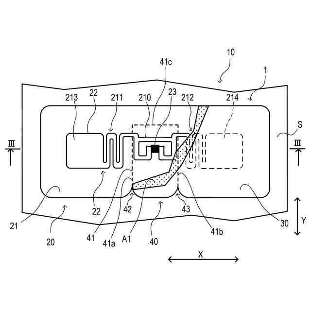
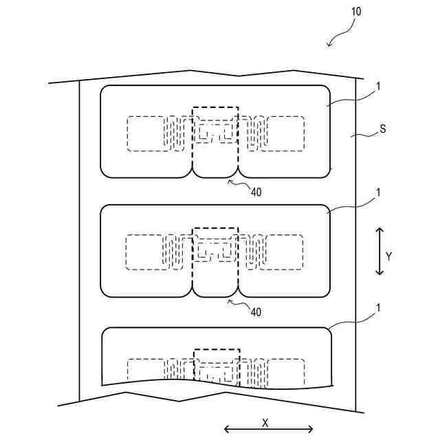
本実施形態に係るRFIDラベルが長尺帯状のセパレータに連続して仮着されたRFIDラベル連続体を表面側からみた平面図である。
図1に示されたRFIDラベルの一つを拡大して示す平面図である。
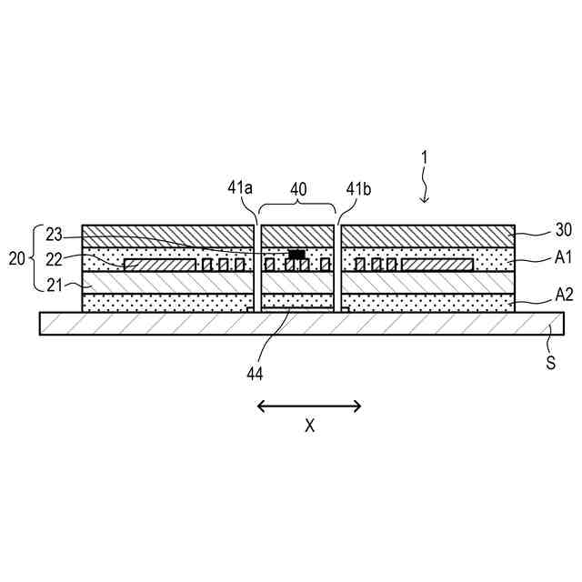
図2に示すIII-III線における断面図である。
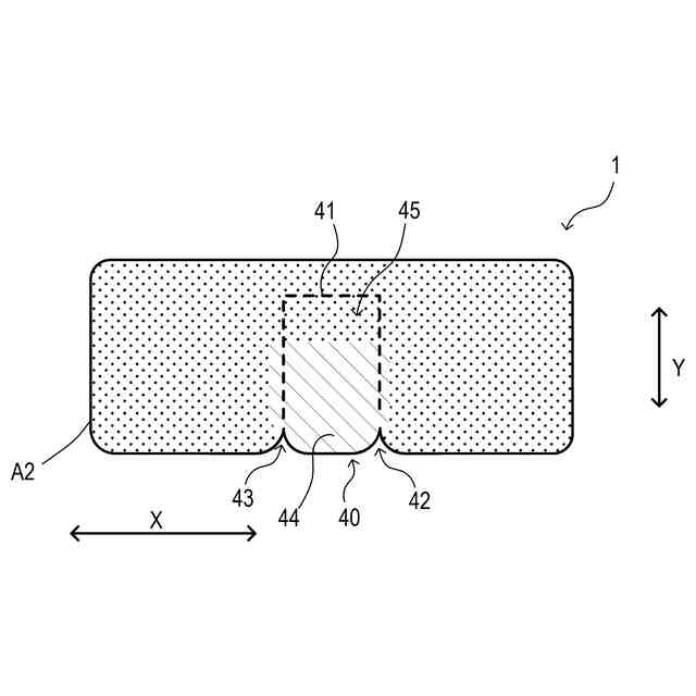
RFIDラベルをセパレータから剥がした状態を、被着体への貼り付け面側からみた平面図である。
試験管に貼り付けられた第一のRFIDラベルの分離部分を切り取る動作を説明する模式図である。
試験管に貼り付けられた第一のRFIDラベルの分離部分が切り取られた状態を説明する模式図である。
分離部分が切り取られた第一のRFIDラベルが貼り付けられた試験管に第二のRFIDラベルを貼り付ける動作を説明する模式図である。
分離部分が切り取られた第一のRFIDラベルに第二のRFIDラベルが重ねて貼り付けられた状態を説明する模式図である。
本実施形態に係るRFIDラベルの適用例を説明する模式図である。
第一変形例に係るRFIDラベルを表面側からみた平面図である。
第二変形例に係るRFIDラベルを表面側からみた平面図である。
第三変形例に係るRFIDラベルを表面側からみた平面図である。
第四変形例に係るRFIDラベルを表面側からみた平面図である。
第五変形例に係るRFIDラベルを表面側からみた平面図である。
第六変形例に係るRFIDラベルを表面側からみた平面図である。
本発明の別の実施形態に係るRFIDラベルを説明する断面図である。
図16に示したRFIDラベルの変形例を説明する断面図である。
【発明を実施するための形態】
(【0011】以降は省略されています)
この特許をJ-PlatPat(特許庁公式サイト)で参照する
関連特許
株式会社サトー
プリンタ
5日前
株式会社サトー
識別バンド
3日前
株式会社サトー
情報処理装置、情報処理システム、情報処理方法及びプログラム
1日前
株式会社サトー
導電性膜、導電性基材、電子デバイス、RFタグ、電磁波シールドフィルムおよび面状発熱体
5日前
株式会社サトー
導電性基材の製造方法、電子デバイスの製造方法、電磁波シールドフィルムの製造方法、および面状発熱体の製造方法
5日前
株式会社サトー
導電パターンを備えた基材の製造方法、電子デバイスの製造方法、電磁波シールドフィルムの製造方法、面状発熱体の製造方法および導電パターンを備えた基材
5日前
株式会社サトー
導電パターンを備えた基材の製造方法、電子デバイスの製造方法、電磁波シールドフィルムの製造方法、面状発熱体の製造方法および導電パターンを備えた基材の製造用の物品
5日前
個人
地球保全システム
3日前
個人
冷凍食品輸出支援構造
1か月前
個人
為替ポイント伊達夢貯
1か月前
個人
表変換編集支援システム
23日前
個人
結婚相手紹介支援システム
1か月前
個人
知財出願支援AIシステム
1か月前
個人
AIによる情報の売買の仲介
1か月前
個人
パスワード管理支援システム
23日前
個人
行動時間管理システム
25日前
日本精機株式会社
施工管理システム
1か月前
株式会社キーエンス
受発注システム
2日前
株式会社キーエンス
受発注システム
2日前
株式会社キーエンス
受発注システム
2日前
個人
食品レシピ生成システム
2日前
個人
システム及びプログラム
16日前
個人
海外支援型農作物活用システム
15日前
株式会社アジラ
進入判定装置
1か月前
個人
パスポートレス入出国システム
1か月前
個人
AIキャラクター制御システム
23日前
キヤノン株式会社
表示システム
2日前
個人
冷凍加工連携型農場運用システム
1か月前
個人
人格進化型対話応答制御システム
23日前
個人
社会還元・施設向け供給支援構造
23日前
個人
音声対話型帳票生成支援システム
23日前
サクサ株式会社
中継装置
23日前
個人
未来型家系図構築システム
15日前
大同特殊鋼株式会社
疵判定方法
9日前
個人
食事受注会計処理システム
1か月前
大阪瓦斯株式会社
住宅設備機器
1か月前
続きを見る
他の特許を見る