TOP
|
特許
|
意匠
|
商標
特許ウォッチ
Twitter
他の特許を見る
公開番号
2025125159
公報種別
公開特許公報(A)
公開日
2025-08-27
出願番号
2024021032
出願日
2024-02-15
発明の名称
前処理方法およびセル
出願人
株式会社SCREENホールディングス
代理人
個人
主分類
C25B
11/032 20210101AFI20250820BHJP(電気分解または電気泳動方法;そのための装置)
要約
【課題】メッシュプレートの親水性を向上させることにより、セルにおける電気化学反応の効率を向上させることができる技術を提供する。
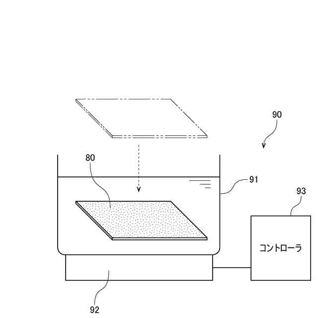
【解決手段】メッシュプレート80がセルに組み込まれる前に、メッシュプレート80を水中に浸漬しつつ、メッシュプレート80に超音波を付与する。これにより、メッシュプレート80の親水性が向上する。したがって、セルにおいて電気化学反応を行うときに、メッシュプレート80に気体が滞留することを抑制できる。その結果、セルにおける電気化学反応の効率を向上させることができる。
【選択図】図4
特許請求の範囲
【請求項1】
電気化学反応を行うセルに使用される、通水性、通気性、および導電性を有するメッシュプレートを、前記セルに組み込まれる前に処理する前処理方法であって、
前記メッシュプレートを水中に浸漬しつつ、前記メッシュプレートに超音波を付与する超音波処理工程
を有する、前処理方法。
続きを表示(約 640 文字)
【請求項2】
請求項1に記載の前処理方法であって、
前記メッシュプレートは、表面にメッキを有し、
前記超音波の強度は、2000W/m
2
以上かつ3500W/m
2
以下である、前処理方法。
【請求項3】
請求項1または請求項2に記載の前処理方法であって、
前記超音波処理工程の後、前記メッシュプレートを水に浸漬したまま保管する保管工程
をさらに有する、前処理方法。
【請求項4】
請求項1または請求項2に記載の前処理方法であって、
前記メッシュプレートは、チタンまたはチタン合金により形成され、表面に白金メッキを有する、前処理方法。
【請求項5】
請求項1または請求項2に記載の前処理方法であって、
前記メッシュプレートは、水電解を行うセルにおいてアノード側の多孔質輸送層として使用される、前処理方法。
【請求項6】
電気化学反応を行うセルであって、
電解質膜と、
前記電解質膜の表面に形成された触媒層と、
前記触媒層の表面に積層された、通水性、通気性、および導電性を有するメッシュプレートと、
を備え、
通電開始から10時間経過時点の電圧値の移動平均値をE1、
通電開始から50時間経過時点の電圧値の移動平均値をE2、
としたときに、E1/E2が1.5以下である、セル。
発明の詳細な説明
【技術分野】
【0001】
本発明は、電気化学反応を行うセルに使用されるメッシュプレートの前処理方法と、メッシュプレートを備えたセルとに関する。
続きを表示(約 1,400 文字)
【背景技術】
【0002】
従来、水(H
2
O)を電気分解することにより水素(H
2
)を製造する、固体高分子形の水電解装置が知られている。水電解装置は、セルとセパレータとが交互に積層されたセルスタックを有する。各セルは、電解質膜と、電解質膜の両面に形成された触媒層とを有する。水電解装置の使用時には、アノード側の触媒層とカソード側の触媒層との間に、電圧を印加するとともに、アノード側の触媒層に水を供給する。これにより、アノード側の触媒層と、カソード側の触媒層とにおいて、次の電気化学反応が生じる。その結果、カソード側の触媒層から、水素が排出される。
(アノード側) 2H
2
O → 4H
+
+ O
2
+ 4e
-
(カソード側) 2H
+
+ 2e
-
→ H
2
【0003】
従来の水電解装置については、例えば、特許文献1に記載されている。
【先行技術文献】
【特許文献】
【0004】
特開2022-023996号公報
【発明の概要】
【発明が解決しようとする課題】
【0005】
水電解装置のセルは、アノード側の触媒層の外側に積層された多孔質輸送層を有する。多孔質輸送層には、触媒層へ水を供給する機能と、触媒層で発生する酸素を排出する機能と、触媒層とセパレータとの間で電気を流す機能と、の3つの機能が求められる。このため、多孔質輸送層には、通水性、通気性、および導電性を有するメッシュプレートが使用される。メッシュプレートは、例えば、チタンにより形成され、その表面に白金のメッキが施されている。
【0006】
しかしながら、メッシュプレートは、特に使用の初期段階において親水性が低い。このため、水電解を行うときに、アノード側の触媒層において発生した気体の酸素が、多孔質輸送層に滞留する場合がある。その場合、多孔質輸送層に滞留した酸素が、多孔質輸送層における水の流通を阻害することにより、触媒層へ水が供給されにくくなる。その結果、触媒層における電気分解の効率が低下するという問題がある。
【0007】
そこで、本発明は、メッシュプレートの親水性を向上させることにより、セルにおける電気化学反応の効率を向上させることができる技術を提供することを目的とする。
【課題を解決するための手段】
【0008】
上記課題を解決するため、本願の第1発明は、電気化学反応を行うセルに使用される、通水性、通気性、および導電性を有するメッシュプレートを、前記セルに組み込まれる前に処理する前処理方法であって、前記メッシュプレートを水中に浸漬しつつ、前記メッシュプレートに超音波を付与する超音波処理工程を有する。
【0009】
本願の第2発明は、第1発明の前処理方法であって、前記メッシュプレートは、表面にメッキを有し、前記超音波の強度は、2000W/m
2
以上かつ3500W/m
2
以下である。
【0010】
本願の第3発明は、第1発明または第2発明の前処理方法であって、前記超音波処理工程の後、前記メッシュプレートを水に浸漬したまま保管する保管工程をさらに有する。
(【0011】以降は省略されています)
この特許をJ-PlatPat(特許庁公式サイト)で参照する
関連特許
有限会社 ナプラ
端子
1か月前
株式会社ノーリツ
電解水生成装置
1か月前
本田技研工業株式会社
電解装置
25日前
株式会社カネカ
可撓性ガス拡散電極
14日前
株式会社東芝
アルマイト処理方法
1か月前
本田技研工業株式会社
水電解システム
1か月前
一般財団法人電力中央研究所
電解反応装置
10日前
本田技研工業株式会社
水電解システム
1か月前
本田技研工業株式会社
水電解スタック
10日前
SECカーボン株式会社
カソードアセンブリ
6日前
株式会社荏原製作所
蒸気発電プラント
3日前
本田技研工業株式会社
電気化学スタック
1か月前
本田技研工業株式会社
CO2電解装置
10日前
古河電気工業株式会社
端子
4日前
本田技研工業株式会社
電解セルの製造方法
18日前
NOK株式会社
セルユニット
14日前
NOK株式会社
セルユニット
14日前
株式会社豊田中央研究所
電極
14日前
株式会社神戸製鋼所
導電材料およびその製造方法
1か月前
三菱マテリアル株式会社
皮膜付端子材及びその製造方法
4日前
NOK株式会社
セルユニット
14日前
ナミックス株式会社
銅部材
26日前
NOK株式会社
セルユニット
14日前
本田技研工業株式会社
膜電極構造体の製造方法
4日前
東京瓦斯株式会社
水電解システム
21日前
三菱重工業株式会社
皮膜形成装置
3日前
本田技研工業株式会社
電気化学式水素昇圧システム
10日前
株式会社アイシン
電解システム
4日前
三菱マテリアル株式会社
酸性電解銅めっき液
24日前
株式会社アイシン
電解システム
5日前
株式会社東芝
電解装置及び電解方法
18日前
日本特殊陶業株式会社
ホットモジュール
4日前
日本特殊陶業株式会社
ホットモジュール
4日前
三菱マテリアル株式会社
めっき皮膜付銅端子材及びその製造方法
10日前
株式会社デンソー
セル制御システム
3日前
株式会社東芝
電解装置および電解方法
10日前
続きを見る
他の特許を見る