TOP
|
特許
|
意匠
|
商標
特許ウォッチ
Twitter
他の特許を見る
公開番号
2025145111
公報種別
公開特許公報(A)
公開日
2025-10-03
出願番号
2024045127
出願日
2024-03-21
発明の名称
電気化学式水素昇圧システム
出願人
本田技研工業株式会社
代理人
弁理士法人桐朋
主分類
C25B
15/08 20060101AFI20250926BHJP(電気分解または電気泳動方法;そのための装置)
要約
【課題】再生水素ガスを外部に排出することなく無駄なく利用することができ、電気化学式水素昇圧システムの水素製造効率の低下を抑制することができる、電気化学式水素昇圧システムを提供する。
【解決手段】電気化学式水素昇圧システム10は、アノード電極に供給された水素ガスを、電解質膜を介してカソード電極から昇圧された高圧水素ガスとして放出する水素昇圧スタック16と、水素供給流路60を介して前記水素昇圧スタック16の前記アノード電極に前記水素ガスを供給する水素供給装置14と、前記水素昇圧スタック16から放出された前記高圧水素ガスを除湿する複数の吸着塔24を有するPSA装置22と、を備え、前記吸着塔24の再生に利用された再生水素ガスを前記水素供給流路60又は前記水素供給装置14に還流させる戻し流路94を有する。
【選択図】図1
特許請求の範囲
【請求項1】
電解質膜と、前記電解質膜の一方の面に設けられたアノード電極と、前記電解質膜の他方の面に設けられたカソード電極とを含む単セルを有し、前記アノード電極に水素ガスを供給し、前記カソード電極から昇圧された高圧水素ガスを放出する水素昇圧スタックと、
前記水素昇圧スタックに電圧を印加する電源装置と、
水素供給流路を介して前記水素昇圧スタックに水素ガスを供給する水素供給装置と、
前記水素昇圧スタックから放出された前記高圧水素ガスを除湿する複数の吸着塔を有するPSA装置と、
を備え、
前記吸着塔の再生に利用された再生水素ガスを前記水素昇圧スタックの前記水素供給流路又は前記水素供給装置に還流させる戻し流路を有する、
電気化学式水素昇圧システム。
続きを表示(約 710 文字)
【請求項2】
請求項1に記載の電気化学式水素昇圧システムにおいて、
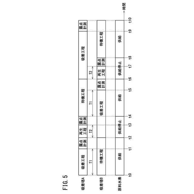
複数の前記吸着塔は、水素ガスを除湿する処理吸着塔と、吸着した水分を放出する再生吸着塔とを含み、前記再生吸着塔を再生する時に、前記処理吸着塔から前記再生吸着塔に除湿された水素ガスを供給し、前記再生吸着塔が吸着した水分を放出させて前記再生吸着塔を再生する、
電気化学式水素昇圧システム。
【請求項3】
請求項1に記載の電気化学式水素昇圧システムにおいて、
前記水素昇圧スタックと前記PSA装置とは、高圧水素供給流路により接続され、前記高圧水素供給流路には気液分離器が設けられている、
電気化学式水素昇圧システム。
【請求項4】
請求項1に記載の電気化学式水素昇圧システムにおいて、
前記戻し流路には、流通する前記再生水素ガスを減圧する減圧弁が設けられている、
電気化学式水素昇圧システム。
【請求項5】
請求項1に記載の電気化学式水素昇圧システムにおいて、
前記戻し流路には、流通する前記再生水素ガスの流量を調整する流量調整弁が設けられ、前記水素供給装置が有する密閉容器の内部圧力に基づいて、前記流量調整弁は、流通する前記再生水素ガスの流量を調整する、
電気化学式水素昇圧システム。
【請求項6】
請求項1に記載の電気化学式水素昇圧システムにおいて、
前記戻し流路の下流側の端部に設けられた水素放出口は、前記水素供給装置が有する密閉容器に貯留された液水の中に開口している、
電気化学式水素昇圧システム。
発明の詳細な説明
【技術分野】
【0001】
本開示は、電気化学式水素昇圧システムに関する。
続きを表示(約 1,500 文字)
【背景技術】
【0002】
近年、より多くの人々が手ごろで信頼でき、持続可能かつ先進的なエネルギーへのアクセスを確保できるようにするため、エネルギーの効率化に貢献する電気化学式水素昇圧システムに関する研究開発が行われている。
【0003】
特許文献1には、水素ガスを昇圧する電気化学式水素昇圧システムが開示されている。この電気化学式水素昇圧システムは、電気化学式水素昇圧装置を含む。電気化学式水素昇圧装置は、プロトン交換膜(電解質膜)と、プロトン交換膜の両側に設けられたアノード及びカソードとにより形成された単位セルを有し、アノード及びカソード間に電流を印加することで、アノードに供給された水素ガスを昇圧してカソードに高圧水素ガスを発生させる。
【0004】
特許文献2には、圧力スイング吸着により低露点空気を得るPSA式除湿装置が開示されている。このPSA式除湿装置は、吸着剤を収納した吸着容器内に処理空気を通す処理工程と再生空気を通す再生工程を交互に行い、圧力スイング吸着により低露点空気を得る。
【先行技術文献】
【特許文献】
【0005】
特開2022-94891号公報
特開2009-291732号公報
【発明の概要】
【発明が解決しようとする課題】
【0006】
ところで、電気化学式水素昇圧システムによって得られる高圧の水素ガスは多くの水分を含んでいる。したがって、例えば、車両等の移動体に搭載された燃料電池システムの水素タンクにこの水素ガスを供給するには、水素ガスに含まれる水分を除去する必要がある。この場合、PSA装置により水素ガスに含まれる水分を除去することが考えられる。
【0007】
PSA装置は、吸着剤を収納した少なくとも2つの吸着塔を有する。PSA装置は、一方の吸着塔の水分の吸着量が上限値に達した時に、他方の吸着塔に切り替えて水分の除去を継続するとともに一方の吸着塔には、再生用の水素ガスを流通させて吸着した水分を放出させる。再生に利用した再生水素ガスは多くの水分を含んでいるため燃料電池システムでの利用に適さず電気化学式水素昇圧システムの水素製造効率が低下する課題があった。
【0008】
本発明は、上述した課題を解決することを目的とする。
【課題を解決するための手段】
【0009】
本開示の第1の態様は、電解質膜と、前記電解質膜の一方の面に設けられたアノード電極と、前記電解質膜の他方の面に設けられたカソード電極とを含む単セルを有し、前記アノード電極に水素ガスを供給し、前記カソード電極から昇圧された高圧水素ガスを放出する水素昇圧スタックと、前記水素昇圧スタックに電圧を印加する電源装置と、水素供給流路を介して前記水素昇圧スタックに水素ガスを供給する水素供給装置と、前記水素昇圧スタックから放出された前記高圧水素ガスを除湿する複数の吸着塔を有するPSA装置と、を備え、前記吸着塔の再生に利用された再生水素ガスを前記水素昇圧スタックの前記水素供給流路又は前記水素供給装置に還流させる戻し流路を有する、電気化学式水素昇圧システムである。
【発明の効果】
【0010】
上記の態様によれば、再生に利用した再生水素ガスを戻し流路により水素昇圧スタックの水素供給流路又は水素供給装置に還流させるので、再生水素ガスを外部に排出することなく無駄なく利用することができる。したがって、電気化学式水素昇圧システムの水素製造効率の低下を抑制することができる。
【図面の簡単な説明】
(【0011】以降は省略されています)
この特許をJ-PlatPat(特許庁公式サイト)で参照する
関連特許
本田技研工業株式会社
モータ
6日前
本田技研工業株式会社
車両構造
6日前
本田技研工業株式会社
断続装置
4日前
本田技研工業株式会社
保持装置
3日前
本田技研工業株式会社
会話装置
2日前
本田技研工業株式会社
車両構造
6日前
本田技研工業株式会社
受電装置
4日前
本田技研工業株式会社
内燃機関
9日前
本田技研工業株式会社
ステータ
2日前
本田技研工業株式会社
送電装置
4日前
本田技研工業株式会社
内燃機関
9日前
本田技研工業株式会社
バッテリ
3日前
本田技研工業株式会社
バッテリ
3日前
本田技研工業株式会社
保管装置
4日前
本田技研工業株式会社
切断装置
2日前
本田技研工業株式会社
保管装置
4日前
本田技研工業株式会社
固体電池
4日前
本田技研工業株式会社
リンク機構
2日前
本田技研工業株式会社
リアクトル
9日前
本田技研工業株式会社
潤滑システム
4日前
本田技研工業株式会社
運転制御装置
6日前
本田技研工業株式会社
鞍乗り型車両
3日前
本田技研工業株式会社
電源システム
4日前
本田技研工業株式会社
放電処理方法
4日前
本田技研工業株式会社
分離システム
6日前
本田技研工業株式会社
鞍乗り型車両
2日前
本田技研工業株式会社
鞍乗り型車両
2日前
本田技研工業株式会社
遠心ファン構造
3日前
本田技研工業株式会社
遠心ファン構造
3日前
本田技研工業株式会社
リリーフバルブ
3日前
本田技研工業株式会社
車両用冷却装置
2日前
本田技研工業株式会社
モータ制御装置
4日前
本田技研工業株式会社
車両用冷却装置
2日前
本田技研工業株式会社
能動型防振装置
6日前
本田技研工業株式会社
CO2電解装置
2日前
本田技研工業株式会社
CO2変換方法
2日前
続きを見る
他の特許を見る