TOP
|
特許
|
意匠
|
商標
特許ウォッチ
Twitter
他の特許を見る
公開番号
2025149896
公報種別
公開特許公報(A)
公開日
2025-10-08
出願番号
2025018386
出願日
2025-02-06
発明の名称
ガラス物品の製造方法
出願人
日本電気硝子株式会社
代理人
個人
,
個人
,
個人
主分類
C03B
25/12 20060101AFI20251001BHJP(ガラス;鉱物またはスラグウール)
要約
【課題】徐冷炉の温度管理を精度良く行う。
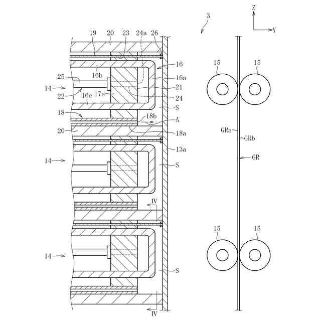
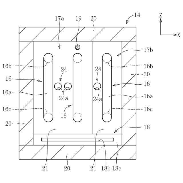
【解決手段】ガラス物品の製造方法は、徐冷炉3内でガラスリボンGRを徐冷する徐冷工程S2を備える。徐冷炉3は、ガラスリボンGRと対向する壁部材13a,13bと、壁部材13a~13dを加熱する加熱器16と、壁部材13a,13bを冷却する冷却器18とを備える。徐冷工程S2では、加熱器16によって壁部材13a,13bを加熱しながら、冷却器18によって壁部材13a,13bを冷却する。
【選択図】図3
特許請求の範囲
【請求項1】
徐冷炉内でガラスリボンを徐冷する徐冷工程を備えるガラス物品の製造方法であって、
前記徐冷炉は、前記ガラスリボンと対向する壁部材と、前記壁部材の温度を調整するヒータユニットとを備え、
前記ヒータユニットは、前記壁部材を加熱する加熱器と、前記壁部材を冷却する冷却器とを備え、
前記徐冷工程では、前記加熱器によって前記壁部材を加熱しながら、前記冷却器によって前記壁部材を冷却することを特徴とするガラス物品の製造方法。
続きを表示(約 490 文字)
【請求項2】
前記冷却器は、前記壁部材に気体を吹き付ける冷却ノズルを有する請求項1に記載のガラス物品の製造方法。
【請求項3】
前記冷却ノズルは、扁平状に構成される請求項2に記載のガラス物品の製造方法。
【請求項4】
前記ヒータユニットは、前記壁部材の温度を測定する温度計を備え、
前記徐冷工程では、前記ヒータユニットの上部及び下部の一方に配置された前記温度計によって前記壁部材の温度を測定するとともに、前記ヒータユニットの前記上部及び前記下部の他方に配置された前記冷却ノズルによって前記壁部材に向かって前記気体を吹き付ける請求項2又は3に記載のガラス物品の製造方法。
【請求項5】
前記徐冷工程では、前記壁部材を500℃以上900℃以下の温度になるように加熱する請求項1から3のいずれか一項に記載のガラス物品の製造方法。
【請求項6】
前記徐冷炉は、前記加熱器を保持する保持レンガを備え、
前記保持レンガは、前記気体を排気する排気口を有する請求項2又は3に記載のガラス物品の製造方法。
発明の詳細な説明
【技術分野】
【0001】
本発明は、ガラス物品の製造方法に関する。
続きを表示(約 1,400 文字)
【背景技術】
【0002】
周知のように、液晶ディスプレイ、有機ELディスプレイ等のディスプレイには、ガラス基板やカバーガラスとしてガラス板が使用されている。ガラス板の製造方法としては、ダウンドロー法が広く利用されている。ダウンドロー法としては、例えばオーバーフローダウンドロー法やスロットダウンドロー法が公知である。
【0003】
オーバーフローダウンドロー法は、断面が略くさび形の成形体の上部に設けられたオーバーフロー溝に溶融ガラスを流し込み、このオーバーフロー溝から溢れ出た溶融ガラスを成形体の両側の側壁部に沿って流下させながら、成形体の下端部で融合一体化し、一枚のガラスリボンを連続成形するというものである。また、スロットダウンドロー法は、溶融ガラスが供給される成形体の底壁にスロット状の開口部が形成され、この開口部を通じて溶融ガラスを流下させることにより一枚のガラスリボンを連続成形するというものである。
【0004】
例えば特許文献1は、オーバーフローダウンドロー法を用いるガラス板の製造方法を開示している。この製造方法では、成形体によって溶融ガラスからガラスリボンを成形する成形炉(成形ゾーン)と、成形炉から降下するガラスリボンを下方に案内しつつ徐冷する徐冷炉(徐冷ゾーン)と、徐冷炉を通過したガラスリボンを支持ローラにより下方に牽引しつつ冷却する冷却室(冷却ゾーン)とを用いて、冷却室を通過したガラスリボンを帯状のガラス板(ガラスフィルム)として取得する(同文献の請求項1参照)。
【0005】
徐冷炉では、複数のヒータによって加熱されることで、上下方向において所定の温度勾配が設定されている(同文献の段落0034参照)。これにより、徐冷炉を通過するガラスリボンは、歪が抑制されるように徐々に冷却されることになる。
【先行技術文献】
【特許文献】
【0006】
特開2022-91351号公報
【発明の概要】
【発明が解決しようとする課題】
【0007】
徐冷炉において、歪が抑制された高品質なガラスリボンを製造するには、徐冷炉における温度勾配の管理を精度良く行う必要がある。このため、徐冷炉に配されるヒータによる加熱温度を高精度で制御する必要があった。
【0008】
本発明は上記の事情に鑑みてなされたものであり、徐冷炉の温度管理を精度良く行うことを技術的課題とする。
【課題を解決するための手段】
【0009】
(1) 本発明は上記の課題を解決するためのものであり、徐冷炉内でガラスリボンを徐冷する徐冷工程を備えるガラス物品の製造方法であって、前記徐冷炉は、前記ガラスリボンと対向する壁部材と、前記壁部材の温度を調整するヒータユニットとを備え、前記ヒータユニットは、前記壁部材を加熱する加熱器と、前記壁部材を冷却する冷却器とを備え、前記徐冷工程では、前記加熱器によって前記壁部材を加熱しながら、前記冷却器によって前記壁部材を冷却することを特徴とする。
【0010】
かかる構成によれば、加熱器によって壁部材を加熱しながら、冷却器によって壁部材を冷却することで、応答性を向上でき、壁部材の加熱温度を精度良く調整することが可能になる。これにより、歪の抑制された高品質なガラス物品を安定的に製造することができる。
(【0011】以降は省略されています)
この特許をJ-PlatPat(特許庁公式サイト)で参照する
関連特許
日本電気硝子株式会社
ガラス物品の製造方法
5日前
個人
ガラス製品の製造方法
3か月前
日本電気硝子株式会社
封着材料ペースト
6日前
信越化学工業株式会社
ガラス母材の延伸方法
3か月前
AGC株式会社
車両用窓ガラスとその製造方法
11日前
ノリタケ株式会社
封止用グリーンシート
3日前
AGC株式会社
感光性ガラス
1か月前
日本電気硝子株式会社
ガラスの製造方法
2か月前
ノリタケ株式会社
ガラス接合材およびその利用
3日前
信越化学工業株式会社
光ファイバ母材の製造方法
2か月前
AGC株式会社
複層ガラス、高地対応複層ガラス
25日前
ノリタケ株式会社
ガラス接合材及びその利用
3日前
日本板硝子株式会社
ビル用複層ガラス
1か月前
日本電気硝子株式会社
ガラス製造装置
11日前
ノリタケ株式会社
ガラス接合材及びその利用
3日前
日本板硝子株式会社
車両用合わせガラス体
3か月前
日本電気硝子株式会社
ガラス板の製造方法
24日前
白金科技股分有限公司
微小球およびその調製方法
3か月前
AGC株式会社
合わせガラス
1か月前
信越化学工業株式会社
石英ガラス棒およびその製造方法
17日前
ノリタケ株式会社
組立体の製造方法および組立体
3日前
日本電気硝子株式会社
ガラス物品の製造方法
1か月前
AGC株式会社
ガラス及びその製造方法
3か月前
日本電気硝子株式会社
ガラス物品の製造方法
5日前
日本板硝子株式会社
車両用調光合わせガラス
3か月前
AGC株式会社
成形装置、及び成形方法
3か月前
AGC株式会社
積層体及び移動体
4日前
住友電気工業株式会社
光ファイバの製造方法
2か月前
住友電気工業株式会社
光ファイバの製造装置
2か月前
住友電気工業株式会社
光ファイバの製造方法
1か月前
住友電気工業株式会社
光ファイバ母材の製造方法
1か月前
日本電気硝子株式会社
減圧脱泡装置及びガラス製造装置
11日前
日本電気硝子株式会社
ガラス物品の製造方法及び製造装置
1か月前
日本電気硝子株式会社
溶融装置及びガラス物品の製造方法
2か月前
住友ゴム工業株式会社
ポリマー被覆ガラス基材
2か月前
日本電気硝子株式会社
ガラス
2か月前
続きを見る
他の特許を見る