TOP
|
特許
|
意匠
|
商標
特許ウォッチ
Twitter
他の特許を見る
公開番号
2025142715
公報種別
公開特許公報(A)
公開日
2025-10-01
出願番号
2024042227
出願日
2024-03-18
発明の名称
防災設備の製造管理システム
出願人
能美防災株式会社
代理人
弁理士法人きさ特許商標事務所
主分類
G06Q
50/04 20120101AFI20250924BHJP(計算;計数)
要約
【課題】防災設備の効率的な製造管理を支援することのできる防災設備の製造管理システムを得る。
【解決手段】防災設備の納入日と、防災設備を製造する特定の工程の完了日とを取得する取得部と、納入日の前に、完了日において特定の工程が完了するように、防災設備を製造する複数の工程を含む製造スケジュールを生成するスケジュール生成部とを備えた防災設備の製造管理システム。
【選択図】図5
特許請求の範囲
【請求項1】
防災設備の製造管理システムであって、
前記防災設備の納入日と、前記防災設備を製造する特定の工程の完了日とを取得する取得部と、
前記納入日の前に、前記完了日において特定の工程が完了するように、前記防災設備を製造する複数の工程を含む製造スケジュールを生成するスケジュール生成部とを備えた
防災設備の製造管理システム。
続きを表示(約 720 文字)
【請求項2】
電気通信事業者との通信契約を伴って通信する通信手段を備えた防災設備の製造管理システムであって、
前記防災設備の納入日、前記防災設備の検定日、及び前記通信契約の手配予定日を取得する取得部と、
前記納入日の前に、前記通信契約が完了した前記通信手段を前記防災設備に組み込むという第1条件、及び、前記検定日において検定を受検できるという第2条件を満たすように、前記防災設備を製造する複数の工程を含む製造スケジュールを生成するスケジュール生成部とを備えた
防災設備の製造管理システム。
【請求項3】
前記手配予定日の変更希望日又は前記検定日における受検の可否の入力を受け付ける予定入力部を備え、
前記スケジュール生成部は、前記手配予定日の前記変更希望日又は前記検定日における受検が否であることが入力された場合には、前記変更希望日が満たされるように、又は他の前記検定日に基づいて、前記製造スケジュールを更新する
請求項2に記載の防災設備の製造管理システム。
【請求項4】
前記第1条件及び前記第2条件を満たす前記製造スケジュールを生成できない場合に、新たな前記納入日の設定を促す報知部を備えた
請求項2又は請求項3に記載の防災設備の製造管理システム。
【請求項5】
前記製造スケジュールをフローチャート又はガントチャートにより表示する表示部を備え、
前記表示部は、前記製造スケジュールに含まれる前記複数の工程のそれぞれを、進捗状況に応じた態様で表示する
請求項1又は請求項2に記載の防災設備の製造管理システム。
発明の詳細な説明
【技術分野】
【0001】
本発明は、電気通信事業者との通信契約を伴って通信する通信手段を備えた防災設備の製造管理システムに関する。
続きを表示(約 1,900 文字)
【背景技術】
【0002】
消防法では、防火対象物となる建物等の条件に応じて、自動火災報知設備の設置が義務づけられている。自動火災報知設備の火災受信機、非常警報設備、及び非常放送設備等の防災設備は、一般に、工場で製作されて検定を受けた後、納入先の建物に納入される。製作された防災設備には、納入先の建物に応じたデータベースが組み込まれ、納入後の防災設備は建物に応じた動作を行うように構成される。近年においては、インターネット等の通信ネットワークを介して携帯端末等と通信できる火災受信機等の防災設備が提案されている(例えば、特許文献1参照)。
【先行技術文献】
【特許文献】
【0003】
特開2023-148283号公報
【発明の概要】
【発明が解決しようとする課題】
【0004】
防災設備の製造の開始から納入までの間には、部材の調達、組み立て、及び建物のごとのデータベースの作成を含め、複数の部署による複数の工程を必要とする。この工程には、日本消防検定協会又は登録検定機関による検定の受検も含まれ、納入日よりも前に検定を受ける必要がある。検定日は、日本消防検定協会等によって予め定められており、例えば1ヶ月に2回等であって検定の機会は限られている。また、電気通信事業者との通信契約を伴って通信する通信手段を備えた防災設備は、納入日よりも前に通信契約を行う必要があるが、一般に通信契約の締結時から費用が発生するため、なるべく納入日に近い日に通信契約を締結したいという要請がある。
【0005】
このように、防災設備の製造には、複数の部署が関与する複数の工程に対し、例えば通信契約及び検定という工程も加わって複雑化しており、製造工程全体のスケジュール調整を行うユーザの負荷が大きいという課題があった。
【0006】
本発明は、防災設備の効率的な製造管理を支援することのできる防災設備の製造管理システムを提供するものである。
【課題を解決するための手段】
【0007】
本発明に係る防災設備の製造管理システムは、前記防災設備の納入日と、前記防災設備を製造する特定の工程の完了日とを取得する取得部と、前記納入日の前に、前記完了日において特定の工程が完了するように、前記防災設備を製造する複数の工程を含む製造スケジュールを生成するスケジュール生成部とを備えたものである。
本発明に係る防災設備の製造管理システムは、電気通信事業者との通信契約を伴って通信する通信手段を備えた防災設備の製造管理システムであって、前記防災設備の納入日、前記防災設備の検定日、及び前記通信契約の手配予定日を取得する取得部と、前記納入日の前に、前記通信契約が完了した前記通信手段を前記防災設備に組み込むという第1条件、及び、前記検定日において検定を受検できるという第2条件を満たすように、前記防災設備を製造する複数の工程を含む製造スケジュールを生成するスケジュール生成部とを備えたものである。
【発明の効果】
【0008】
本発明によれば、防災設備の効率的な製造管理を支援することができる。
【図面の簡単な説明】
【0009】
実施の形態に係る防災設備の製造管理システムの適用例を示す図である。
実施の形態に係る火災受信機の製造開始から納入までの概略的な製造工程を示す図である。
実施の形態に係るサーバの概略構成を示すブロック図である。
実施の形態に係る端末装置の概略構成を示すブロック図である。
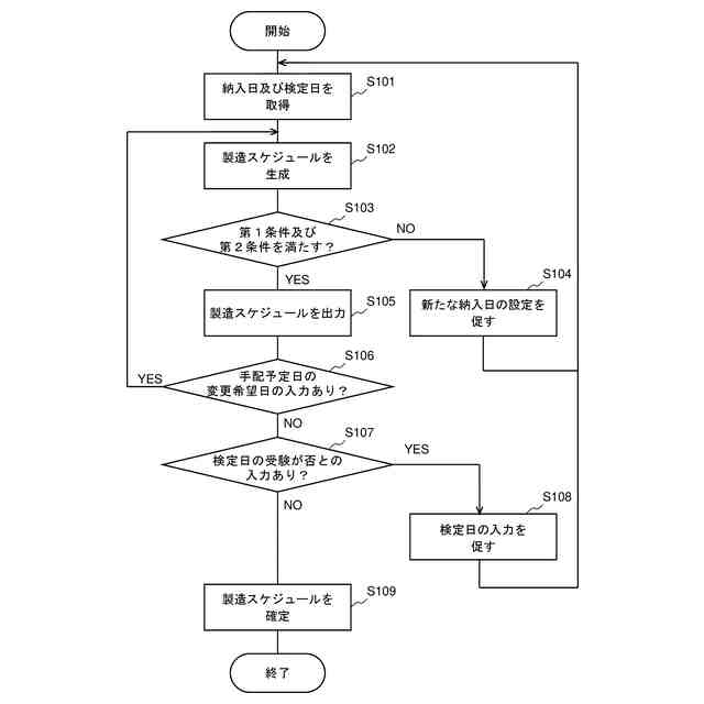
実施の形態に係る製造管理システムの動作例を示すフローチャートである。
実施の形態に係る製造スケジュールのチャート表示例である。
【発明を実施するための形態】
【0010】
以下、本発明の実施の形態を、図面を参照して説明する。本発明は、以下の実施の形態に限定されるものではなく、本発明の主旨を逸脱しない範囲で種々に変形することが可能である。また、本発明は、以下の実施の形態に示す構成のうち、組合せ可能な構成のあらゆる組合せを含むものである。また、図面に示す装置は、本発明の装置の一例を示すものであり、図面に示された装置によって本発明の装置が限定されるものではない。また、各図において、同一の符号を付したものは、同一の又はこれに相当するものであり、これは明細書の全文において共通している。
(【0011】以降は省略されています)
この特許をJ-PlatPat(特許庁公式サイト)で参照する
関連特許
能美防災株式会社
警報器
2か月前
能美防災株式会社
表示灯
23日前
能美防災株式会社
消火設備
2日前
能美防災株式会社
炎検知器
1か月前
能美防災株式会社
発信装置
1か月前
能美防災株式会社
無線機器
1か月前
能美防災株式会社
現地操作盤
1か月前
能美防災株式会社
火災感知器
28日前
能美防災株式会社
火災受信機
25日前
能美防災株式会社
火災感知器
1か月前
能美防災株式会社
携帯型電灯
今日
能美防災株式会社
火災感知器
2か月前
能美防災株式会社
防災システム
2日前
能美防災株式会社
散水システム
1か月前
能美防災株式会社
感知器ベース
4日前
能美防災株式会社
非常伝達装置
1か月前
能美防災株式会社
水噴霧ヘッド
今日
能美防災株式会社
防災システム
22日前
能美防災株式会社
ガス検出装置
1か月前
能美防災株式会社
避難システム
1か月前
能美防災株式会社
避難システム
25日前
能美防災株式会社
火災監視システム
1か月前
能美防災株式会社
防災管理システム
25日前
能美防災株式会社
災害通報システム
25日前
能美防災株式会社
延焼防止システム
25日前
能美防災株式会社
火災監視システム
24日前
能美防災株式会社
中継器の配線接続構造
16日前
能美防災株式会社
消火剤貯蔵容器カバー
2か月前
能美防災株式会社
スプリンクラ消火設備
1日前
能美防災株式会社
ガス警報器用の試験器
28日前
能美防災株式会社
警報器及び警報システム
2か月前
能美防災株式会社
煙感知器用の加煙試験器
28日前
能美防災株式会社
泡消火方法及び泡消火設備
23日前
能美防災株式会社
塵芥車の火災検知システム
2日前
能美防災株式会社
差動式分布型感知器の空気管
2か月前
能美防災株式会社
防災設備の製造管理システム
2日前
続きを見る
他の特許を見る