TOP
|
特許
|
意匠
|
商標
特許ウォッチ
Twitter
他の特許を見る
公開番号
2025145654
公報種別
公開特許公報(A)
公開日
2025-10-03
出願番号
2024045947
出願日
2024-03-22
発明の名称
スプリンクラヘッドの散水反射板
出願人
能美防災株式会社
代理人
個人
主分類
A62C
31/28 20060101AFI20250926BHJP(人命救助;消防)
要約
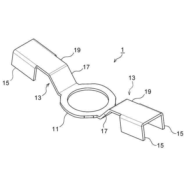
【課題】デフレクタを支持する支持部材の背面側における散水量を安定して得ることができるスプリンクラヘッドの散水反射板を提供する。
【解決手段】本発明に係るスプリンクラヘッドの散水反射板1は、デフレクタ7を備えたスプリンクラヘッド3に設けられ、デフレクタ7の上方でデフレクタ7に対向するように配置されるものであって、スプリンクラヘッド3に取り付けるための取付部11と、取付部11に連続し、取付状態においてデフレクタ7の径方向に延出する反射面部13と、反射面部13の両側縁の一部から下方に延出する一対の側壁部15と、を有することを特徴とするものである。
【選択図】 図1
特許請求の範囲
【請求項1】
デフレクタを備えたスプリンクラヘッドに設けられ、前記デフレクタの上方で前記デフレクタに対向するように配置される散水反射板であって、
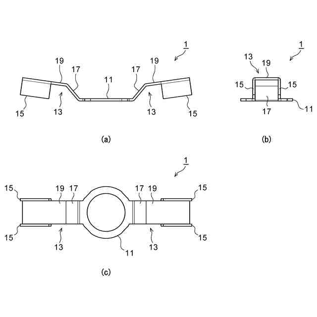
前記スプリンクラヘッドに取り付けるための取付部と、該取付部に連続し、取付状態において前記デフレクタの径方向に延出する反射面部と、反射面部の両側縁の一部から下方に延出する一対の側壁部と、を有することを特徴とするスプリンクラヘッドの散水反射板。
続きを表示(約 210 文字)
【請求項2】
前記側壁部は、前記反射面部の先端を含む端部側に設けられていることを特徴とする請求項1に記載のスプリンクラヘッドの散水反射板。
【請求項3】
前記反射面部は、前記取付部から傾斜して立ち上がる傾斜片部と、該傾斜片部に連続して傾斜角度が前記傾斜片部よりも緩くなった横片部を有し、
前記側壁部は前記横片部に設けられていることを特徴とする請求項1又は2に記載のスプリンクラヘッドの散水反射板。
発明の詳細な説明
【技術分野】
【0001】
本発明は、デフレクタを備えたスプリンクラヘッドに設けられ、デフレクタによる消火水の均一散布を補助する散水反射板に関する。
続きを表示(約 1,200 文字)
【背景技術】
【0002】
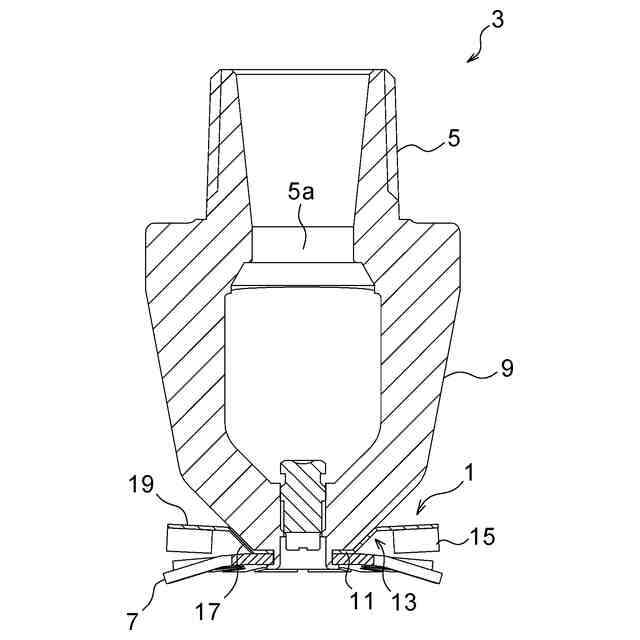
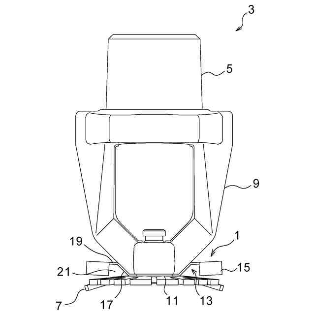
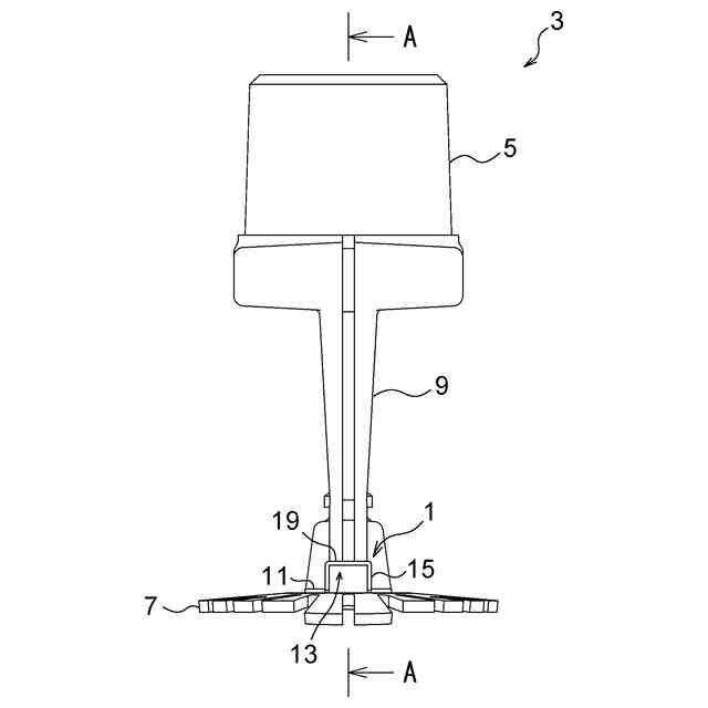
スプリンクラヘッドは、火災の熱を感知して消火水を散布するものである。従来のスプリンクラヘッドには、所定の散水分布を得られるようにするため、放水口から放出される消火水を衝突させて周方向均一に分散させるデフレクタが設けられている。
【0003】
フレーム型のスプリンクラヘッドでは、デフレクタを支持するための支持部材として、馬蹄形のフレームが設けられている。
フレームは、放水口を有するヘッド本体の下端から2本のアームが下方に延びるように形成されており、フレームの下端に、放水口に所定の距離を設けて対向するようにデフレクタが支持されている。
【0004】
ヘッド本体の放水口から放出された消火水は、デフレクタに衝突してデフレクタに案内されながら外周縁部に向かうが、デフレクタの表面には上述したフレームが立設されているため、消火水の一部はデフレクタに到達する前にフレームによって遮られる。
【0005】
したがって、放水口からフレームを見たときのフレームの背面側(以下、単に「フレームの背面側」という)には消火水が回りにくくなり、これによって、フレームの背面側に相当する方向への散水量が他の方向への散水量と比べて少なくなっていた。
【0006】
そこで、フレームの背面側にも十分な散水量が得られるようにするため、特許文献1においては、デフレクタとフレームとの間に、フレームとほぼ同じ幅の散水反射板をデフレクタと対向するように設けている。
【0007】
デフレクタに衝突した消火水は、周方向に分散してデフレクタの外周縁部に向かうが、その一部がフレームに衝突し、フレームの背面に沿って上方に向かっても飛散する。
散水反射板を設けることで、この上方に向かう消火水が散水反射板の下面に衝突して、その進行方向を変えられながらフレームの背面側に飛散する。
【先行技術文献】
【特許文献】
【0008】
特開2001-46544号公報
【発明の概要】
【発明が解決しようとする課題】
【0009】
上記のように、デフレクタを有するスプリンクラヘッドに散水反射板を設けることで、デフレクタを支持する支持部材(フレーム)の背面側にも消火水を十分に散布できるようになる。しかし、散水反射板を設けたとしても、支持部材の背面側における散水量が安定しない場合があり、これにより、均一な散水分布を安定して得ることができないという問題があった。
【0010】
本発明は、上記のような課題を解決するためになされたものであり、デフレクタを支持する支持部材の背面側における散水量を安定して得ることができるスプリンクラヘッドの散水反射板を提供することを目的とする。
【課題を解決するための手段】
(【0011】以降は省略されています)
この特許をJ-PlatPat(特許庁公式サイト)で参照する
関連特許
能美防災株式会社
表示灯
28日前
能美防災株式会社
警報器
2か月前
能美防災株式会社
無線機器
2か月前
能美防災株式会社
消火設備
7日前
能美防災株式会社
炎検知器
1か月前
能美防災株式会社
照射装置
今日
能美防災株式会社
発信装置
1か月前
能美防災株式会社
火災感知器
1か月前
能美防災株式会社
火災受信機
1か月前
能美防災株式会社
携帯型電灯
5日前
能美防災株式会社
現地操作盤
1か月前
能美防災株式会社
火災感知器
1か月前
能美防災株式会社
火災感知器
2か月前
能美防災株式会社
火災受信機
1日前
能美防災株式会社
散水システム
1か月前
能美防災株式会社
防災システム
27日前
能美防災株式会社
避難システム
1か月前
能美防災株式会社
車両システム
今日
能美防災株式会社
感知器ベース
9日前
能美防災株式会社
非常伝達装置
1か月前
能美防災株式会社
避難システム
1か月前
能美防災株式会社
車両システム
今日
能美防災株式会社
防災システム
7日前
能美防災株式会社
ガス検出装置
1か月前
能美防災株式会社
感知システム
今日
能美防災株式会社
感知システム
今日
能美防災株式会社
水噴霧ヘッド
5日前
能美防災株式会社
火災監視システム
1か月前
能美防災株式会社
災害通報システム
1か月前
能美防災株式会社
防災管理システム
1か月前
能美防災株式会社
延焼防止システム
1か月前
能美防災株式会社
異常検出システム
今日
能美防災株式会社
火災監視システム
29日前
能美防災株式会社
画像表示システム
1日前
能美防災株式会社
スプリンクラ消火設備
6日前
能美防災株式会社
中継器の配線接続構造
21日前
続きを見る
他の特許を見る