TOP
|
特許
|
意匠
|
商標
特許ウォッチ
Twitter
他の特許を見る
10個以上の画像は省略されています。
公開番号
2025125648
公報種別
公開特許公報(A)
公開日
2025-08-28
出願番号
2024021706
出願日
2024-02-16
発明の名称
ワークステージ、露光装置、及び露光方法
出願人
ウシオ電機株式会社
代理人
弁理士法人南青山国際特許事務所
主分類
G03F
7/20 20060101AFI20250821BHJP(写真;映画;光波以外の波を使用する類似技術;電子写真;ホログラフイ)
要約
【課題】高精度な露光を可能とするワークステージ、露光装置、及び露光方法を提供すること。
【解決手段】本技術の一形態に係るワークステージは、保持部材と、吸着部とを具備する。前記保持部材は、所定の方向に移動可能であり、物体を保持する。前記吸着部は、前記物体が吸着される吸着面と、前記吸着面に構成され前記保持部材が貫通する第1の孔と、前記吸着面に構成され前記保持部材が貫通しない第2の孔と、前記第1の孔の内面と前記保持部材との間に配置され、前記内面と前記保持部材との間を密閉可能である密閉部材とを有する。前記密閉部材による密閉がされた状態下で、前記第1の孔及び前記第2の孔を減圧させる減圧手段を用いることで、前記物体を前記吸着面に吸着させ、前記物体が吸着された状態下で、前記第2の孔を昇圧させずに前記第1の孔のみを昇圧させる昇圧手段を用いる。
【選択図】図3A
特許請求の範囲
【請求項1】
所定の方向に移動可能であり、物体を保持する保持部材と、
前記物体が吸着される吸着面と、
前記吸着面に構成され、前記保持部材が貫通する第1の孔と、
前記吸着面に構成され、前記保持部材が貫通しない第2の孔と、
前記第1の孔の内面と前記保持部材との間に配置され、前記内面と前記保持部材との間を密閉可能である密閉部材とを有する
吸着部とを具備し、
前記密閉部材による密閉がされた状態下で、前記第1の孔及び前記第2の孔を減圧させる減圧手段を用いることで、前記物体を前記吸着面に吸着させ、
前記物体が吸着された状態下で、前記第2の孔を昇圧させずに前記第1の孔のみを昇圧させる昇圧手段を用いる
ワークステージ。
続きを表示(約 1,300 文字)
【請求項2】
請求項1に記載のワークステージであって、
前記保持部材は、貫通孔を有し、
前記昇圧手段は、前記密閉がされた状態下で、前記貫通孔を介して前記第1の孔を昇圧させる手段である
ワークステージ。
【請求項3】
請求項1又は2に記載のワークステージであって、
前記密閉部材は環形状を有し、前記保持部材を囲むように配置され、内径が前記第1の部分の径と同一であり、
前記物体を吸着させる際には、前記保持部材を移動させ、前記第1の部分を前記密閉部材に当接させることにより、前記密閉がされた状態とし、
前記昇圧手段は、前記保持部材を移動させ、前記第2の部分を前記密閉部材に対向させることにより、前記第2の部分と前記密閉部材との隙間を介して前記第1の孔を昇圧させる手段である
ワークステージ。
【請求項4】
請求項3に記載のワークステージであって、
前記第2の部分は、前記径が連続的に変化するテーパ部を含む
ワークステージ。
【請求項5】
請求項1又は2に記載のワークステージであって、
前記密閉部材は環形状を有し、前記保持部材を囲むように、前記保持部材と一体的に移動可能であるように取り付けられ、
前記物体を吸着させる際には、前記保持部材を移動させ、前記密閉部材を前記第1の孔の内面に当接させることにより、前記密閉がされた状態とする
ワークステージ。
【請求項6】
請求項5に記載のワークステージであって、
前記昇圧手段は、前記保持部材を移動させ、前記密閉部材を前記第1の孔の内面から離間させることにより、前記第1の孔の内面と前記保持部材との隙間を介して前記第1の孔を昇圧させる手段である
ワークステージ。
【請求項7】
請求項1又は2に記載のワークステージであって、
前記減圧手段は、前記第2の孔を減圧させることにより、前記吸着面と前記物体との間の空間を介して前記第1の孔を減圧させる手段である
ワークステージ。
【請求項8】
請求項1又は2に記載のワークステージであって、
前記保持部材は、貫通孔を有し、
前記減圧手段は、前記貫通孔を介して前記第1の孔を減圧させることにより、前記吸着面と前記物体との間の空間を介して前記第2の孔を減圧させる手段である
ワークステージ。
【請求項9】
請求項1又は2に記載のワークステージであって、
前記保持部材は、貫通孔を有し、前記物体の保持中に前記貫通孔を減圧させることにより、前記保持部材に前記物体を吸着させる
ワークステージ。
【請求項10】
請求項1又は2に記載のワークステージであって、
前記吸着部は、ベース、及びベースに当接して配置され前記吸着面を有する吸着ステージからなり、
前記第1の孔及び前記第2の孔は、それぞれ前記ベース及び前記吸着ステージに渡って構成され、
前記密閉部材は、前記ベースの前記第1の孔の内部に配置される
ワークステージ。
(【請求項11】以降は省略されています)
発明の詳細な説明
【技術分野】
【0001】
本発明は、ワークステージ、露光装置、及び露光方法に関する。
続きを表示(約 1,300 文字)
【背景技術】
【0002】
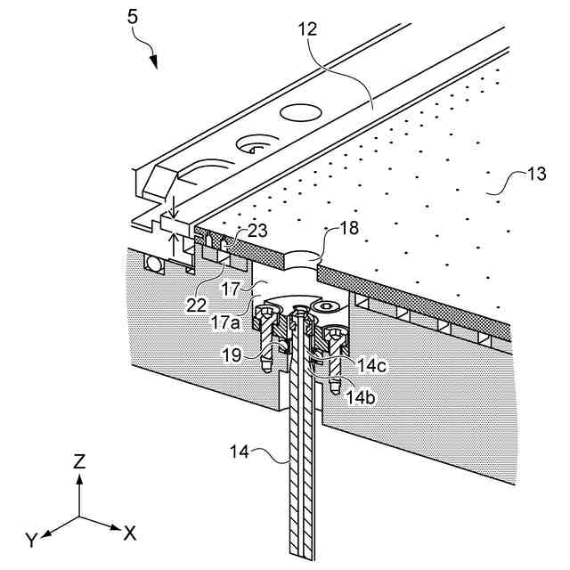
特許文献1には、昇降ピンを用いてワークを真空吸着ステージに載置する露光装置について開示されている。この露光装置では、昇降ピンが下降した際に鍔部材が蓋部材に密着することにより、昇降ピンが配置される孔に対する真空リークが防止される。
【先行技術文献】
【特許文献】
【0003】
特開2012-151407号公報
【発明の概要】
【発明が解決しようとする課題】
【0004】
このような露光装置において、高精度な露光を可能とする技術が求められている。
【0005】
以上のような事情に鑑み、本発明の目的は、高精度な露光を可能とするワークステージ、露光装置、及び露光方法を提供することにある。
【課題を解決するための手段】
【0006】
上記目的を達成するため、本技術の一形態に係るワークステージは、保持部材と、吸着部とを具備する。
前記保持部材は、所定の方向に移動可能であり、物体を保持する。
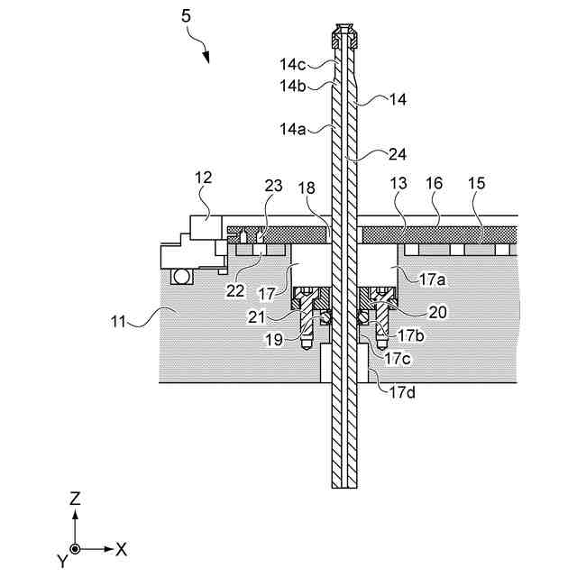
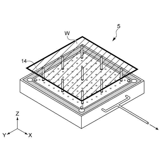
前記吸着部は、前記物体が吸着される吸着面と、前記吸着面に構成され前記保持部材が貫通する第1の孔と、前記吸着面に構成され前記保持部材が貫通しない第2の孔と、前記第1の孔の内面と前記保持部材との間に配置され、前記内面と前記保持部材との間を密閉可能である密閉部材とを有する。
前記密閉部材による密閉がされた状態下で、前記第1の孔及び前記第2の孔を減圧させる減圧手段を用いることで、前記物体を前記吸着面に吸着させ、前記物体が吸着された状態下で、前記第2の孔を昇圧させずに前記第1の孔のみを昇圧させる昇圧手段を用いる。
【0007】
このワークステージでは、保持部材が貫通する第1の孔と、保持部材が貫通しない第2の孔とを減圧させることにより、物体を吸着面に吸着させ、その状態下で、第2の孔を昇圧させずに第1の孔のみを昇圧させる。これにより、高精度な露光が可能となる。
【0008】
前記保持部材は、貫通孔を有してもよい。この場合、前記昇圧手段は、前記密閉がされた状態下で、前記貫通孔を介して前記第1の孔を昇圧させる手段であってもよい。
【0009】
前記保持部材は、第1の部分と、径が第1の部分よりも小さい第2の部分とを有する棒形状の部材であってもよい。この場合、前記密閉部材は環形状を有し、前記保持部材を囲むように配置され、内径が前記第1の部分の径と同一であってもよい。また、前記物体を吸着させる際には、前記保持部材を移動させ、前記第1の部分を前記密閉部材に当接させることにより、前記密閉がされた状態としてもよい。また、前記昇圧手段は、前記保持部材を移動させ、前記第2の部分を前記密閉部材に対向させることにより、前記第2の部分と前記密閉部材との隙間を介して前記第1の孔を昇圧させる手段であってもよい。
【0010】
前記第2の部分は、前記径が連続的に変化するテーパ部を含んでもよい。
(【0011】以降は省略されています)
この特許をJ-PlatPat(特許庁公式サイト)で参照する
関連特許
ウシオ電機株式会社
光源装置
4日前
ウシオ電機株式会社
紫外光照射装置
4日前
ウシオ電機株式会社
赤外LED素子
5日前
ウシオ電機株式会社
光源装置及び回転体
4日前
ウシオ電機株式会社
マイクロ流体デバイス
今日
ウシオ電機株式会社
半導体レーザ素子および発光装置
4日前
国立大学法人 東京大学
ガス処理方法
4日前
ウシオ電機株式会社
分布帰還型半導体レーザおよびその製造方法
8日前
株式会社シグマ
絞りユニット
19日前
キヤノン株式会社
撮像装置
1か月前
キヤノン株式会社
撮像装置
12日前
キヤノン株式会社
撮像装置
18日前
平和精機工業株式会社
雲台
1か月前
株式会社リコー
画像形成装置
1か月前
株式会社リコー
画像形成装置
26日前
株式会社リコー
画像形成装置
3か月前
株式会社リコー
画像形成装置
2か月前
株式会社リコー
画像形成装置
1か月前
株式会社リコー
画像形成装置
1か月前
株式会社リコー
画像形成装置
3か月前
株式会社リコー
画像形成装置
3か月前
株式会社リコー
画像形成装置
8日前
キヤノン株式会社
画像形成装置
1か月前
キヤノン株式会社
画像形成装置
2か月前
シャープ株式会社
画像形成装置
1か月前
キヤノン株式会社
トナー
1か月前
キヤノン株式会社
画像形成装置
2か月前
キヤノン株式会社
トナー
3か月前
キヤノン株式会社
画像形成装置
2か月前
キヤノン株式会社
画像形成装置
1か月前
キヤノン株式会社
トナー
4日前
キヤノン株式会社
画像形成装置
2か月前
株式会社オプトル
プロジェクタ
11日前
キヤノン株式会社
トナー
3か月前
トヨタ自動車株式会社
撮像方法
3か月前
キヤノン株式会社
トナー
3か月前
続きを見る
他の特許を見る