TOP
|
特許
|
意匠
|
商標
特許ウォッチ
Twitter
他の特許を見る
10個以上の画像は省略されています。
公開番号
2025126889
公報種別
公開特許公報(A)
公開日
2025-08-29
出願番号
2024221173
出願日
2024-12-17
発明の名称
液晶素子、弱アンカリング膜形成用液晶配向剤及び液晶素子の製造方法
出願人
JSR株式会社
代理人
個人
,
個人
,
個人
主分類
G02F
1/1337 20060101AFI20250822BHJP(光学)
要約
【課題】優れた液晶配向性を保ちながら低電圧駆動化を図ることができ、残像が少なく、かつ液晶配向膜とシール材との密着性に優れる液晶素子を提供すること。
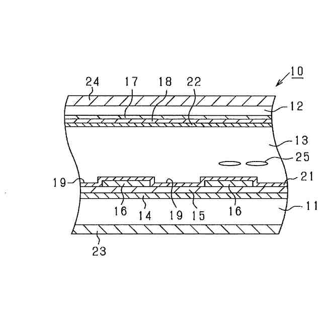
【解決手段】液晶素子10は、第1基板11と第2基板12とからなる一対の基板と、液晶分子25を含む液晶層13と、を備える。第1基板11及び第2基板12のうち一方の基板に弱アンカリング液晶配向膜23が形成されており、他方の基板に、弱アンカリング液晶配向膜23よりも強いアンカリングエネルギーを有する強アンカリング液晶配向膜22が形成されている。弱アンカリング液晶配向膜23は、ポリオルガノシロキサンを含む液晶配向剤により形成されている。
【選択図】図1
特許請求の範囲
【請求項1】
第1基板と第2基板とからなる一対の基板と、
液晶分子を含む液晶層と、
を備え、
前記第1基板及び前記第2基板のうち一方の基板に弱アンカリング液晶配向膜が形成され、他方の基板に、前記弱アンカリング液晶配向膜よりも強いアンカリングエネルギーを有する強アンカリング液晶配向膜が形成されており、
前記弱アンカリング液晶配向膜は、ポリオルガノシロキサンを含む液晶配向剤により形成されてなる、液晶素子。
続きを表示(約 1,000 文字)
【請求項2】
前記液晶素子の非駆動時に、前記液晶分子の遅相軸が基板面に対して略平行に配列される、請求項1に記載の液晶素子。
【請求項3】
前記強アンカリング液晶配向膜が、ラビング配向膜又は光配向膜である、請求項1に記載の液晶素子。
【請求項4】
前記ポリオルガノシロキサンが、かご型構造、不完全かご型構造及び環状型構造の少なくともいずれかを有する、請求項1に記載の液晶素子。
【請求項5】
前記ポリオルガノシロキサンが光配向性基を有しない、請求項1に記載の液晶素子。
【請求項6】
前記ポリオルガノシロキサンが、下記式(S-1)で表される構造単位を含む、請求項1に記載の液晶素子。
TIFF
2025126889000027.tif
18
169
(式(S-1)中、R
1
は、炭素数1~30のアルキル基、「*-R
2
-(O-R
3
)
r
-OR
4
」で表される炭素数2~30の基、及び脂肪族炭化水素環の個数が1個である炭素数3~30の1価の脂環式炭化水素基のうちいずれかが単結合又は2価の連結基を介してケイ素原子に結合する1価の基である。R
2
及びR
3
は、互いに独立してアルカンジイル基である。rは0以上の整数である。R
4
は、rが0の場合にアルキル基であり、rが1以上の場合に水素原子又はアルキル基である。)
【請求項7】
前記ポリオルガノシロキサンが、分子量1,500以下の環状ポリシロキサンである、請求項1に記載の液晶素子。
【請求項8】
前記ポリオルガノシロキサンがベンゼン環を有しない、請求項1に記載の液晶素子。
【請求項9】
前記ポリオルガノシロキサンが、2個以上のシクロヘキサン環が単結合、-COO-又は-NR-(ただし、Rは水素原子又は炭素数1~3のアルキル基である。)により結合した部分構造を有しない、請求項1に記載の液晶素子。
【請求項10】
前記液晶配向剤が、前記ポリオルガノシロキサンとは主骨格が異なる重合体を更に含有する、請求項1に記載の液晶素子。
(【請求項11】以降は省略されています)
発明の詳細な説明
【技術分野】
【0001】
本発明は、液晶素子、弱アンカリング膜形成用液晶配向剤及び液晶素子の製造方法に関する。
続きを表示(約 1,900 文字)
【背景技術】
【0002】
液晶素子において、液晶分子の初期配向は一般に、液晶配向膜による液晶分子のアンカリングによって規定される。近年では、IPS型やFFS型等といった水平配向モードの液晶素子において、一対の基板のうち一方の基板に、強いアンカリングエネルギーを有する液晶配向膜(以下、「強アンカリング液晶配向膜」ともいう)を形成し、他方の基板に、アンカリングエネルギーを有しないか又はアンカリングエネルギーが非常に小さい液晶配向膜(以下、「弱アンカリング液晶配向膜」ともいう)を形成した液晶素子が種々提案されている。弱アンカリング状態を利用した液晶素子では、両方の基板に強アンカリング液晶配向膜を形成する通常の液晶素子に対して、輝度及びコントラスト比の向上や、低電圧駆動、高速応答(高速立ち上がり)等の更なる改良が期待されている。なお、「弱アンカリング」は、「ゼロ面アンカリング」とも称されている。
【0003】
例えば、特許文献1には、液晶及びラジカル重合性化合物を含有する液晶組成物を、ラジカル発生膜に接触させた状態で、ラジカル重合性化合物を重合反応させるのに十分なエネルギーを与えるステップを含む方法によりゼロ面アンカリング膜を第1基板上に形成し、公知の液晶配向剤により液晶配向膜を第2基板上に形成して液晶セルを製造することが開示されている。
【先行技術文献】
【特許文献】
【0004】
国際公開第2019/004433号
【発明の概要】
【発明が解決しようとする課題】
【0005】
特許文献1に記載の技術では、弱アンカリング液晶配向膜の作製に際し、液晶及びラジカル重合性化合物を含有する液晶組成物と、第1基板上に形成したラジカル発生膜とを接触させ、その状態で、ラジカル重合性化合物を重合反応させるのに十分なエネルギーを与える工程が必要になる。生産性の観点からすると、簡便な操作によって弱アンカリング液晶配向膜を作製可能でありながら、弱アンカリング状態に由来する低電圧駆動を実現でき、しかも良好な液晶配向性を示す液晶素子とすることが望まれる。
【0006】
例えば、スマートフォンやタブレットPC等に代表されるモバイル用途に加え、大型テレビやPC用モニターにおいて、デザイン性の観点や表示装置の小型化の観点から狭額縁化を図ることが行われている。狭額縁化を図る方法の1つとしては、基板面全体に液晶配向膜を形成した後、シール材を液晶配向膜上に塗布して基板同士を貼り合わせる方法が知られている。その一方で、液晶配向膜上にシール材を配置すると基板間の密着性が低下しやすく、外力の作用等により基板の剥がれが生じやすくなることが懸念される。
【0007】
また、液晶素子の多用途化に伴い、液晶素子の更なる高品質化を図るべく、液晶素子において発生する残像をできるだけ少なくすることが求められている。しかしながら、これら複数の特性を同時に満たすようにすることは困難であり、液晶配向剤及び液晶素子においては更なる改善の余地がある。
【0008】
本発明は上記課題に鑑みなされたものであり、優れた液晶配向性を保ちながら低電圧駆動化を図ることができ、残像が少なく、かつ液晶配向膜とシール材との密着性に優れる液晶素子を提供することを1つの目的とする。また、優れた液晶配向性を保ちながら低電圧駆動化を図ることができ、残像が少なく、かつ液晶配向膜とシール材との密着性に優れる液晶素子を得ることができる弱アンカリング膜形成用液晶配向剤を提供することを他の1つの目的とする。
【課題を解決するための手段】
【0009】
本発明によれば、1つの態様において、第1基板と第2基板とからなる一対の基板と、液晶分子を含む液晶層と、を備え、前記第1基板及び前記第2基板のうち一方の基板に弱アンカリング液晶配向膜が形成され、他方の基板に、前記弱アンカリング液晶配向膜よりも強いアンカリングエネルギーを有する強アンカリング液晶配向膜が形成されており、前記弱アンカリング液晶配向膜は、ポリオルガノシロキサンを含む液晶配向剤により形成されてなる液晶素子が提供される。
【0010】
本発明によれば、他の1つの態様において、弱アンカリング液晶配向膜の形成に用いられる弱アンカリング膜形成用液晶配向剤であって、ポリオルガノシロキサンを含有する弱アンカリング膜形成用液晶配向剤が提供される
(【0011】以降は省略されています)
この特許をJ-PlatPat(特許庁公式サイト)で参照する
関連特許
JSR株式会社
液晶配向剤、液晶配向膜及び液晶素子
1か月前
JSR株式会社
液晶配向剤、液晶配向膜、液晶素子、重合体及び化合物
3日前
JSR株式会社
液晶配向剤、液晶配向膜、液晶素子、重合体及び化合物
7日前
JSR株式会社
感光性組成物、硬化膜及びその製造方法、並びに表示装置
2か月前
JSR株式会社
硬化性組成物、硬化膜、有機EL装置、及び硬化樹脂層の形成方法
1か月前
JSR株式会社
感放射線性組成物、レジストパターン形成方法、重合体及び化合物
1か月前
JSR株式会社
オニウム塩化合物
2か月前
公益財団法人相模中央化学研究所
化合物の製造方法及び触媒組成物
1か月前
JSR株式会社
液晶素子、弱アンカリング膜形成用液晶配向剤及び液晶素子の製造方法
1か月前
JSR株式会社
感放射線性樹脂組成物及びパターン形成方法
25日前
JSR株式会社
感放射線性樹脂組成物及びパターン形成方法
2か月前
JSR株式会社
重合体、組成物、硬化物、積層体及び電子部品
11日前
JSR株式会社
感放射線性樹脂組成物及びレジストパターン形成方法
2か月前
JSR株式会社
感光性着色組成物、硬化物、画像表示パネル、カラーフィルター、画像表示装置、及び硬化物の製造方法
10日前
JSR株式会社
硬化性組成物、硬化膜、有機EL装置、及び硬化樹脂層の形成方法
1か月前
日東電工株式会社
多層断熱材及び多層断熱材の製造方法
1か月前
カンタツ株式会社
光学系
28日前
キヤノン株式会社
映像表示装置
17日前
アイカ工業株式会社
反射防止フィルム
4日前
アイカ工業株式会社
反射防止フィルム
28日前
インターマン株式会社
立体映像表示装置
17日前
旭化成株式会社
成形体
3日前
旭化成株式会社
成形体
3日前
日本分光株式会社
赤外顕微鏡
3日前
個人
透過型及び反射型顕微鏡
17日前
キヤノン株式会社
画像表示装置
25日前
キヤノン株式会社
画像表示装置
3日前
キヤノン株式会社
レンズ装置および撮像装置
5日前
東レ株式会社
プラスチック光ファイバ
27日前
レーザーテック株式会社
検査装置及び検査方法
7日前
キヤノン株式会社
表示装置
10日前
日東電工株式会社
光学積層体
1か月前
日東電工株式会社
光学積層体
18日前
東レ株式会社
先端に凸面を有する光ファイバ
17日前
キヤノン株式会社
光学系及び撮像装置
11日前
株式会社小糸製作所
画像投影装置
17日前
続きを見る
他の特許を見る