TOP
|
特許
|
意匠
|
商標
特許ウォッチ
Twitter
他の特許を見る
10個以上の画像は省略されています。
公開番号
2025128881
公報種別
公開特許公報(A)
公開日
2025-09-03
出願番号
2024025861
出願日
2024-02-22
発明の名称
警備システム、サーバ、警備装置及び作業ロボット
出願人
セコム株式会社
代理人
個人
,
個人
,
個人
,
個人
主分類
G08B
25/00 20060101AFI20250827BHJP(信号)
要約
【課題】より効率良く作業ロボットに作業させることが可能な警備システム、サーバ、警備装置及び作業ロボットを提供する。
【解決手段】警備システムは、自律移動可能で、作業区画において所定の作業を実施する作業ロボットと、設定された警備モードに基づき移動体を監視する警備装置と、を有する警備システムであって、警備装置に設けられ、作業区画外の所定区画を監視する監視手段と、複数の警備モードを切り替えて設定する設定手段と、所定区画において設定された警備モードに基づいて、作業ロボットの作業実施の制御を行う制御手段と、を有する。
【選択図】図5
特許請求の範囲
【請求項1】
自律移動可能で、作業区画において所定の作業を実施する作業ロボットと、設定された警備モードに基づき移動体を監視する警備装置と、を有する警備システムであって、
前記警備装置に設けられ、前記作業区画外の所定区画を監視する監視手段と、
複数の警備モードを切り替えて設定する設定手段と、
前記所定区画において設定された警備モードに基づいて、前記作業ロボットの作業実施の制御を行う制御手段と、
を有することを特徴とする警備システム。
続きを表示(約 1,200 文字)
【請求項2】
前記監視手段は、前記作業区画をさらに監視し、
前記制御手段は、前記作業区画において設定された警備モードにさらに基づいて、前記作業ロボットの作業実施の制御を行う、請求項1に記載の警備システム。
【請求項3】
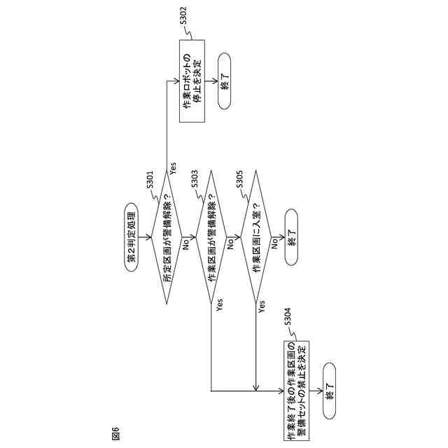
前記制御手段は、前記作業区画において設定された警備モードと、前記所定区画において設定された警備モードとの両方が、監視を行う警備セットモードである場合、前記作業ロボットの作業実施を許可する、請求項2に記載の警備システム。
【請求項4】
前記制御手段は、前記作業区画において設定された警備モードが、監視を行う警備セットモードであり、且つ、前記所定区画において設定された警備モードが、監視を行わない警備解除モードである場合、前記所定区画の利用者の属性に応じて、前記作業ロボットの作業実施の可否を判定する、請求項2に記載の警備システム。
【請求項5】
前記制御手段は、前記作業区画において設定された警備モードが、監視を行う警備セットモードであり、且つ、前記所定区画において設定された警備モードが、監視を行わない警備解除モードである場合、前記所定区画の利用者からの指示に従って、前記作業ロボットの作業実施の可否を判定する、請求項2に記載の警備システム。
【請求項6】
自律移動可能で、作業区画において所定の作業を実施する作業ロボット、並びに、前記作業区画外の所定区画を監視し且つ複数の警備モードを切り替えて設定する警備装置と通信可能に接続されたサーバであって、
警備装置から、前記所定区画において設定された警備モードを受信する通信手段と、
前記所定区画において設定された警備モードに基づいて、作業ロボットの作業実施の制御を行う制御手段と、
を有することを特徴とするサーバ。
【請求項7】
自律移動可能で、作業区画において所定の作業を実施する作業ロボットと通信可能に接続され、設定された警備モードに基づき移動体を監視する警備装置であって、
前記作業区画外の所定区画を監視する監視手段と、
複数の警備モードを切り替えて設定する設定手段と、
前記所定区画において設定された警備モードに基づいて、作業ロボットの作業実施の制御を行う制御手段と、
を有することを特徴とする警備装置。
【請求項8】
作業ロボットの作業区画外の所定区画を監視し且つ複数の警備モードを切り替えて設定する警備装置と通信可能に接続された、自律移動可能で、前記作業区画において所定の作業を実施する作業ロボットであって、
警備装置から、前記所定区画において設定された警備モードを受信する通信手段と、
前記所定区画において設定された警備モードに基づいて、前記作業ロボットの作業実施の制御を行う制御手段と、
を有することを特徴とする作業ロボット。
発明の詳細な説明
【技術分野】
【0001】
本発明は、警備システム、サーバ、警備装置及び作業ロボットに関する。
続きを表示(約 1,000 文字)
【背景技術】
【0002】
近年、作業区画において所定の作業を実施する作業ロボットと、所定区画を監視する警備装置とを有する警備システムが開発されている。
【0003】
例えば、特許文献1には、複数のユーザのスケジュール情報に基づいて生成した運転スケジュール情報に基づいて、掃除機の運転動作を制御する掃除機システムが開示されている。
【先行技術文献】
【特許文献】
【0004】
特開2019-217164号公報
【発明の概要】
【発明が解決しようとする課題】
【0005】
作業ロボットと警備装置を有する警備システムにおいて、より効率良く作業ロボットに作業させることが求められている。
【0006】
本発明の目的は、より効率良く作業ロボットに作業させることが可能な警備システム、サーバ、警備装置及び作業ロボットを提供することである。
【課題を解決するための手段】
【0007】
かかる課題を解決するための本発明の一態様によれば、自律移動可能で、作業区画において所定の作業を実施する作業ロボットと、設定された警備モードに基づき移動体を監視する警備装置と、を有する警備システムであって、警備装置に設けられ、作業区画外の所定区画を監視する監視手段と、複数の警備モードを切り替えて設定する設定手段と、所定区画において設定された警備モードに基づいて、作業ロボットの作業実施の制御を行う制御手段と、を有する警備システムを提供する。
【0008】
この警備システムにおいて、監視手段は、作業区画をさらに監視し、制御手段は、作業区画において設定された警備モードにさらに基づいて、作業ロボットの作業実施の制御を行うことが好ましい。
【0009】
この警備システムにおいて、制御手段は、作業区画において設定された警備モードと、所定区画において設定された警備モードとの両方が、監視を行う警備セットモードである場合、作業ロボットの作業実施を許可することが好ましい。
【0010】
この警備システムにおいて、制御手段は、作業区画において設定された警備モードが、監視を行う警備セットモードであり、且つ、所定区画において設定された警備モードが、監視を行わない警備解除モードである場合、所定区画の利用者の属性に応じて、作業ロボットの作業実施の可否を判定することが好ましい。
(【0011】以降は省略されています)
この特許をJ-PlatPat(特許庁公式サイト)で参照する
関連特許
セコム株式会社
ロボット
2か月前
セコム株式会社
自律走行ロボット
2か月前
セコム株式会社
自律移動ロボット
22日前
セコム株式会社
巡回警備ロボット
2か月前
セコム株式会社
自律走行ロボット
2か月前
セコム株式会社
自律走行ロボット
2か月前
セコム株式会社
火災監視システム
29日前
セコム株式会社
表示機能付き認証装置
22日前
セコム株式会社
警備システム及び警備装置
2か月前
セコム株式会社
生活見守りシステム及びプログラム
22日前
セコム株式会社
生活見守りシステム及びプログラム
22日前
セコム株式会社
データ処理装置及びデータ処理方法
29日前
セコム株式会社
自律移動ロボットおよび制御システム
22日前
セコム株式会社
自律移動ロボットおよび制御システム
22日前
セコム株式会社
センタ装置、対話システム及び対話方法
1か月前
セコム株式会社
対話システム、対話方法及びセンタ装置
1か月前
セコム株式会社
画像処理装置及びコンピュータプログラム
2か月前
セコム株式会社
画像処理装置及びコンピュータプログラム
2か月前
セコム株式会社
端末所持者検知装置及び端末所持者検知方法
1か月前
株式会社デンソーウェーブ
通行管理システム
23日前
セコム株式会社
飛行ロボットの画像表示装置及び画像表示方法
22日前
セコム株式会社
飛行ロボットの画像表示装置及び画像表示方法
22日前
セコム株式会社
飛行ロボットの画像表示装置および画像表示方法
23日前
セコム株式会社
飛行ロボットの画像表示装置および画像表示方法
23日前
セコム株式会社
警備システム、サーバ、警備装置及び作業ロボット
1か月前
セコム株式会社
警備システム、サーバ、警備装置及び作業ロボット
1か月前
セコム株式会社
警備システム、サーバ、警備装置及び作業ロボット
1か月前
セコム株式会社
警備システム、サーバ、警備装置及び作業ロボット
1か月前
セコム株式会社
自律飛行ロボットの飛行制御システム及び飛行制御方法
23日前
セコム株式会社
飛行ロボットの画像管理装置、画像管理システム及び画像管理方法
22日前
セコム株式会社
飛行ロボットの画像管理装置、画像管理システム及び画像管理方法
22日前
セコム株式会社
飛行ロボットの画像管理装置、画像管理システム及び画像管理方法
22日前
セコム株式会社
飛行ロボットの画像管理装置、画像管理システム及び画像管理方法
22日前
セコム株式会社
データ処理装置、学習データ生成装置、データ処理方法及び学習データ生成方法
25日前
セコム株式会社
携帯端末、警備システム、プログラム及び表示方法
1か月前
セコム株式会社
警備システム、携帯端末、プログラム及び警備方法
4日前
続きを見る
他の特許を見る