TOP
|
特許
|
意匠
|
商標
特許ウォッチ
Twitter
他の特許を見る
10個以上の画像は省略されています。
公開番号
2025130567
公報種別
公開特許公報(A)
公開日
2025-09-08
出願番号
2024027822
出願日
2024-02-27
発明の名称
図面整合システムおよび図面整合方法
出願人
株式会社日立製作所
代理人
青稜弁理士法人
主分類
G06T
7/33 20170101AFI20250901BHJP(計算;計数)
要約
【課題】異なる作図時期、作図規則で作成された複数の図面の位置整合を実現する技術を提供する。
【解決手段】
本発明では、座標系で表現された第1の図面情報と、前記第1の図面情報と異なる座標系で表現された第2の図面情報とを入力し、前記第1の図面情報を構成する2階層以上の第1の設備図形情報と、前記第2の図面情報を構成する2階層以上の第2の設備図形情報との間の階層同士の複数の組み合わせの中で、前記第1の設備図形情報と前記第2の設備図形情報の組み合わせごとの類似度と特徴と含む第1の類似設備図形情報を出力する類似設備図形情報算出部と、前記第1の図面情報と、前記第1の類似設備図形情報と、を入力し、前記第1の類似設備図形情報の前記類似度が所定の条件を満たすときの前記特徴を利用して前記第1の図面情報の位置補正を行い、前記位置補正した第1の補正図面情報を出力する位置補正部と、を有する。
【選択図】 図1
特許請求の範囲
【請求項1】
座標系で表現された第1の図面情報と、前記第1の図面情報と異なる座標系で表現された第2の図面情報とを入力し、前記第1の図面情報を構成する2階層以上の第1の設備図形情報と、前記第2の図面情報を構成する2階層以上の第2の設備図形情報との間の階層同士の複数の組み合わせの中で、前記第1の設備図形情報と前記第2の設備図形情報の組み合わせごとの類似度と特徴と含む第1の類似設備図形情報を出力する類似設備図形情報算出部と、
前記第1の図面情報と、前記第1の類似設備図形情報と、を入力し、前記第1の類似設備図形情報の前記類似度が所定の条件を満たすときの前記特徴を利用して前記第1の図面情報の位置補正を行い、前記位置補正した第1の補正図面情報を出力する位置補正部と、を有する図面整合システム。
続きを表示(約 2,300 文字)
【請求項2】
請求項1に記載の図面整合システムであって、
前記類似設備図形情報算出部は、
前記第1の図面情報と前記第2の図面情報との縮尺と方角を統一し、統一した第1の前処理後図面情報と統一した第2の前処理後図面情報とを出力する前処理と、
前記第1の前処理後図面情報から前記第1の設備図形情報の階層分類ごとに分解された第1の図面情報群と、前記第2の前処理後図面情報から前記第2の設備図形情報の階層分類ごとに分解された第2の図面情報群と、を出力する設備図形情報の分類処理と、
前記第1の図面情報群と前記第2の図面情報群を入力し、前記第1の類似設備図形情報を出力する類似度算出処理と、を有する図面整合システム。
【請求項3】
請求項1に記載の図面整合システムであって、
前記類似設備図形情報算出部は、
前記第1の図面情報および前記第2の図面情報と異なる座標系で表現された第3の図面情報を含む複数の図面情報を入力し、前記第2の設備図形情報と、前記第3の図面情報を構成する2階層以上の第3の設備図形情報との間の複数の組み合わせの中で、前記第2の設備図形情報と前記第3の設備図形情報の組み合わせごとの類似度と特徴とを含む第2の類似設備図形情報を出力し、
さらに、前記第1の類似設備図形情報と、前記第2の類似設備図形情報との複数の類似設備図形情報を入力し、前記第1の図面情報、前記第2の図面情報、前記第3の図面情報の位置補正を実施する順序を規定し、規定した補正優先度情報を出力する補正優先度算出部を有し、
前記位置補正部は、
前記第1の図面情報と、前記第2の図面情報と、前記第3の図面情報と、前記類似設備図形情報算出部から出力された前記第1の類似設備図形情報と、前記第2の類似設備図形情報と、前記補正優先度算出部から出力された前記補正優先度情報と、を入力し、前記第1の図面情報および前記第2の図面情報の位置補正を行い、位置補正後の前記第1の補正図面情報と位置補正後の第2の補正図面情報とを出力する図面整合システム。
【請求項4】
請求項1に記載の図面整合システムであって、
前記第2の図面情報と、前記第1の補正図面情報とを合成し前記合成された図面情報を出力する合成処理部を有する図面整合システム。
【請求項5】
請求項3に記載の図面整合システムであって、
前記補正優先度算出部は、
複数の類似設備図形情報を入力し、複数の図面情報の類似設備図形情報の対応関係を表すネットワークグラフを出力するネットワーク解析処理と、所定図面の類似設備図形情報を追加する設備図形情報の組み合わせ追加処理と、を有し、
前記ネットワーク解析処理は、前記ネットワークグラフのネットワーク数が1つになるまで前記追加処理を行う図面整合システム。
【請求項6】
請求項1に記載の図面整合システムであって、
位置補正部は、
前記第1の図面情報と、前記第2の図面情報と、前記第1の類似設備図形情報と、を入力し、前記第1の類似設備図形情報の設備図形情報を構成する輪郭線の位置情報を利用し、1つ以上の対応点情報を出力する対応点設定処理と、
前記第1の図面情報と、前記第2の図面情報と、前記対応点情報と、を入力し、前記第1の図面情報の対応点と前記第2の図面情報の対応点との距離に基づく座標変換係数が所定値以下になるまで前記第1の図面情報および前記第2の図面情報の少なくとも一方の位置補正を行う位置補正処理と、を有する図面整合システム。
【請求項7】
請求項1に記載の図面整合システムであって、
前記第2の図面情報と、前記第1の補正図面情報とを並列して出力する図面整合システム。
【請求項8】
請求項2に記載の図面整合システムであって、
前記分類処理は、
前処理後図面情報を入力とし、属性情報を規定した設備図形情報の分類情報を取得する属性情報取得処理と、
前記属性情報にもとづく設備図形情報の分類ごとに画像情報を作成する作成処理と、
前記画像情報の枚数が所定値に満たなかった場合に前記画像情報に対しラベリングを実施するラベリング処理と、
前記画像情報の輪郭特徴にもとづく分類ごとに分割画像情報を作成し図面情報群を出力する分割作成処理と、を有する図面整合システム。
【請求項9】
請求項2に記載の図面整合システムであって、
前記前処理は、
図面情報を入力し、前記図面情報が所定の縮尺および所定の方角に配置される縮尺調整処理と、
前記縮尺調整処理を行った前記図面情報に対し座標範囲を指定する範囲指定処理と、を有する図面整合システム。
【請求項10】
請求項2に記載の図面整合システムであって、
前記類似度算出処理は、
前記第1の図面情報群と、前記第2の図面情報群と、を入力し、前記第1の図面情報群から選択した設備図形情報に対応する第1画像情報と、前記第2の図面情報群から選択した設備図形情報に対応する第2画像情報と、をもとにした相関演算を行い、座標に対する相関係数分布を出力する相関演算処理と、前記相関係数分布を入力し、画像情報の類似度を算出する類似度算出処理と、を有し、前記相関係数分布の特徴と前記類似度を含む前記類似設備図形情報を出力する
図面整合システム。
(【請求項11】以降は省略されています)
発明の詳細な説明
【技術分野】
【0001】
本発明は、図面整合システムおよび図面整合方法に関する。
続きを表示(約 3,600 文字)
【背景技術】
【0002】
建物や道路、電柱、樹木、管路などの各種設備の配置が記された複数の図面を、同一の座標系に配置するための位置補正に関連する技術として、例えば特許文献1には、ベクトルデータで表される地図とラスターデータで表される衛星画像の位置補正を行う方法が記載されている。同特許文献1には、地図上の土地の輪郭の座標の重心からのばした2軸に対して、最遠点となる4点を対応点として設定し、また衛星画像は、画像全体の重心からのばした2軸に対して、最遠点となる4点を対応点として設定し、これら対応点間の距離が所定値以下となるように、位置補正を行い重ねて表示する方法が記載されている。
【先行技術文献】
【特許文献】
【0003】
特開平09―153131号公報
【発明の概要】
【発明が解決しようとする課題】
【0004】
地図や公図などの各事業体が管理する各種図面上に表記されている建物や道路、電柱、樹木、管路などの各種設備の位置や形状は、現実には日々変化している。このため、作図時期、作図規則、作図対象の違いにより、複数の図面間で位置や形状が一致する設備と、そうでない設備が存在する。例えば、作図時期が建物や道路の建設前後で異なる場合には、2つの図面の一方の図面にのみ建物もしくは道路の図形が存在する場合がある。また、建物形状を表す輪郭線や境界線が、簡素化されて描かれている場合と詳細に描かれている場合など、作図規則が図面ごとに異なる場合がある。加えて、図面の用途に応じた作図対象の違いにより図面内に含まれる設備の種類が図面ごとに異なる場合がある。
【0005】
したがって、異なる座標系の地図や図面を同一座標系に配置するための位置補正においては、特許文献1に記載のように、規定した設備の輪郭線の位置情報にもとづいて対応点の座標情報を設定した場合に、片方の図面に対応する設備がない、もしくは設備の位置や形状が異なる場合に、正確に位置補正ができない。
【0006】
本発明は、上記の点を鑑みてなされたものであり、地図や公図などの各種図面について、作図時期や作図規則、作図対象の違いが存在する複数の図面を、同一座標系に正確に配置する位置補正を行うことを目的とする。
【課題を解決するための手段】
【0007】
上記目的を達成するため、本発明の通信制御装置の一態様は、座標系で表現された第1の図面情報と、前記第1の図面情報と異なる座標系で表現された第2の図面情報とを入力し、前記第1の図面情報を構成する2階層以上の第1の設備図形情報と、前記第2の図面情報を構成する2階層以上の第2の設備図形情報との間の階層同士の複数の組み合わせの中で、前記第1の設備図形情報と前記第2の設備図形情報の組み合わせごとの類似度と特徴と含む第1の類似設備図形情報を出力する類似設備図形情報算出部と、前記第1の図面情報と、前記第1の類似設備図形情報と、を入力し、前記第1の類似設備図形情報の前記類似度が所定の条件を満たすときの前記特徴を利用して前記第1の図面情報の位置補正を行い、前記位置補正した第1の補正図面情報を出力する位置補正部と、を有する。
【発明の効果】
【0008】
本発明によれば、複数の図面において、位置や形状が共通している設備を、類似度に基づいて特定することができ、類似度の高い設備の位置情報に基づいて対応点の座標情報を設定し、図面の位置補正を行うことで、作図時期や作図規則、作図対象の違いが存在する複数の図面を、同一座標系に正確に配置する位置補正を行うことができる。上記以外の課題、構成、及び効果も、以下の実施形態の説明により明らかにされる。
【図面の簡単な説明】
【0009】
実施例1における図面整合システムの構成例を示す図である。
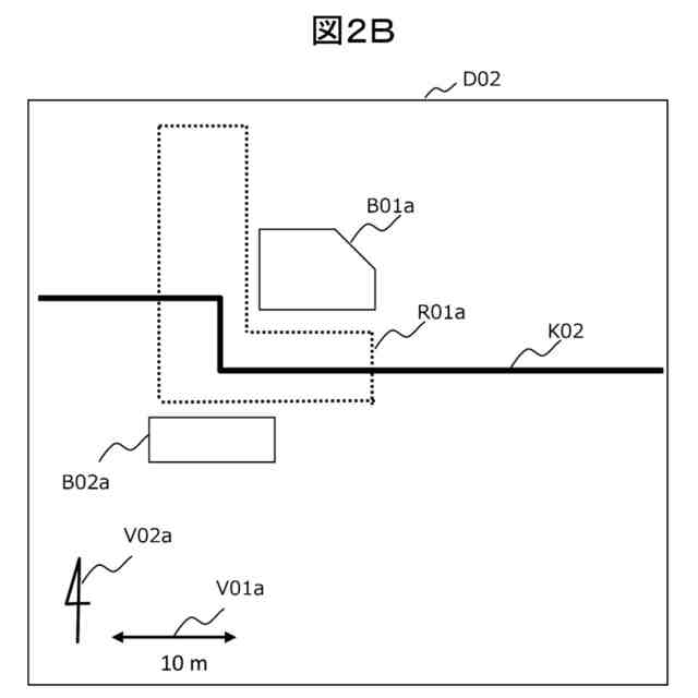
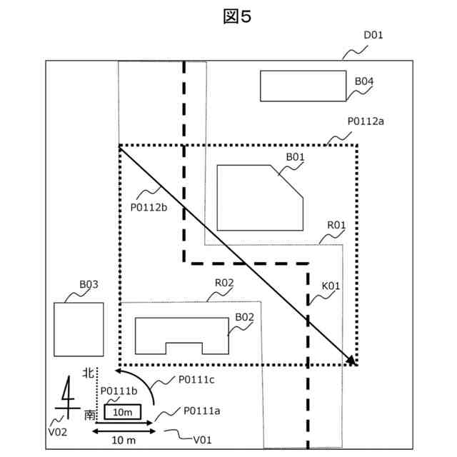
実施例1における第1の図面情報の一例を示す図である。
実施例1における第2の図面情報の一例を示す図である。
実施例1における類似設備図形情報算出部の処理の一例を示す図である。
実施例1における前処理の一例を示す図である。
実施例1における前処理の実現方法の一例を示す図である。
実施例1における前処理後の図面情報の一例を示す図である。
実施例1における設備図形情報の分類処理の一例を示す図である。
実施例1における設備図形情報の階層分類ごとに分解された図面情報の一例を示す図である。
実施例1におけるラベリング処理の一例を示すである。
実施例1における設備図形情報間の類似度算出処理の一例を示す図である。
実施例1における相関演算処理の一例を示す図である。
実施例1における相関係数分布の一例を示す図である。
実施例1における設備図形情報間の類似度算出処理の一例を示す図である。
実施例1における類似設備図形情報の一例を示す図である。
実施例1における位置補正部の処理の一例を示す図である。
実施例1における対応点設定処理の一例を示す図である。
実施例1における位置補正処理の一例を示す図である。
実施例1における対応点情報の一例を示す図である。
実施例1における位置補正処理の一例を示す図である。
実施例1における図面整合システムのハードウェア構成の一例を示す図である。
実施例1における図面整合システムの入出力画面の一例を示す図である。
実施例1における位置補正後の図面情報の表示方法の一例を示す図である。
実施例2における図面整合システムの構成例を示す図である。
実施例2における類似設備図形情報算出部の処理の一例を示す図である。
実施例2における類似設備図形情報の一例を示す図である。
実施例2における補正優先度算出部の処理の一例を示す図である。
実施例2におけるネットワーク解析処理の一例を示す図である。
実施例2におけるネットワークグラフの一例を示す図である。
実施例2における設備図形情報の組み合わせ追加処理の一例を示す図である。
実施例2における設備図形情報情の組み合わせ追加後のネットワークグラフの一例を示す図である。
実施例2における位置補正部の処理の一例を示す図である。
実施例2における対応点設定処理の一例を示す図である。
実施例3における図面整合システムの構成例を示す図である。
実施例3における合成処理の一例を示す図である。
実施例4における図面整合システムの構成例を示す図である。
【発明を実施するための形態】
【0010】
以下、図面を参照して本発明の複数の実施形態を説明する。各実施形態は、本発明を説明するための例示であって、説明の明確化のため、適宜、省略および簡略化がなされている。本発明は、他の種々の形態でも実施することが可能である。特に限定しない限り、各構成要素は、単数でも複数でも構わない。図面において示す各構成要素の位置、大きさ、形状、範囲などは、発明の理解を容易にするため、実際の位置、大きさ、形状、範囲などを表していない場合がある。このため、本発明は、必ずしも、図面に開示された位置、大きさ、形状、範囲などに限定されない。各種情報の例として、「テーブル」、「リスト」、「キュー」等の表現にて説明することがあるが、各種情報は、これら以外のデータ構造で表現されてもよい。例えば、「XXデータ」「XXテーブル」、「XXリスト」、「XXキュー」等の各種情報は、「XX情報」としてもよい。識別情報について説明する際に、「識別情報」、「識別子」、「名」、「ID」、「番号」等の表現を用いるが、これらについては、お互いに置換が可能である。実施形態を説明するための全図において、同一の部材には、原則として同一の符号を付し、その繰り返しの説明は、省略する。また、以下の実施形態において、その構成要素(要素ステップ等も含む)は、特に明示した場合及び原理的に明らかに必須であると考えられる場合等を除き、必ずしも必須ではない。また、「Aからなる」、「Aよりなる」、「Aを有する」、「Aを含む」と言うときは、特にその要素のみである旨明示した場合等を除き、それ以外の要素を排除しない。同様に、以下の実施形態において、構成要素等の形状、位置関係等に言及するときは、特に明示した場合及び原理的に明らかにそうでないと考えられる場合等を除き、実質的にその形状等に近似または類似するもの等を含む。
【実施例】
(【0011】以降は省略されています)
この特許をJ-PlatPat(特許庁公式サイト)で参照する
関連特許
個人
QRコードの彩色
1日前
個人
工程設計支援装置
1か月前
個人
地球保全システム
10日前
個人
フラワーコートA
2か月前
個人
為替ポイント伊達夢貯
1か月前
個人
冷凍食品輸出支援構造
1か月前
個人
残土処理システム
3日前
個人
表変換編集支援システム
1か月前
個人
携帯情報端末装置
1か月前
個人
知財出願支援AIシステム
1か月前
個人
知的財産出願支援システム
4日前
個人
結婚相手紹介支援システム
1か月前
個人
AIによる情報の売買の仲介
1か月前
個人
パスワード管理支援システム
1か月前
個人
行動時間管理システム
1か月前
個人
システム及びプログラム
23日前
日本精機株式会社
施工管理システム
1か月前
株式会社キーエンス
受発注システム
9日前
株式会社キーエンス
受発注システム
9日前
個人
海外支援型農作物活用システム
22日前
株式会社アジラ
進入判定装置
1か月前
個人
AIキャラクター制御システム
1か月前
個人
パスポートレス入出国システム
1か月前
個人
食品レシピ生成システム
9日前
株式会社キーエンス
受発注システム
9日前
個人
社会還元・施設向け供給支援構造
1か月前
個人
SaaS型勤務調整支援システム
1か月前
個人
音声対話型帳票生成支援システム
1か月前
個人
未来型家系図構築システム
22日前
個人
人格進化型対話応答制御システム
1か月前
大同特殊鋼株式会社
疵判定方法
16日前
個人
食事受注会計処理システム
1か月前
サクサ株式会社
中継装置
1か月前
個人
帳票自動生成型SaaSシステム
4日前
大阪瓦斯株式会社
住宅設備機器
1か月前
キヤノン株式会社
表示システム
9日前
続きを見る
他の特許を見る