TOP
|
特許
|
意匠
|
商標
特許ウォッチ
Twitter
他の特許を見る
10個以上の画像は省略されています。
公開番号
2025130983
公報種別
公開特許公報(A)
公開日
2025-09-09
出願番号
2024028418
出願日
2024-02-28
発明の名称
エレベータの行先階登録装置
出願人
フジテック株式会社
代理人
弁理士法人藤本パートナーズ
主分類
B66B
3/00 20060101AFI20250902BHJP(巻上装置;揚重装置;牽引装置)
要約
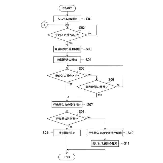
【課題】的確に操作を行うことができるエレベータの行先階登録装置を提供する。
【解決手段】本発明は、単位階に対応した行先階を入力可能な単位入力部を複数個備え、単位入力部を1回又は複数回操作することで1つの行先階を入力可能な行先階入力部と、前記行先階入力部で前記単位入力部を複数回操作して1つの行先階を入力する場合に、前記単位入力部に対する先の操作を受け付けた後、後の操作の受け付けを許容する許容時間の時間経過を利用者に報知する報知部と、を備える。
【選択図】図3
特許請求の範囲
【請求項1】
単位階に対応した行先階を入力可能な単位入力部を複数個備え、前記単位入力部を1回又は複数回操作することで1つの行先階を入力可能な行先階入力部と、
前記行先階入力部で前記単位入力部を複数回操作して1つの行先階を入力する場合に、前記単位入力部に対する先の操作を受け付けた後、後の操作の受け付けを許容する許容時間の時間経過を利用者に報知する報知部と、を備える、エレベータの行先階登録装置。
続きを表示(約 620 文字)
【請求項2】
前記報知部は、画像、音、振動のうち少なくとも1つを用いて前記時間経過を報知する、請求項1に記載のエレベータの行先階登録装置。
【請求項3】
前記許容時間は、時刻に応じて長さが変更され、
前記報知部は、変更された前記許容時間の前記時間経過を報知する、請求項1又は2に記載のエレベータの行先階登録装置。
【請求項4】
利用者に関する利用者情報を入力する利用者入力部を備え、
前記許容時間は、前記利用者入力部から入力された前記利用者情報に基づいて長さが変更され、
前記報知部は、変更された前記許容時間の前記時間経過を報知する、請求項1又は2に記載のエレベータの行先階登録装置。
【請求項5】
前記許容時間を変更するための変更情報を入力する変更入力部を備え、
前記許容時間は、前記変更入力部から入力された前記変更情報に基づいて長さが変更され、
前記報知部は、変更された前記許容時間の前記時間経過を報知する、請求項1又は2に記載のエレベータの行先階登録装置。
【請求項6】
前記許容時間は、前記単位入力部を複数回操作する場合における前記先の操作から前記後の操作までの操作時間に基づいて長さが変更され、
前記報知部は、変更された前記許容時間の前記時間経過を報知する、請求項1又は2に記載のエレベータの行先階登録装置。
発明の詳細な説明
【技術分野】
【0001】
本発明は、乗場やかごで2桁以上の行先階を登録するエレベータの行先階登録装置に関する。
続きを表示(約 1,100 文字)
【背景技術】
【0002】
従来、エレベータの行先階をテンキーにより、1桁の行先階及び2桁の行先階を登録する行先階登録装置が知られている(特許文献1)。この行先階登録装置は、例えば、テンキーのボタン「1」が長押されると、「1」階を行先階として呼び登録する。また、行先階登録装置は、テンキーのボタン「1」が長押されずに押され、さらに所定の入力待ち時間が経過すると、「1階」を行先階として呼び登録する。一方、行先階登録装置は、テンキーのボタン「1」が長押されずに押された後に、所定の入力待ち時間の間に、テンキーのボタン「0」が入力されれば、「10階」を行先階として呼び登録する。
【先行技術文献】
【特許文献】
【0003】
国際公開第2012/035600号公報
【発明の概要】
【発明が解決しようとする課題】
【0004】
しかしながら、上記行先階登録装置では、利用者は、最初にテンキーのボタンを押した後に、入力待ち時間の経過を知ることができないため、2桁の行先階を入力したい場合であっても、入力待ち時間内に必要な操作を行うことができないことがあり、操作性が悪かった。
【0005】
そこで、本発明は、的確に操作を行うことができるエレベータの行先階登録装置の提供を課題とする。
【課題を解決するための手段】
【0006】
本発明のエレベータの行先階登録装置は、
単位階に対応した行先階を入力可能な単位入力部を複数個備え、前記単位入力部を1回又は複数回操作することで1つの行先階を入力可能な行先階入力部と、
前記行先階入力部で前記単位入力部を複数回操作して1つの行先階を入力する場合に、前記単位入力部に対する先の操作を受け付けた後、後の操作の受け付けを許容する許容時間の時間経過を利用者に報知する報知部と、を備える。
【0007】
かかる構成によれば、許容時間の時間経過が報知されるので、先の操作後の許容時間の時間経過を知りつつ後の操作ができるので、的確な操作ができ、操作性がよい。
【0008】
前記エレベータの行先階登録装置では、
前記報知部は、画像、音、振動のうち少なくとも1つを用いて前記時間経過を報知してもよい。
【0009】
かかる構成によれば、利用者の視覚、聴覚、触覚の少なくとも1つに対して報知するため、確実に時間経過を伝えることができる。
【0010】
前記エレベータの行先階登録装置では、
前記許容時間は、時刻に応じて長さが変更され、
前記報知部は、変更された前記許容時間の前記時間経過を報知してもよい。
(【0011】以降は省略されています)
この特許をJ-PlatPat(特許庁公式サイト)で参照する
関連特許
フジテック株式会社
エレベータ
12日前
フジテック株式会社
エレベータ
2日前
フジテック株式会社
エレベータ
12日前
フジテック株式会社
マンコンベヤ
2日前
フジテック株式会社
マンコンベヤ
2日前
フジテック株式会社
マンコンベヤ
6日前
フジテック株式会社
データ送信システム
23日前
フジテック株式会社
エレベータシステム
2日前
フジテック株式会社
エレベータの乗場構造
14日前
フジテック株式会社
エレベータの行先階登録装置
22日前
フジテック株式会社
情報処理システム、制御方法
2日前
フジテック株式会社
エレベータのかご及びエレベータ
6日前
フジテック株式会社
エレベータ制御システムおよび制御方法
14日前
フジテック株式会社
マンコンベヤ及びマンコンベヤの製造方法
6日前
フジテック株式会社
エレベータのかごドア開閉装置及びエレベータ
5日前
フジテック株式会社
ロボット管理装置、ロボット、及びプログラム
5日前
フジテック株式会社
ロボット管理装置、ロボット、及びプログラム
5日前
フジテック株式会社
ロボット管理装置、ロボット、及びプログラム
5日前
フジテック株式会社
マンコンベヤ手摺ベルト用回転体及びマンコンベヤ
12日前
フジテック株式会社
マンコンベヤ
2日前
個人
自走手摺
2か月前
ユニパルス株式会社
吊具
3か月前
個人
海上コンテナ昇降装置
9か月前
ユニパルス株式会社
吊具装置
10か月前
ユニパルス株式会社
荷役装置
8か月前
ユニパルス株式会社
リフト装置
4か月前
株式会社豊田自動織機
荷役車両
8か月前
株式会社豊田自動織機
産業車両
20日前
株式会社豊田自動織機
産業車両
10か月前
水戸工業株式会社
吊り具
5か月前
株式会社いうら
車椅子用昇降機
2か月前
株式会社豊田自動織機
荷役車両
9か月前
ユニパルス株式会社
荷役助力装置
3か月前
愛知製鋼株式会社
受け架台
1か月前
大栄産業株式会社
クランプ
4か月前
個人
垂直自動搬送機
21日前
続きを見る
他の特許を見る