TOP
|
特許
|
意匠
|
商標
特許ウォッチ
Twitter
他の特許を見る
10個以上の画像は省略されています。
公開番号
2025131993
公報種別
公開特許公報(A)
公開日
2025-09-10
出願番号
2024029282
出願日
2024-02-29
発明の名称
放熱板、半導体装置、および放熱板の製造方法
出願人
UBE株式会社
,
株式会社アカネ
代理人
弁理士法人きさらぎ国際特許事務所
主分類
H01L
23/373 20060101AFI20250903BHJP(基本的電気素子)
要約
【課題】厚みがより薄く、歩留まりを向上できる放熱板、半導体装置、および放熱板の製造方法を提供する。
【解決手段】銅層と、銅層を介して積層された鱗片状黒鉛粒子とを含む黒鉛-銅複合材料からなる放熱板であって、鱗片状黒鉛粒子は、放熱板の厚み方向に対し交わる方向に積層され、鱗片状黒鉛粒子のメジアン径は、50μm以上、800μm以下であることを特徴とする。
【選択図】図1
特許請求の範囲
【請求項1】
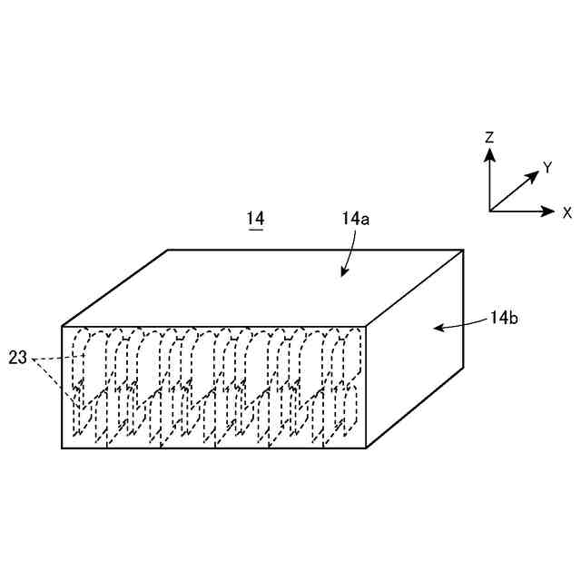
銅層と、前記銅層を介して積層された鱗片状黒鉛粒子とを含む黒鉛-銅複合材料からなる放熱板であって、
前記鱗片状黒鉛粒子は、前記放熱板の厚み方向に対し交わる方向に積層され、
前記鱗片状黒鉛粒子のメジアン径は、50μm以上、800μm以下であることを特徴とする放熱板。
続きを表示(約 520 文字)
【請求項2】
前記放熱板の厚みは、0.05mm以上、1.0mm未満である、請求項1に記載の放熱板。
【請求項3】
前記黒鉛-銅複合材料における銅の体積分率は、3%以上、30%以下である、請求項1または2に記載の放熱板。
【請求項4】
請求項1または2に記載の放熱板と、
前記放熱板の表面のうち、前記厚み方向に対し交わる主面に接した半導体素子と、を備える半導体装置。
【請求項5】
銅層と、前記銅層を介して積層された鱗片状黒鉛粒子とを含む黒鉛-銅複合材料からなる放熱板の製造方法であって、
黒鉛粒子に前処理を施して、メジアン径が50μm以上、800μm以下の前記鱗片状黒鉛粒子を得る工程と、
前記鱗片状黒鉛粒子と銅粒子とを混合して成形原料を得る工程と、
前記成形原料を成形して得られた成形体を多軸通電焼結法により加圧して焼結することで、前記鱗片状黒鉛粒子が所定の方向に積層した焼結体を得る工程と、
前記鱗片状黒鉛粒子の積層方向が前記放熱板の厚み方向に対し交わる方向となるように、前記焼結体を加工して前記放熱板を得る工程と、を備える放熱板の製造方法。
発明の詳細な説明
【技術分野】
【0001】
本開示は、放熱板、半導体装置、および放熱板の製造方法に関する。
続きを表示(約 1,600 文字)
【背景技術】
【0002】
半導体機器の放熱部品用の材料には、高い熱伝導率が求められる。銅は、高い熱伝導率を有しているものの熱膨張率も高い。銅の高い熱伝導率を損なわずに熱膨張率を低下させることができ、低コストで製造可能な複合材料として、金属-黒鉛複合材料が提案されている(例えば、特許文献1参照)。特許文献1の金属-黒鉛複合材料は、高い冷却信頼性と低い線膨張係数を有することが開示されている。
【0003】
また、特許文献2、および特許文献3には、複合材料として黒鉛-銅複合材料が提案されている。そして、特許文献3には、この複合材料を構成する鱗片状黒鉛粒子の積層方向(Z)に垂直な方向(X、Y)での熱伝導率が、積層方向(Z)での熱伝導率よりも大きいこと、といった記載がある。
【先行技術文献】
【特許文献】
【0004】
特開2017-128802号公報
特開2023-056481号公報
特開2023-126049号公報
【発明の概要】
【発明が解決しようとする課題】
【0005】
近年、IOT、AIや電気自動車など新しい技術の躍進により、小型化する半導体機器に対応するため、厚みがより薄く、放熱性がより向上できる放熱部品(放熱板)の開発が望まれる。しかしながら、放熱板の厚みを薄くすると、強度が低下して歩留まりが低下することが懸念される。また、放熱板の材料として黒鉛-銅複合材料を用いた場合、鱗片状黒鉛粒子の積層方向によっては、熱伝導が行われにくく、放熱性が低下する可能性がある。
そこで、本開示は、厚みがより薄く、歩留まりを向上できる放熱板、半導体装置、および放熱板の製造方法を提供することを目的とする。また、放熱性がより向上できる放熱板、半導体装置、および放熱板の製造方法を提供することを目的とする。
【課題を解決するための手段】
【0006】
本発明者は、上記課題を解決するために検討を行った結果、放熱板の厚み方向に対し交わる方向に積層され、メジアン径が、50μm以上、800μm以下である、鱗片状黒鉛粒子を用いることによって、厚みがより薄く、歩留まりを向上できる放熱板が得られることを見出した。
【0007】
すなわち、本開示は、銅層と、前記銅層を介して積層された鱗片状黒鉛粒子とを含む黒鉛-銅複合材料からなる放熱板であって、前記鱗片状黒鉛粒子は、前記放熱板の厚み方向に対し交わる方向に積層され、前記鱗片状黒鉛粒子のメジアン径は、50μm以上、800μm以下であることを特徴とする放熱板である。
【0008】
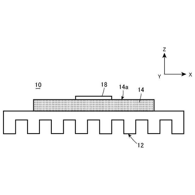
また、本開示は、前述の放熱板と、前記放熱板の表面のうち、前記厚み方向に対し交わる主面に接した半導体素子と、を備える半導体装置である。
【0009】
また、本開示は、銅層と、前記銅層を介して積層された鱗片状黒鉛粒子とを含む黒鉛-銅複合材料からなる放熱板の製造方法であって、黒鉛粒子に前処理を施して、メジアン径が50μm以上、800μm以下の前記鱗片状黒鉛粒子を得る工程と、前記鱗片状黒鉛粒子と銅粒子とを混合して成形原料を得る工程と、前記成形原料を成形して得られた成形体を多軸通電焼結法により加圧して焼結することで、前記鱗片状黒鉛粒子が所定の方向に積層した焼結体を得る工程と、前記鱗片状黒鉛粒子の積層方向が前記放熱板の厚み方向に対し交わる方向となるように、前記焼結体を加工して前記放熱板を得る工程と、を備える放熱板の製造方法である。
【発明の効果】
【0010】
本開示によれば、厚みがより薄く、歩留まりを向上できる放熱板、半導体装置、および放熱板の製造方法の提供が可能となる。また、放熱性がより向上できる放熱板、半導体装置、および放熱板の製造方法の提供が可能となる。
【図面の簡単な説明】
(【0011】以降は省略されています)
この特許をJ-PlatPat(特許庁公式サイト)で参照する
関連特許
UBE株式会社
衝撃吸収材
11日前
UBE株式会社
熱伝導性樹脂組成物及び成形体
11日前
UBE株式会社
ポリアミド樹脂強化用セルロース系繊維
3日前
UBE株式会社
放熱板、半導体装置、および放熱板の製造方法
1か月前
UBE株式会社
α-アミノボロン酸誘導体及びその中間体の製造方法
2日前
UBE株式会社
ポリアミド樹脂組成物及びそれから得られるフィルム
1か月前
UBE株式会社
水性ポリウレタン樹脂分散体及びそれを含むコーティング用組成物
2日前
UBE株式会社
RNA送達用組成物、RNA送達用組成物の製造方法、水生動物の飼育方法及び水生動物
11日前
河村産業株式会社
ポリイミド系樹脂粉体、ポリイミド系樹脂ワニス及びポリイミド系樹脂膜
1か月前
東レ株式会社
多孔質炭素シート
1か月前
日本発條株式会社
積層体
11日前
ローム株式会社
半導体装置
2日前
個人
防雪防塵カバー
11日前
ローム株式会社
半導体装置
9日前
ローム株式会社
半導体装置
9日前
ローム株式会社
半導体装置
9日前
ローム株式会社
半導体装置
7日前
株式会社ホロン
冷陰極電子源
7日前
株式会社ティラド
面接触型熱交換器
22日前
個人
半導体パッケージ用ガラス基板
10日前
太陽誘電株式会社
全固体電池
7日前
株式会社GSユアサ
蓄電装置
11日前
株式会社GSユアサ
蓄電装置
7日前
ニチコン株式会社
コンデンサ
23日前
オムロン株式会社
電磁継電器
1日前
ニチコン株式会社
コンデンサ
23日前
TDK株式会社
電子部品
7日前
日東電工株式会社
積層体
1日前
日本特殊陶業株式会社
保持装置
11日前
トヨタ自動車株式会社
バッテリ
1日前
マクセル株式会社
配列用マスク
22日前
日本特殊陶業株式会社
保持装置
9日前
トヨタ自動車株式会社
二次電池
11日前
日本特殊陶業株式会社
保持装置
7日前
日本特殊陶業株式会社
保持装置
7日前
ローム株式会社
電子装置
11日前
続きを見る
他の特許を見る