TOP
|
特許
|
意匠
|
商標
特許ウォッチ
Twitter
他の特許を見る
公開番号
2025132587
公報種別
公開特許公報(A)
公開日
2025-09-10
出願番号
2024030253
出願日
2024-02-29
発明の名称
レーザ加工装置及びレーザ加工方法
出願人
株式会社ディスコ
代理人
弁理士法人酒井国際特許事務所
主分類
B23K
26/067 20060101AFI20250903BHJP(工作機械;他に分類されない金属加工)
要約
【課題】レーザビームの集光点の間隔を調整する機構の簡便化を図ることができること。
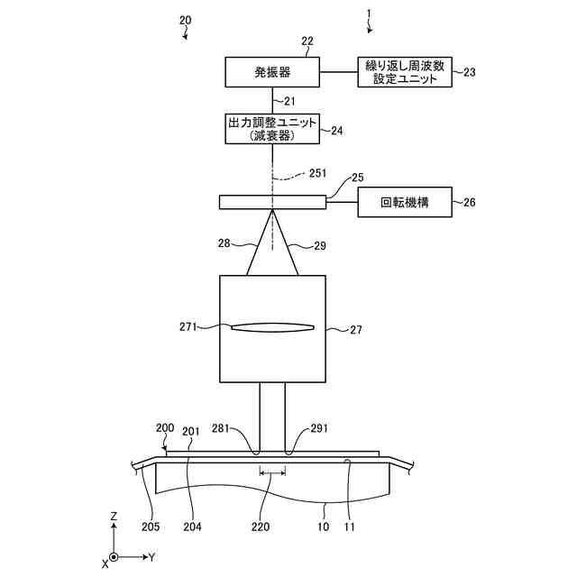
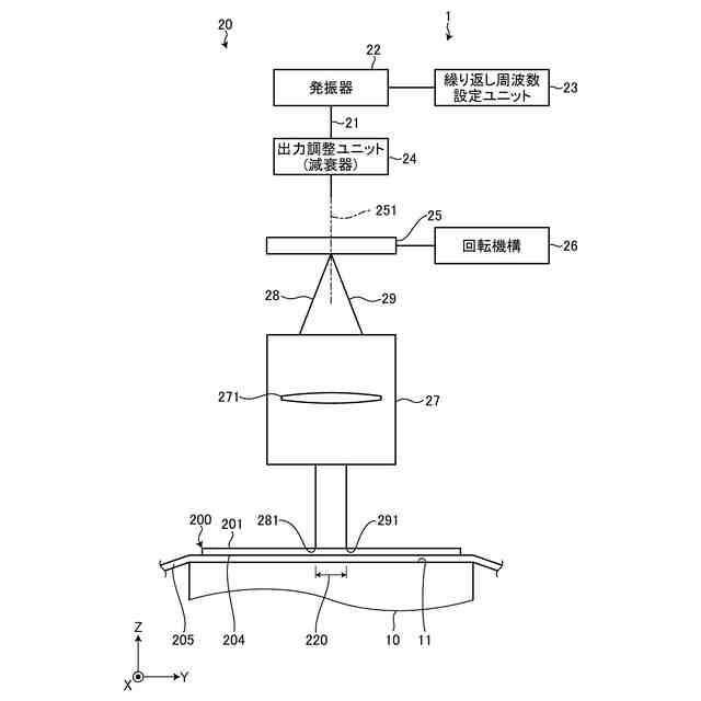
【解決手段】レーザ加工装置1は、被加工物200を保持する保持ユニット10と、レーザビーム21を生成する発振器22と、発振器22で生成されたレーザビーム21を第1レーザビーム28と第2レーザビーム29とに分岐する分岐素子25と、分岐素子25の中心を通るレーザビームの光軸251周りに分岐素子25を回転させる回転機構26と、分岐素子25で分岐された第1レーザビーム28を保持ユニット10で保持された被加工物200に集光するとともに、分岐素子25で分岐された第2レーザビーム29を保持ユニット10で保持された被加工物200に集光する集光レンズ271を有した集光ユニット27と、を備える。
【選択図】図3
特許請求の範囲
【請求項1】
レーザ加工装置であって、
被加工物を保持する保持ユニットと、
レーザビームを生成する発振器と、
該発振器で生成された該レーザビームを第1レーザビームと第2レーザビームとに分岐する分岐素子と、
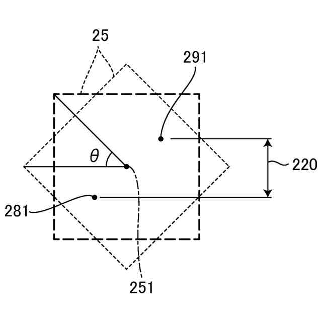
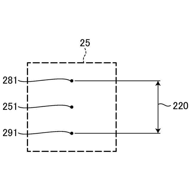
該分岐素子の中心を通る軸周りに該分岐素子を回転させる回転機構と、
該分岐素子で分岐された該第1レーザビームを該保持ユニットで保持された被加工物に集光するとともに該分岐素子で分岐された該第2レーザビームを該保持ユニットで保持された被加工物に集光する集光レンズを有した集光ユニットと、
を備えたレーザ加工装置。
続きを表示(約 1,100 文字)
【請求項2】
該分岐素子は回折光学素子からなる、請求項1に記載のレーザ加工装置。
【請求項3】
該分岐素子は偏光プリズムからなる、請求項1に記載のレーザ加工装置。
【請求項4】
少なくとも該回転機構を制御するコントローラを備え、
該コントローラは、該第1レーザビームの集光点位置と該第2レーザビームの集光点位置との間のインデックス値が登録されるインデックス値登録部と、
該インデックス値登録部に登録された該インデックス値に基づいて該分岐素子の回転角度を算出する角度算出部と、を備え、
該コントローラは、該角度算出部で算出された該回転角度に基づいて該回転機構を制御する、請求項1に記載のレーザ加工装置。
【請求項5】
被加工物には第1方向に伸長する複数の加工予定ラインが設定され、
該第1レーザビームの集光点は第1の加工予定ラインに位置付けられるとともに、該第2レーザビームの集光点は該第1の加工予定ラインとは異なる第2の加工予定ラインに位置付けられる、請求項4に記載のレーザ加工装置。
【請求項6】
該集光ユニットは、該第1レーザビームを被加工物に対して垂直に形成するとともに該第2レーザビームを被加工物に対して垂直に形成する、請求項1に記載のレーザ加工装置。
【請求項7】
第1方向に伸長する複数の加工予定ラインが設定された被加工物のレーザ加工方法であって、
被加工物を保持ユニットで保持する保持ステップと、
発振器で生成したレーザビームを分岐素子で第1レーザビームと第2レーザビームとに分岐し、集光ユニットで該第1レーザビームと該第2レーザビームとを該保持ユニットで保持された被加工物に集光しつつ該集光ユニットと該保持ユニットとを該第1方向に相対移動させて被加工物に該加工予定ラインに沿ったレーザ加工を施すレーザ加工ステップと、を備え、
該レーザ加工ステップでは該第1レーザビームの集光点が第1の加工予定ラインに位置付けられるとともに該第2レーザビームの集光点が該第1の加工予定ラインと異なる第2の加工予定ラインに位置付けられて該第1レーザビームが該第1の加工予定ラインに沿って照射されるとともに該第2レーザビームが該第2の加工予定ラインに沿って照射され、
少なくとも該レーザ加工ステップを実施する前に該第1レーザビームの集光点と該第2レーザビームの集光点との該第1方向に直交する第2方向における距離をもとに該分岐素子を回転させて該第1レーザビームの集光点と該第2レーザビームの集光点の間隔を調整する集光点間隔調整ステップと、を更に備えた、レーザ加工方法。
発明の詳細な説明
【技術分野】
【0001】
本発明は、レーザ加工装置及びレーザ加工方法に関する。
続きを表示(約 1,200 文字)
【背景技術】
【0002】
レーザ加工における生産性を向上させるため、被加工物の複数の加工予定ラインに対して同時にレーザビームを照射して複数の加工予定ラインを同時に加工できるレーザ加工装置が提案されている(例えば、特許文献1参照)。
【先行技術文献】
【特許文献】
【0003】
特開2008-290086号公報
【発明の概要】
【発明が解決しようとする課題】
【0004】
従来の加工装置では、レーザビームを分岐させるための機構や分岐した各レーザビームの集光点の間隔の調整を行なうための機構の構成が複雑であり改善の余地があった。
【0005】
本発明の目的は、レーザビームの集光点の間隔を調整する機構の簡便化を図ることができるレーザ加工装置及びレーザ加工方法を提供することである。
【課題を解決するための手段】
【0006】
上述した課題を解決し、目的を達成するために、本発明のレーザ加工装置は、レーザ加工装置であって、被加工物を保持する保持ユニットと、レーザビームを生成する発振器と、該発振器で生成された該レーザビームを第1レーザビームと第2レーザビームとに分岐する分岐素子と、該分岐素子の中心を通る軸周りに該分岐素子を回転させる回転機構と、該分岐素子で分岐された該第1レーザビームを該保持ユニットで保持された被加工物に集光するとともに該分岐素子で分岐された該第2レーザビームを該保持ユニットで保持された被加工物に集光する集光レンズを有した集光ユニットと、を備えたことを特徴とする。
【0007】
前記レーザ加工装置において、該分岐素子は回折光学素子からなってもよい。
【0008】
前記レーザ加工装置において、該分岐素子は偏光プリズムからなってもよい。
【0009】
前記レーザ加工装置において、少なくとも該回転機構を制御するコントローラを備え、該コントローラは、該第1レーザビームの集光点位置と該第2レーザビームの集光点位置との間のインデックス値が登録されるインデックス値登録部と、該インデックス値登録部に登録された該インデックス値に基づいて該分岐素子の回転角度を算出する角度算出部と、を備え、該コントローラは、該角度算出部で算出された該回転角度に基づいて該回転機構を制御してもよい。
【0010】
前記レーザ加工装置において、被加工物には第1方向に伸長する複数の加工予定ラインが設定され、該第1レーザビームの集光点は第1の加工予定ラインに位置付けられるとともに、該第2レーザビームの集光点は該第1の加工予定ラインとは異なる第2の加工予定ラインに位置付けられてもよい。
(【0011】以降は省略されています)
この特許をJ-PlatPat(特許庁公式サイト)で参照する
関連特許
株式会社ディスコ
ノズル
14日前
株式会社ディスコ
加工装置
16日前
株式会社ディスコ
加工装置
14日前
株式会社ディスコ
切削装置
14日前
株式会社ディスコ
研削装置
1か月前
株式会社ディスコ
切削装置
7日前
株式会社ディスコ
フレーム
14日前
株式会社ディスコ
加工装置
1か月前
株式会社ディスコ
加工装置
23日前
株式会社ディスコ
診断方法
4日前
株式会社ディスコ
加工装置
1か月前
株式会社ディスコ
加工方法
15日前
株式会社ディスコ
研磨装置
1日前
株式会社ディスコ
加工水供給装置
7日前
株式会社ディスコ
ノズルユニット
4日前
株式会社ディスコ
シート貼着装置
15日前
株式会社ディスコ
液体供給システム
14日前
株式会社ディスコ
接合強度検査方法
24日前
株式会社ディスコ
チャックテーブル
24日前
株式会社ディスコ
ドレッシング方法
28日前
株式会社ディスコ
切削ブレード治具
4日前
株式会社ディスコ
ドレッシング方法
1か月前
株式会社ディスコ
ウエーハの加工方法
25日前
株式会社ディスコ
洗浄液供給システム
24日前
株式会社ディスコ
被加工物の加工方法
14日前
株式会社ディスコ
ウェーハの製造方法
22日前
株式会社ディスコ
被加工物の加工方法
22日前
株式会社ディスコ
ウエーハの加工装置
1か月前
株式会社ディスコ
洗浄装置及び洗浄方法
28日前
株式会社ディスコ
測定方法及び測定治具
1か月前
株式会社ディスコ
洗浄装置及び洗浄方法
1日前
株式会社ディスコ
切削方法及び切削装置
22日前
株式会社ディスコ
搬送機構および搬送方法
1日前
株式会社ディスコ
押圧試験装置の評価方法
14日前
株式会社ディスコ
積層ウェーハの加工方法
4日前
株式会社ディスコ
切削ブレードのドレス方法
22日前
続きを見る
他の特許を見る