TOP
|
特許
|
意匠
|
商標
特許ウォッチ
Twitter
他の特許を見る
公開番号
2025133587
公報種別
公開特許公報(A)
公開日
2025-09-11
出願番号
2024031625
出願日
2024-03-01
発明の名称
魚介類等生物の処理方法および処理装置
出願人
個人
代理人
個人
,
個人
主分類
A01K
79/02 20060101AFI20250904BHJP(農業;林業;畜産;狩猟;捕獲;漁業)
要約
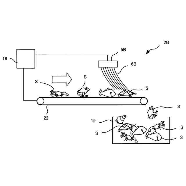
【課題】甲殻類、亀、魚介類を含む生物について、痛みや苦痛を与えずに確実に安楽死させる処理方法を提供する。
【解決手段】導電性素材からなり可撓性あるいは弾性を備えた毛部(6)が設けられている導電性ブラシ(5)を使用する。このような導電性ブラシ(5)に電圧を印加させておき、甲殻類、亀、魚介類を含む生物(S)を毛部(6)に接触させて感電死させるように構成する。
【選択図】図1
特許請求の範囲
【請求項1】
導電性素材からなり可撓性あるいは弾性を備えた毛部が設けられている導電性ブラシを使用して、該導電性ブラシに電圧を印加させておき、甲殻類、亀、魚介類を含む生物を前記毛部に接触させて感電死させる、魚介類等生物の処理方法。
続きを表示(約 620 文字)
【請求項2】
感電死した前記生物を粉砕して生物粉砕物にする、請求項1に記載の魚介類等生物の処理方法。
【請求項3】
前記導電性ブラシは、前記毛部が弾性を備えた針金から形成されている、請求項1または2に記載の魚介類等生物の処理方法。
【請求項4】
導電性ブラシと、
前記導電性ブラシに電圧を印加する電圧供給装置と、を備え、
前記導電性ブラシは毛部が導電性素材からなると共に可撓性あるいは弾性を備えており、
甲殻類、亀、魚介類を含む生物を、電圧が印加された前記導電性ブラシの前記毛部に接触させて感電死させるようになっている、魚介類等生物の処理装置。
【請求項5】
前記魚介類等生物の処理装置は、感電死した前記生物を粉砕して生物粉砕物にする生物粉砕処理装置を備えている、請求項4に記載の魚介類等生物の処理装置。
【請求項6】
前記魚介類等生物の処理装置は、円筒状に形成された前記導電性ブラシを2本備えており、2本の前記導電性ブラシは所定の間隔を開けて平行に配置されていると共に交流電圧が印加され、前記生物が2本の前記導電性ブラシの間に送り込まれるようになっている、請求項4または5に記載の魚介類等生物の処理装置。
【請求項7】
前記導電性ブラシは、前記毛部が弾性を備えた針金から形成されている、請求項4または5に記載の魚介類等生物の処理装置。
発明の詳細な説明
【技術分野】
【0001】
本発明は、甲殻類、魚類等の生物を痛みや苦痛を与えずに処理する方法、および処理装置に関するものである。
続きを表示(約 1,900 文字)
【背景技術】
【0002】
乱獲や環境の変化等の影響により年々水産資源が減少する傾向が見られる中、水産物を安定的に供給することができる養殖の重要性が近年ますます高くなってきている。例えば、現在国内で販売されている魚介類は、その約60%が養殖により供給されている。養殖は色々な方法で実施されており、自然の水域を利用して生け簀を形成して実施される従来の養殖もあるし、人工的に建築された養殖池において実施される、いわゆる陸上養殖もある。
【0003】
ところで日本の河川、湖沼等には、いわゆる特定外来種の繁殖が多く報告され、日本固有生物種の生息を脅かしている。環境省・農林水産省は、生態系被害防止外来種リストとして国外由来の動物等をとりまとめ、特定外来種被害防止指針を提出するなどして対策を打ち出している。しかしながら依然として、オオクチバス、ブルーギル、アメリカザリガニ、ミシシッピーアカミミガメ、ウシガエル、ジャンボタニシ等による甚大な漁業被害や農業被害が全国で報告されている。日本は世界でも有数の農水産業大国であり、特定外来種等による被害を防止することは待ったなしの緊急課題であると言える。
【先行技術文献】
【特許文献】
【0004】
特開2009-159822号公報
【0005】
特許文献1には、魚を気絶させ、あるいはショック死させる装置が記載されている。この文献に記載の方法は、ビニール等でその表面を覆ったワイヤー等の電気伝導体を通して釣り針またはその付近に電流を流すことにより、釣り針に掛かった魚を気絶させ、あるいはショック死させるようになっている。
【発明の概要】
【発明が解決しようとする課題】
【0006】
前記したように、近年は養殖が盛んに実施されるようになってきており、養殖の重要性は増しているが解決すべき課題がある。養殖を実施するには、鰯、オキアミ等の魚粉からなる飼料が大量に必要になる。しかしながら魚粉は輸入に頼っており、世界的な給餌養殖の発展により需要が増大して価格が高騰している。養殖に必要な経費のうち飼料が占める割合は6~7割に達すると言われており、飼料のコストが高いという問題がある。
【0007】
ところで、漁業被害をもたらしている特定外来種は駆除されているが、現状これを利用する方法が確立されておらずほとんど廃棄されている。このような特定外来種を原料として粉砕して養殖の飼料を製造するようにすれば、廃棄の問題が解決されるだけでなく養殖における飼料のコストを抑制できそうである。
【0008】
近年は生物を処理するとき、事前に生物に痛みや苦痛を与えないようにすることが要求されている。環境省からは、例えばミシシッピアカミミガメの場合、専用冷凍庫を利用して冷凍殺させることが推奨されている。しかしながら、冷凍殺は死に至るまでに時間を要するので苦痛を与えているとの批判があり、必ずしも好ましい方法であるとは言えない。そこで、安楽死させた後に処理している家畜の例を参考にして、感電死によりショック死させる方法が好ましいと言える。感電死は瞬間的に実施され、痛みや苦痛を与える虞がないからである。
【0009】
感電死させる場合、特許文献1に記載の方法を参考にすることができる。しかしながらこの方法は釣り針に掛かった状態の魚を対象としているので参考にはならない。生物に電極を接触させる方法も考えられる。しかしながら単純に電極を接触させるだけでは、確実に安楽死させられない虞がある。なぜならば、魚類については1カ所でも電極が触れれば感電死させることができるが、例えばアメリカザリガニやミシシッピアカミミガメの場合には、硬い外殻や甲羅によって保護されているので、電極の接触部位によっては感電死を免れてしまうからである。屈伸した状態のアメリカザリガニや頭手足を引っ込めたミシシッピアカミミガメの場合、濡れた外殻や甲羅に電極が触れたとしても、外殻や甲羅が導電体になってそれらの表面を電流が流れてしまうからである。つまり確実に感電死、つまり安楽死させることができない。
【0010】
本発明は、上記したような問題点を解決することを目的としている。すなわち、養殖の飼料としての利用が可能な特定外来種等の甲殻類、亀、魚介類を含む生物について、痛みや苦痛を与えずに確実に安楽死させる処理方法を提供することを目的としている。
【課題を解決するための手段】
(【0011】以降は省略されています)
この特許をJ-PlatPat(特許庁公式サイト)で参照する
関連特許
個人
虫捕り器
2日前
個人
巻糸係止具
23日前
個人
虫の生け捕り具
1か月前
個人
植物栽培用培地
1か月前
個人
飼育容器
12日前
個人
後付巻降ろし器
2日前
個人
植木鉢用台
1か月前
個人
釣り仕掛け処理具
29日前
個人
イカ釣り用ヤエン
2日前
井関農機株式会社
作業車両
今日
井関農機株式会社
作業車両
1か月前
岡部株式会社
浮魚礁
1か月前
井関農機株式会社
作業車両
2日前
井関農機株式会社
作業車両
2日前
株式会社シマノ
釣竿
2日前
個人
水耕栽培システム
12日前
井関農機株式会社
圃場作業機
23日前
個人
苔玉スタンド
1か月前
井関農機株式会社
収穫作業車両
1か月前
井関農機株式会社
作業車両
12日前
中国電力株式会社
巣撤去具
1か月前
松山株式会社
農作業機
1か月前
個人
妻面トラス梁付き園芸用ハウス
14日前
株式会社シマノ
ルアー
1か月前
松山株式会社
農作業機
1か月前
松山株式会社
農作業機
1か月前
個人
伸縮する草刈り機の可動装置。
2日前
松山株式会社
農作業機
12日前
みのる産業株式会社
苗植付装置
27日前
みのる産業株式会社
苗植付装置
27日前
個人
給水方法及びこれを用いた給水装置
28日前
個人
飼育水槽用の浄化装置
6日前
第一衛材株式会社
ペット用おむつ
1か月前
株式会社クボタ
田植機
26日前
個人
大型ペット用安定供給水やりシステム
1か月前
トヨタ自動車株式会社
植物栽培装置
21日前
続きを見る
他の特許を見る