TOP
|
特許
|
意匠
|
商標
特許ウォッチ
Twitter
他の特許を見る
10個以上の画像は省略されています。
公開番号
2025133955
公報種別
公開特許公報(A)
公開日
2025-09-11
出願番号
2025118146,2024036922
出願日
2025-07-14,2019-01-22
発明の名称
回路基板用コネクタ装置
出願人
ヒロセ電機株式会社
代理人
個人
,
個人
,
個人
,
個人
,
個人
,
個人
,
個人
主分類
H01R
12/71 20110101AFI20250904BHJP(基本的電気素子)
要約
【課題】従来の問題点、少なくとも第2水平方向においてコネクタの大型化の問題を解消した回路基板用コネクタ装置を提供することである。
【解決手段】ハウジングと、これに保持される端子及び補強金具とを備える。ハウジングは、高さ方向に突出した突壁と、高さ方向に突出し、長さ方向及び幅方向において突壁の周囲を囲む周壁と、長さ方向及び幅方向において突壁と周壁との間に位置し、高さ方向に窪んだ受入部とを有する。補強金具は、周壁の幅部分に配置された端部とそれぞれ連結された状態で、且つ、高さ方向において互いに離間された状態で、周壁の少なくとも長さ部分を端子に向かって延びている第一の部分及び第二の部分を有する。第二の部分は、高さ方向において第一の部分の外端と同じ位置か又は外端よりも実装面に近い側に位置し、且つ、幅方向において第一の部分よりもハウジングの内方に位置している。
【選択図】図1
特許請求の範囲
【請求項1】
回路基板の実装面に実装される回路基板用コネクタ装置であって、
互いに直交する、高さ方向、長さ方向、及び幅方向を有するハウジングと、
前記ハウジングに保持される端子及び補強金具と、を備え、
前記ハウジングは、
前記実装面の側から相手コネクタとの嵌合側に向かって前記高さ方向に突出した突壁と、
前記実装面の側から前記相手コネクタとの嵌合側に向かって前記高さ方向に突出し、前記長さ方向に沿って延びる長さ部分及び前記幅方向に沿って延びる幅部分を有する、前記突壁の周囲を囲む周壁と、
前記長さ方向及び前記幅方向において前記突壁と前記周壁との間に位置し、前記相手コネクタとの嵌合側から前記実装面の側に向かって前記高さ方向に窪んだ受入部と、を有し、
前記補強金具は、
前記周壁の幅部分に配置された端部とそれぞれ連結された状態で、且つ、前記高さ方向において互いに離間された状態で、前記周壁の少なくとも長さ部分を前記端子に向かって延びている第一の部分及び第二の部分と、を有し、
前記第一の部分は、前記高さ方向における前記相手コネクタとの嵌合側にて前記ハウジングから露呈し、
前記第二の部分は、前記高さ方向における前記相手コネクタとの嵌合側とは反対側にて回路基板の実装面に実装され、
前記第二の部分は、前記高さ方向において前記第一の部分よりも前記実装面に近い側に位置し、且つ、前記幅方向において前記第一の部分の外端と同じ位置か又は外端よりも前記ハウジングの内方に位置していることを特徴とする回路基板用コネクタ装置。
続きを表示(約 1,200 文字)
【請求項2】
前記端部は、前記周壁の幅部分の外壁を形成する外壁部と、前記周壁の幅部分の内壁を形成する前記受入部に面した内壁部と、前記高さ方向における前記相手コネクタとの嵌合側にて前記外壁部と前記内壁部を繋ぐ上壁部を含み、前記上壁部は、前記高さ方向における前記相手コネクタとの嵌合側にて前記ハウジングから露呈している、請求項1に記載の回路基板用コネクタ装置。
【請求項3】
前記第一の部分は、前記上壁部から延び、前記第二の部分は、前記外壁部から延びている、請求項2に記載の回路基板用コネクタ装置。
【請求項4】
前記高さ方向において前記相手コネクタに最も近い側に位置にする前記上壁部の頂部は、前記高さ方向において前記相手コネクタに最も近い側に位置にする前記第一の部分の頂部と、前記高さ方向において同じ高さに位置付けられている、請求項2又は3に記載の回路基板用コネクタ装置。
【請求項5】
前記第二の部分は、前記高さ方向と前記長さ方向によって形成される面を有し、該面の少なくとも一部は、前記受入部の側において前記ハウジングから露呈している、請求項4に記載の回路基板用コネクタ装置。
【請求項6】
前記ハウジングから露呈している前記第二の部分の面の少なくとも一部と、前記第一の部分の内端と、それらの間に設けた前記ハウジングの一部は、前記受入部の側において前記高さ方向に沿って同一面を形成する、請求項5に記載の回路基板用コネクタ装置。
【請求項7】
前記補強金具は、更に、前記受入部の底壁の一部を形成する底部と、該底部から前記長手方向に沿って延び且つ前記高さ方向において前記相手コネクタとの嵌合側に向かって突出して前記突壁の外壁の一部を形成する端壁と、前記端壁の前記底部とは反対側に設けられた湾曲部を有する、請求項1乃至6のいずれかに記載の回路基板用コネクタ装置。
【請求項8】
前記湾曲部は、前記高さ方向において前記相手コネクタに最も近い側に位置にする前記突壁の頂部を形成する、請求項7に記載の回路基板用コネクタ装置。
【請求項9】
前記湾曲部の端部は前記突壁に埋め込まれている、請求項7又は8に記載の回路基板用コネクタ装置。
【請求項10】
前記端子の一部は、前記高さ方向における前記相手コネクタとの嵌合側にて前記ハウジングの前記長さ部分から露呈し、露呈した前記端子の一部のうち、前記高さ方向において前記相手コネクタに最も近い側に位置にする前記端子の頂部は、前記高さ方向において前記相手コネクタに最も近い側に位置にする前記湾曲部の頂部、及び、前記第一の部分の頂部と、前記高さ方向において同じ高さに位置付けられている、請求項7乃至9のいずれかに記載の回路基板用コネクタ装置。
(【請求項11】以降は省略されています)
発明の詳細な説明
【技術分野】
【0001】
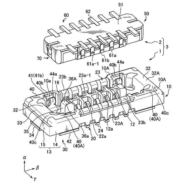
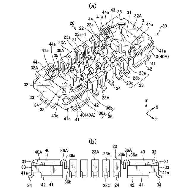
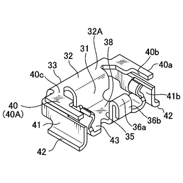
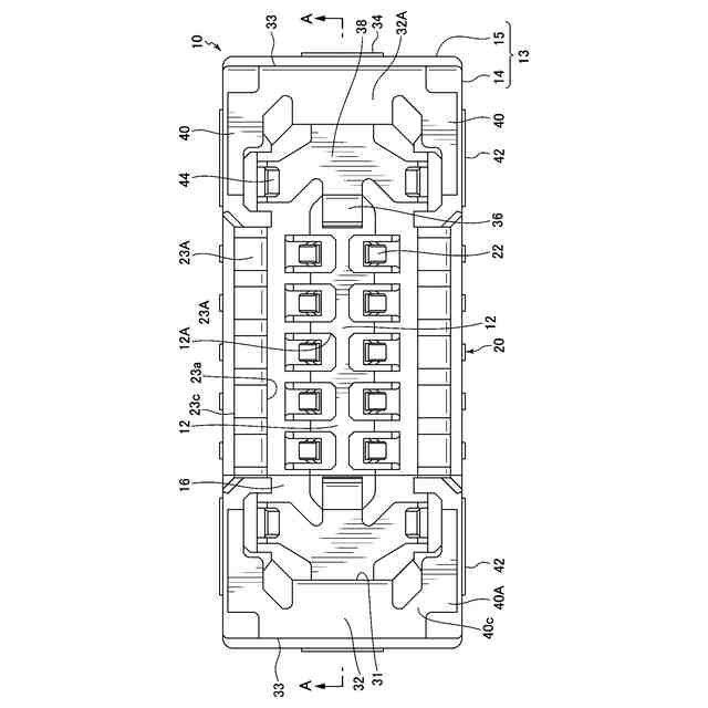
本発明は、回路基板の実装面に実装される回路基板用コネクタ装置に関する。
続きを表示(約 1,600 文字)
【背景技術】
【0002】
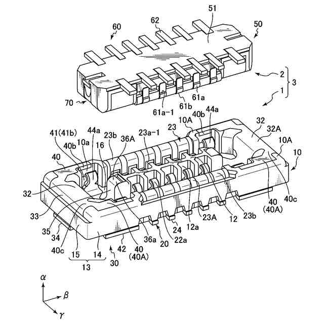
特許文献1に、回路基板用コネクタ装置の一例である回路基板用電気コネクタが開示されている。この回路基板用電気コネクタは、樹脂からなる保持部材と、保持部材に保持される複数のコンタクトと、保持部材に組み込まれる2つの補強部材と、2つのガイド部材を備える。ガイド部材は、補強部材と夫々一体となっており、補強部材とともにインサートモールドにより保持部材に組み込まれている。
【0003】
保持部材は、相手側コネクタが上下方向においてコネクタの上側から接近してそれらが嵌合した際に、相手側コネクタの一部を収容する収容部と、収容部内に配置され且つ上下方向において上方に突出している島状部と、収容部を介して島状部を囲んでいる包囲部とを有している。
【0004】
島状部は、上下方向と直交する第1水平方向に長手を有し、且つ、上下方向及び第1水平方向の双方と直交する第2水平方向における両端に、第1水平方向に配列された第1接点部収容部を有する。これら第1接点部収容部には、コンタクトの第1接点部が収容される。
【0005】
包囲部は、上下方向と直交する第1水平方向に長手を有し、且つ、上下方向及び第1水平方向の双方と直交する第2水平方向における両端に、第1水平方向に配列された第2接点部収容部を有する。これら第2接点部収容部には、コンタクトの第2接点部が収容される。第1接点部と第2接点部は、第2水平方向において互いに対向配置されている。
【0006】
補強部材は、第1水平方向において島状部の2つの端部に夫々位置し、島状部の内部に延びている。補強部材は、島状部を保護する保護部を含み、該保護部は、上面から上下方向において下方に向かう露出連結部と、上面から第2水平方向に沿って島状部から離れる方向にそれぞれ分岐された支持部と、各支持部と連結された下側露出部と、各下側露出部と連結された弾性片を含む。
【0007】
ガイド部材は、第1水平方向において補強部材の保護部と対向している第1ガイド部と、第2水平方向において保持部材の収容部を挟んで位置している2つの第2ガイド部と、第1ガイド部の上端から下方に延びてガイド部材と補強部材とを連結している連結部とを有している。ガイド部材の第2ガイド部の上端は、第1ガイド部の上端と連結されており、また、該上端と連結され、自由端として形成された下端において、回路基板(図示せず)に半田付けされるようになっている。
【先行技術文献】
【特許文献】
【0008】
特開2017-168210号公報
【発明の概要】
【発明が解決しようとする課題】
【0009】
特許文献1の回路基板用電気コネクタでは、第1水平方向に延びるガイド部材の第2ガイド部において、回路基板(図示せず)と半田付けされる下端が、第2ガイド部の上端を形成している第2水平方向における端部から上下方向に沿って垂直に折り曲げることによって形成されており、この結果、第2水平方向において、少なくともガイド部材の板厚の分だけコネクタが大型化してしまうといった問題が生じていた。
また、特許文献1のコネクタでは、相手側コネクタとの嵌合時に相手側コネクタと接触する補強部材の弾性片が第1水平方向において島状部にまで及んでおり、この結果、端子の他に補強部材の弾性片を配列した分だけ、第1水平方向においてもコネクタが大型化してしまうといった問題が生じていた。
【0010】
更に、特許文献1のコネクタでは、ガイド部材が端子に比べて相手側コネクタとの嵌合側に突出していることから、上下方向においてもコネクタが大型化してしまうといった問題が生じていた。
(【0011】以降は省略されています)
この特許をJ-PlatPat(特許庁公式サイト)で参照する
関連特許
ヒロセ電機株式会社
電気コネクタ
19日前
ヒロセ電機株式会社
アプリケータ
29日前
ヒロセ電機株式会社
アプリケータ
29日前
ヒロセ電機株式会社
複数のコンタクト列を有するコネクタの製造方法、及びコネクタ
1か月前
ヒロセ電機株式会社
回路基板用コネクタ装置
1か月前
日本発條株式会社
積層体
19日前
個人
フレキシブル電気化学素子
8日前
日新イオン機器株式会社
イオン源
4日前
個人
防雪防塵カバー
19日前
株式会社ユーシン
操作装置
8日前
ローム株式会社
半導体装置
17日前
ローム株式会社
半導体装置
17日前
ローム株式会社
半導体装置
15日前
ローム株式会社
半導体装置
17日前
ローム株式会社
半導体装置
10日前
太陽誘電株式会社
コイル部品
8日前
株式会社GSユアサ
蓄電装置
19日前
株式会社ホロン
冷陰極電子源
15日前
株式会社GSユアサ
蓄電設備
8日前
株式会社ホロン
冷陰極電子源
2日前
オムロン株式会社
電磁継電器
9日前
株式会社GSユアサ
蓄電設備
8日前
株式会社GSユアサ
蓄電装置
15日前
個人
半導体パッケージ用ガラス基板
18日前
太陽誘電株式会社
全固体電池
15日前
トヨタ自動車株式会社
バッテリ
9日前
日本特殊陶業株式会社
保持装置
17日前
トヨタ自動車株式会社
二次電池
19日前
トヨタ自動車株式会社
蓄電装置
8日前
日東電工株式会社
積層体
9日前
日本特殊陶業株式会社
保持装置
19日前
ノリタケ株式会社
熱伝導シート
8日前
ローム株式会社
電子装置
19日前
TDK株式会社
電子部品
15日前
日本特殊陶業株式会社
保持装置
15日前
サクサ株式会社
電池の固定構造
8日前
続きを見る
他の特許を見る