TOP
|
特許
|
意匠
|
商標
特許ウォッチ
Twitter
他の特許を見る
公開番号
2025134175
公報種別
公開特許公報(A)
公開日
2025-09-17
出願番号
2024031912
出願日
2024-03-04
発明の名称
融雪装置の制御システム
出願人
株式会社グリーンワークス
,
合同会社エクサ・ストーン
代理人
個人
,
個人
主分類
E01H
5/00 20060101AFI20250909BHJP(道路,鉄道または橋りょうの建設)
要約
【課題】路面を撮影するカメラなどの撮像装置を用いて簡易な仕組みで積雪の有無を判断できる融雪装置の制御システムを提供する。
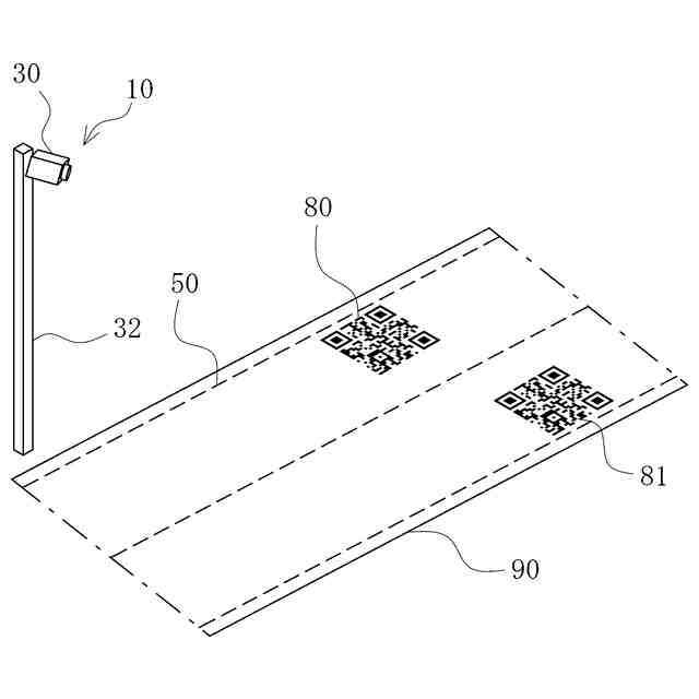
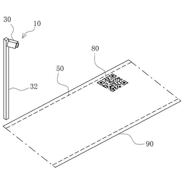
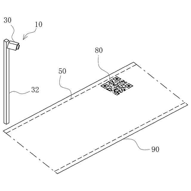
【解決手段】路面90に設置された融雪装置50を制御する制御システム10であって、路面90に描かれた一定の情報を含む記号部80を撮影可能に配置されたカメラ30と、カメラ30で撮影した画像を取得し、該画像から記号部80に含まれる情報を認識する制御部20と、を備え、制御部20は、画像における記号部80に含まれる情報の認識可否に基づき、融雪装置50に制御信号を出力する融雪装置50の制御システム10である。
【選択図】図1
特許請求の範囲
【請求項1】
路面に設置された融雪装置を制御する制御システムであって、
前記路面に描かれた一定の情報を含む記号部を撮影可能に配置された撮像装置と、
前記撮像装置で撮影した画像を取得し、該画像から前記記号部に含まれる前記情報を認識する制御部と、を備え、
前記制御部は、前記画像における前記記号部に含まれる前記情報の認識可否に基づき、前記融雪装置に制御信号を出力する融雪装置の制御システム。
続きを表示(約 500 文字)
【請求項2】
前記記号部は、前記情報を含むバーコードまたは二次元コードである請求項1に記載の融雪装置の制御システム。
【請求項3】
前記記号部に含まれる前記情報には、誤り訂正情報が含まれる請求項1または2に記載の融雪装置の制御システム。
【請求項4】
前記融雪装置と前記制御システムは、それぞれ通信網に接続され、
前記制御部は、前記通信網を介して前記融雪装置に前記制御信号を出力する請求項1または2に記載の融雪装置の制御システム。
【請求項5】
前記路面の表面温度を検出する温度センサを備え、
前記制御部は、前記温度センサで検出した前記路面の表面温度に応じて、前記制御信号を修正する請求項1または2に記載の融雪装置の制御システム。
【請求項6】
前記撮像装置は、前記路面の複数箇所に描かれた複数の前記記号部をそれぞれ撮影可能に配置され、
前記制御部は、前記画像における複数の前記記号部に含まれる前記情報のそれぞれの認識可否に基づき、前記融雪装置に制御信号を出力する請求項1または2に記載の融雪装置の制御システム。
発明の詳細な説明
【技術分野】
【0001】
本発明は、路面に積雪した雪を溶かす融雪装置を制御するための制御システムに関する。
続きを表示(約 1,400 文字)
【背景技術】
【0002】
雪国では、冬期の積雪に対する歩行者や自動車の通路確保のために継続的な除雪を行うため、融雪装置が導入されている。路面に融雪装置を導入することで、必要な箇所の除雪を自動化することができる。一方で、融雪装置は、電気代あるいは燃料費といったランニングコストを要する。このため、融雪装置の電源管理などの制御を自動化することで、ランニングコストの低減が図られている。
【0003】
融雪装置の制御システムとしては、例えば、路面温度や気温の検出、あるいは、大気中の降雪を感知するといった手法で積雪の有無を間接的に判断するものが知られている。これらの手法で、路面に積雪があるものと判断したら、制御システムは融雪装置をオンにし、路面に積雪がないものと判断したら、制御システムは融雪装置をオフにする。しかし、前述の手法を用いて積雪の有無を判断する制御システムにおいては、誤検知を生じる可能性があった。
【0004】
このため、積雪有無判断の精度向上のため、路面を撮影するカメラを設置し、カメラで取得した画像を基に積雪の有無を直接的に判断するシステムも知られている。例えば、カメラで撮影した画像を有人で監視し、積雪の有無に応じて融雪装置を遠隔操作で電源操作するシステムが考えられるが、有人での監視が必要であるため、コストが高く、特に小規模施設での導入が困難である。
【0005】
カメラで撮影した画像を、機械学習や深層学習などによって生成された学習済みモデルで解析し、積雪の有無を判断するシステムも知られている。このような制御システムは、例えば特許文献1に開示されている。
【先行技術文献】
【特許文献】
【0006】
特許第7246056号公報
【発明の概要】
【発明が解決しようとする課題】
【0007】
学習済みモデルを作成するには、路面の特性や状態、積雪の有無などが異なる多数の画像を用意する必要がある。路面の特性としては、路面の色や素材、凹凸、傾斜の有無など多数の要素が関係する。また、路面の状態は、積雪の有無だけでなく、日照の有無や降雨の有無など、多くのパターンが存在する。このため、精度よく積雪の有無を判断できる学習済みモデルを作成することが容易とは言えない。
【0008】
本発明は前記課題を鑑みてなされたものであり、路面を撮影するカメラなどの撮像装置を用いて簡易な仕組みで積雪の有無を判断できる融雪装置の制御システムを提供することを目的とする。
【課題を解決するための手段】
【0009】
前記課題を解決するため、本発明に係る融雪装置の制御システムは、路面に設置された融雪装置を制御する制御システムであって、前記路面に描かれた一定の情報を含む記号部を撮影可能に配置された撮像装置と、前記撮像装置で撮影した画像を取得し、該画像から前記記号部に含まれる前記情報を認識する制御部と、を備え、前記制御部は、前記画像における前記記号部に含まれる前記情報の認識可否に基づき、前記融雪装置に制御信号を出力する。
【0010】
また、本発明に係る融雪装置の制御システムは、前記記号部は、前記情報を含むバーコードまたは二次元コードであってもよい。
(【0011】以降は省略されています)
この特許をJ-PlatPat(特許庁公式サイト)で参照する
関連特許
株式会社熊谷組
床版接合構造
2日前
GX株式会社
昇降式仮設防護体
12日前
前田工繊株式会社
防護柵
14日前
株式会社熊谷組
床版継手装置、及び、床版
2日前
浅香工業株式会社
レーキ
9日前
中井商工株式会社
橋梁の桁端止水工法
2日前
株式会社NIPPO
法面機械
12日前
株式会社NIPPO
法面作業装置
12日前
株式会社NIPPO
法面作業装置
12日前
株式会社NIPPO
コンクリート舗装の施工方法
2日前
大成建設株式会社
床版接合部の設計方法
2日前
株式会社NIPPO
コンクリート舗装及びその施工方法
2日前
株式会社NIPPO
再生アスファルト混合物の製造方法
20日前
株式会社NIPPO
再生アスファルト混合物の製造方法
20日前
日本乾溜工業株式会社
舗装材色相設計装置及びプログラム、並びに舗装材製造方法
2日前
株式会社NICHIJO
凍結防止剤又は滑り止め剤の散布車
12日前
株式会社横河ブリッジ
継手構造、及び床版連結方法
今日
株式会社横河ブリッジ
継手構造、及び床版連結方法
今日
株式会社グリーンワークス
融雪装置の制御システム
14日前
株式会社NIPPO
路面滑り抵抗回復装置および路面滑り抵抗回復方法
2日前
西日本旅客鉄道株式会社
転てつ棒連結構造
12日前
ニッタ株式会社
取付補助具、伸縮装置及び伸縮装置の設置方法
5日前
東洋建設株式会社
プレキャスト梁部材の接合構造及び接合方法
12日前
青野スポーツ施設株式会社
雑草の多いグラウンドのリフォーム工法
5日前
ヨゼフ フェゲーレ アーゲー
調高式デフレクタプレートを備える道路舗装機
2日前
ヨゼフ フェゲーレ アーゲー
高さ調節可能なプレスクレーパブレードを有する道路舗装機
2日前
ニチレキグループ株式会社
軌道、軌道製造方法および軌道補修方法
今日
公益財団法人鉄道総合技術研究所
レール締結装置の組立方法とその分解方法及びレール締結装置の交換方法
2日前
重慶交通大学
鋼管コンクリートアーチ橋の打設過程における力受け状態のリアルタイムモニタリング及び評価方法
5日前
ハンジョウ ディーエーシー バイオテック シーオー.,エルティディ.
ビス連結による細胞毒性剤の共役
6日前
他の特許を見る