TOP
|
特許
|
意匠
|
商標
特許ウォッチ
Twitter
他の特許を見る
公開番号
2025119415
公報種別
公開特許公報(A)
公開日
2025-08-14
出願番号
2024014295
出願日
2024-02-01
発明の名称
車両用リッド構造
出願人
マツダ株式会社
代理人
個人
,
個人
,
個人
,
個人
,
個人
主分類
E05B
83/34 20140101AFI20250806BHJP(錠;鍵;窓または戸の付属品;金庫)
要約
【課題】ラッチ状態におけるロッドの先端部とリッドとのガタ詰めと、アンラッチ状態におけるロッドの先端部のリッドに対する摺動クリアランス確保とを両立すること。
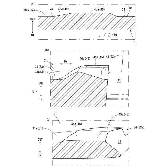
【解決手段】ラッチ部11に、供給口24を閉状態に覆う閉状態のリッド3に向けて、リッド3よりも車体内側から突出するとともに、突出方向に延びる回転軸を中心にラッチ姿勢Ptbとアンラッチ姿勢Ptaとの間で回転可能に設けられたロッド13を備え、閉状態のリッド3に、アンラッチ姿勢Ptaにおいて、ロッド13の先端部15が挿通可能な開口部33と、開口縁部33aに形成された挟持部45と、開口部33に対して突出方向の側に設けられた対面部42とを備え、先端部15を、ラッチ姿勢Ptbとアンラッチ姿勢Ptaとのうちラッチ姿勢Ptbのみにおいて挟持部45と対面部42とに挟持される構成とした。
【選択図】図2
特許請求の範囲
【請求項1】
車体側に設けられ、エネルギー源を供給する供給口を開閉可能に覆うリッドと、前記リッドをラッチ状態とアンラッチ状態とに係脱可能なラッチ部とを備えた車両用リッド構造であって、
前記ラッチ部は、前記供給口を覆う閉状態の前記リッドに向けて、該リッドよりも車体内側から突出するとともに、突出方向に延びる回転軸を中心に前記ラッチ状態と前記アンラッチ状態との間で回転可能に設けられたロッドを備え、
前記リッドは前記閉状態において、前記アンラッチ状態の前記ロッドの前記突出方向の先端部を挿通可能とする開口部と、前記開口部の縁部に形成された挟持部と、前記開口部に対して前記突出方向の側に設けられた対面部とを備え、
前記先端部は、前記ラッチ状態と前記アンラッチ状態とのうち前記ラッチ状態のみにおいて前記挟持部と前記対面部とに挟持されることを特徴とする
車両用リッド構造。
続きを表示(約 850 文字)
【請求項2】
前記挟持部は、前記ラッチ状態の前記先端部が当接する高さとなるように前記開口部の前記縁部における、車体外側を臨む外面から前記突出方向へ突出して形成された
請求項1に記載の車両用リッド構造。
【請求項3】
前記開口部に沿う前記挟持部の端部側のうち、車体外側から視て前記先端部が通過する側の端部側に、前記先端部を前記挟持部の側へ案内する案内部が設けられ、
前記案内部は、前記挟持部に近接するほど該挟持部の突出高さに近付くように前記突出方向へ徐々に突出して形成された
請求項2に記載の車両用リッド構造。
【請求項4】
車体外側から視て前記先端部の回転軌道上において、前記開口部の前記縁部における縁端と、前記案内部との間に、前記外面の一部を成す外面領域が介在する
請求項3に記載の車両用リッド構造。
【請求項5】
前記先端部の回転方向において前記案内部における、前記外面領域との境界部に位置する端部は、車体外側から視て該端部を通過する前記先端部の接線方向に対して直交方向に沿って形成された
請求項4に記載の車両用リッド構造。
【請求項6】
前記案内部には、前記アンラッチ状態から前記ラッチ状態への回転する前記先端部の前記回転方向に沿って徐々に高くなる傾斜面が形成され、前記接線方向に沿う前記傾斜面の横断勾配を水平とした
請求項5に記載の車両用リッド構造。
【請求項7】
前記挟持部は、前記対面部に対して前記開口部を隔てた両側に配設された
請求項1乃至6のいずれか1項に記載の車両用リッド構造。
【請求項8】
前記リッドを開方向に付勢する付勢手段を備えた
請求項1に記載の車両用リッド構造。
【請求項9】
前記先端部は、前記対面部との当接部が弾性部材で形成された
請求項1に記載の車両用リッド構造。
発明の詳細な説明
【技術分野】
【0001】
この発明は、車体側に設けられ、エネルギー源を供給する供給口を開閉可能に覆うリッドと、リッドをラッチ状態とアンラッチ状態とに係脱可能なラッチ部とを備えた車両用リッド構造に関する。
続きを表示(約 1,600 文字)
【背景技術】
【0002】
上述したラッチ部としては特許文献1に例示される車両用ロック構造が提案されている。
特許文献1の車両用ロック構造は、車体側に設けられた供給口を覆うリッドと、リッドに設けられたクリップと、クリップと係合することによってリッドをロックするロック部とを備え、リッド閉時においてロック部は、先端側に設けられるプロペラ部を、クリップの内壁部に形成された開口部を介して該クリップの内部に収容されている。
【0003】
その状態においてロック部は、クリップの外壁部および内壁部によって挟み込まれていないアンラッチ状態と、挟み込まれたラッチ状態との間でプロペラ部が回転可能に構成されている。そして、ラッチ状態においてロック部は、クリップに係合してロックされる。
【0004】
しかし、特許文献1の車両用ロック構造は、リッドの成形のばらつき等により、クリップの外壁部および内壁部と、クリップ内に収容されるプロペラ部との間に例えば、隙、すなわちクリアランスが生じることがある(特許文献1の図4B参照)。このクリアランスが、車体に対してリッドがガタつく要因となるおそれがある。
【0005】
一方、クリアランスを単純に小さくした場合には、プロペラ部がクリップに対してスムーズに係合可能に回転するためのクリアランス(以下、「摺動クリアランス」とも称する)を確保することが困難になるおそれがある。
【0006】
なお、リッドは、アンラッチ状態において開状態となるように車体側との枢着部の側に仕込んだ板バネ等の付勢手段によって開方向へ付勢されたものが知られている。この付勢手段による付勢力によって、車体に対するリッドの上述したガタつきはある程度抑制できるものの付勢手段の付勢力に抗して外力が加わった場合には、上述したようにガタつきが生じるおそれがある。
【先行技術文献】
【特許文献】
【0007】
特開2021-67038号公報
【発明の概要】
【発明が解決しようとする課題】
【0008】
この発明はこのような課題に鑑みてなされたもので、ラッチ状態におけるロッドの先端部とリッドとのガタ詰めと、アンラッチ状態におけるロッドの先端部のリッドに対する摺動クリアランス確保とを両立する車両用リッド構造の提供を目的とする。
【課題を解決するための手段】
【0009】
この発明は、車体側に設けられ、エネルギー源を供給する供給口を開閉可能に覆うリッドと、前記リッドをラッチ状態とアンラッチ状態とに係脱可能なラッチ部とを備えた車両用リッド構造であって、前記ラッチ部は、前記供給口を覆う閉状態の前記リッドに向けて、該リッドよりも車体内側から突出するとともに、突出方向に延びる回転軸を中心に前記ラッチ状態と前記アンラッチ状態との間で回転可能に設けられたロッドを備え、前記リッドは前記閉状態において、前記アンラッチ状態の前記ロッドの前記突出方向の先端部を挿通可能とする開口部と、前記開口部の縁部に形成された挟持部と、前記開口部に対して前記突出方向の側に設けられた対面部とを備え、前記先端部は、前記ラッチ状態と前記アンラッチ状態とのうち前記ラッチ状態のみにおいて前記挟持部と前記対面部とに挟持されることを特徴とする。
【0010】
前記供給口に供給される前記エネルギー源としては、例えば、液体燃料、電力、或いは気体燃料が含まれる。
また、前記開口部は、前記リッドに設けられた開口穴に限らず、前記リッドの外端部から内側へ切り欠き状に形成されたスリットであってもよい。また、前記開口部が前記開口穴である場合には、貫通穴、或いは前記リッドにおける前記開口部の縁部に対して、前記ロッドの突出方向の先端側へ凹んだ凹部であってもよい。
(【0011】以降は省略されています)
この特許をJ-PlatPat(特許庁公式サイト)で参照する
関連特許
マツダ株式会社
二次電池
13日前
マツダ株式会社
排気浄化装置
29日前
マツダ株式会社
排気浄化装置
29日前
マツダ株式会社
モータシステム
1か月前
マツダ株式会社
車両用駆動装置
21日前
マツダ株式会社
車両用駆動装置
21日前
マツダ株式会社
車両用駆動装置
21日前
マツダ株式会社
車両用駆動装置
21日前
マツダ株式会社
車両用駆動装置
21日前
マツダ株式会社
冷媒循環システム
15日前
マツダ株式会社
冷媒循環システム
15日前
マツダ株式会社
冷媒循環システム
15日前
マツダ株式会社
冷媒循環システム
15日前
マツダ株式会社
冷媒循環システム
15日前
マツダ株式会社
冷媒循環システム
15日前
マツダ株式会社
冷媒循環システム
15日前
マツダ株式会社
冷媒循環システム
15日前
マツダ株式会社
水噴射式エンジン
1か月前
マツダ株式会社
車両用リッド構造
1か月前
マツダ株式会社
水噴射式エンジン
1か月前
マツダ株式会社
冷媒循環システム
1か月前
マツダ株式会社
冷媒循環システム
1か月前
マツダ株式会社
冷媒循環システム
1か月前
マツダ株式会社
エンジンシステム
1か月前
マツダ株式会社
エンジンシステム
1か月前
マツダ株式会社
燃料改質システム
1か月前
マツダ株式会社
冷媒循環システム
1か月前
マツダ株式会社
冷媒循環システム
1か月前
マツダ株式会社
車両の下部車体構造
3日前
マツダ株式会社
モータ軸受システム
3日前
マツダ株式会社
車両の下部車体構造
3日前
マツダ株式会社
モータ軸受システム
3日前
マツダ株式会社
車両の下部車体構造
3日前
マツダ株式会社
ドライバ状態推定装置
1か月前
マツダ株式会社
ドライバ状態推定装置
1か月前
マツダ株式会社
ドライバ状態推定装置
1か月前
続きを見る
他の特許を見る