TOP
|
特許
|
意匠
|
商標
特許ウォッチ
Twitter
他の特許を見る
10個以上の画像は省略されています。
公開番号
2025134390
公報種別
公開特許公報(A)
公開日
2025-09-17
出願番号
2024032270
出願日
2024-03-04
発明の名称
半導体装置の製造方法
出願人
株式会社デンソー
,
トヨタ自動車株式会社
,
株式会社ミライズテクノロジーズ
,
国立大学法人東海国立大学機構
代理人
弁理士法人ゆうあい特許事務所
主分類
H01L
21/304 20060101AFI20250909BHJP(基本的電気素子)
要約
【課題】適切に変質層を形成しつつ、変質層を形成する際に発生する窒素ガスを排出する半導体装置の製造方法を提供する。
【解決手段】GaNで構成され、複数のチップ形成領域RAを有する加工ウェハ30を用意することと、複数のチップ形成領域RAに対し、半導体素子の一面側素子構成部分を形成することと、加工ウェハ30の他面30b側から加工ウェハ30の内部にレーザ光Lを照射して変質層60を形成することと、加工ウェハ30の一面側に第1保持部材50が配置されると共に他面30b側に第2保持部材90が配置された状態とし、第1保持部材50および第2保持部材90を把持して加工ウェハ30に力を加えることにより、変質層60を境界として加工ウェハ30を分割することとを行い、変質層60を形成した後であって分割することの前に、変質層60を形成する際に発生する窒素ガスを排出することを行うようにする。
【選択図】図2A
特許請求の範囲
【請求項1】
半導体素子が形成された半導体装置の製造方法であって、
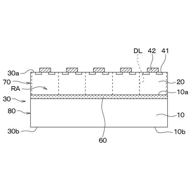
窒化ガリウムで構成され、一面(30a)および前記一面と反対側の他面(30b)を有し、前記一面側に複数のチップ形成領域(RA)を有する加工ウェハ(30)を用意することと、
前記複数のチップ形成領域に対し、前記半導体素子の一面側素子構成部分を形成することと、
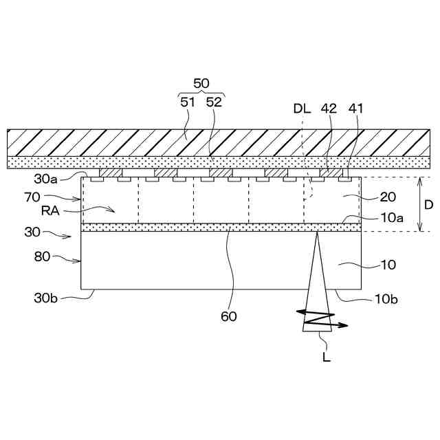
前記加工ウェハの他面側から当該加工ウェハの内部にレーザ光(L)を照射することにより、前記加工ウェハの内部に、前記加工ウェハの面方向に沿った変質層(60)を形成することと、
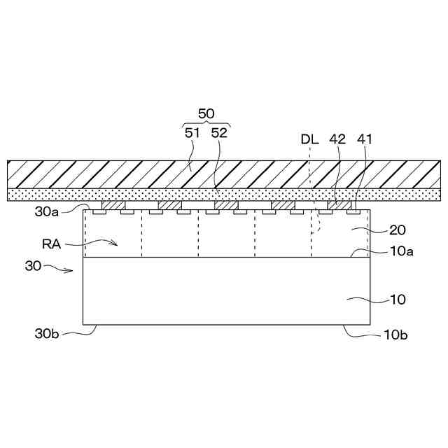
前記加工ウェハの一面側に第1保持部材(50)が配置されると共に前記他面側に第2保持部材(90)が配置された状態とし、前記第1保持部材および前記第2保持部材を把持して前記加工ウェハに力を加えることにより、前記変質層を境界として前記加工ウェハを分割することと、を行い、
前記変質層を形成した後であって前記分割することの前に、前記変質層を形成する際に発生する窒素ガスを排出することを行う半導体装置の製造方法。
続きを表示(約 260 文字)
【請求項2】
前記窒素ガスを排出することでは、前記加工ウェハを真空チャンバ内に配置することで前記窒素ガスを排出する請求項1に記載の半導体装置の製造方法。
【請求項3】
前記窒素ガスを排出することでは、前記加工ウェハを厚さ方向に押圧することにより、前記窒素ガスを排出する請求項1に記載の半導体装置の製造方法。
【請求項4】
前記窒素ガスを排出することでは、前記加工ウェハをガリウムの融点以上に加熱しながら前記窒素ガスを排出する請求項2または3に記載の半導体装置の製造方法。
発明の詳細な説明
【技術分野】
【0001】
本開示は、窒化ガリウム(以下では、単にGaNともいう)で構成される加工ウェハの分割方法を含む半導体装置の製造方法に関するものである。
続きを表示(約 1,800 文字)
【背景技術】
【0002】
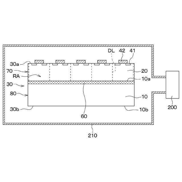
従来より、GaNで構成される加工ウェハを分割して半導体装置を製造する方法が提案されている(例えば、特許文献1参照)。具体的には、この製造方法では、GaNで構成される加工ウェハを用意した後、レーザ光を照射して変質層を形成する。そして、この製造方法では、加工ウェハを挟むように保持治具を配置し、保持治具にて加工ウェハの厚さ方向に引張応力等を印加することにより、変質層を分割の起点として加工ウェハを分割している。
【0003】
また、この製造方法では、変質層を形成する際、窓を有する真空チャンバに加工ウェハを配置し、窓を通じてレーザ光を照射して変質層を形成するようにしている。そして、この製造方法では、変質層を形成する際に発生する窒素ガスが真空チャンバ内の圧力より高くなるため、差圧によって窒素ガスを真空チャンバ内に排出するようにしている。
【先行技術文献】
【特許文献】
【0004】
特開2017-183600号公報
【発明の概要】
【発明が解決しようとする課題】
【0005】
しかしながら、上記の変質層を形成する工程では、真空チャンバ内の圧力と外部の圧力との差圧によって窓が撓む可能性がある。この場合、窓が撓むことでレーザ光の集光点がずれるため、所望の位置に変質層を形成できない可能性がある。
【0006】
したがって、上記の製造方法では、例えば、窓の厚さを厚くすることにより、真空チャンバ内の圧力と外部の圧力との差圧によって窓が撓まないようにすることが考えられる。しかしながら、GaNで構成される加工ウェハに変質層を形成する場合、変質層を形成するためには、変質層を形成する部分に集光点を調整して多光子吸収を発生させることが必要になる。そして、多光子吸収を発生するためには、高開口数(すなわち、高NA)の対物レンズを用いることが好ましく、例えば、対物レンズと変質層形成領域との間の距離を10mm以下のように近接して配置することが好ましい。このため、上記の製造方法において窓を厚く形成しようとした場合、実際には、対物レンズと変質層形成領域との間の距離を確保するのが困難となる。
【0007】
本開示は、適切に変質層を形成しつつ、変質層を形成する際に発生する窒素ガスを排出する半導体装置の製造方法を提供することを目的とする。
【課題を解決するための手段】
【0008】
本開示の1つの観点によれば、半導体素子が形成された半導体装置の製造方法では、GaNで構成され、一面(30a)および一面と反対側の他面(30b)を有し、一面側に複数のチップ形成領域(RA)を有する加工ウェハ(30)を用意することと、複数のチップ形成領域に対し、半導体素子の一面側素子構成部分を形成することと、加工ウェハの他面側から当該加工ウェハの内部にレーザ光(L)を照射することにより、加工ウェハの内部に、加工ウェハの面方向に沿った変質層(60)を形成することと、加工ウェハの一面側に第1保持部材(50)が配置されると共に他面側に第2保持部材(90)が配置された状態とし、第1保持部材および第2保持部材を把持して加工ウェハに力を加えることにより、変質層を境界として加工ウェハを分割することと、を行い、変質層を形成した後であって分割することの前に、変質層を形成する際に発生する窒素ガスを排出することを行う。
【0009】
これによれば、変質層を形成した後、加工ウェハを分割する前に窒素ガスを排出するようにしている。このため、加工ウェハに第1保持部材および第2保持部材を配置した際、窒素ガスを排出しない場合と比較して、第1保持部材および第2保持部材と加工ウェハとの間に隙間ができることを抑制できる。したがって、第1保持部材および第2保持部材を把持し、変質層を境界として加工ウェハを分割する際、加工ウェハを適切に分割し易くできる。
【0010】
また、この製造方法では、変質層を形成する際に窓を有する真空チャンバ等に加工ウェハを配置する必要がなく、窓を透過させてレーザ光を加工ウェハに照射する必要もない。このため、レーザ光を照射する際、レーザ光の集光点がずれることを抑制でき、適切に変質層を形成することができる。したがって、加工ウェハを適切に分割し易くできる。
(【0011】以降は省略されています)
特許ウォッチbot のツイートを見る
この特許をJ-PlatPat(特許庁公式サイト)で参照する
関連特許
東レ株式会社
多孔質炭素シート
1か月前
日本発條株式会社
積層体
11日前
個人
防雪防塵カバー
11日前
ローム株式会社
半導体装置
9日前
ローム株式会社
半導体装置
7日前
ローム株式会社
半導体装置
2日前
ローム株式会社
半導体装置
9日前
ローム株式会社
半導体装置
9日前
株式会社GSユアサ
蓄電装置
7日前
ニチコン株式会社
コンデンサ
23日前
ニチコン株式会社
コンデンサ
23日前
オムロン株式会社
電磁継電器
1日前
株式会社ティラド
面接触型熱交換器
22日前
個人
半導体パッケージ用ガラス基板
10日前
株式会社GSユアサ
蓄電装置
11日前
太陽誘電株式会社
全固体電池
7日前
株式会社ホロン
冷陰極電子源
7日前
トヨタ自動車株式会社
二次電池
11日前
日東電工株式会社
積層体
1日前
TDK株式会社
電子部品
7日前
ローム株式会社
電子装置
11日前
日本特殊陶業株式会社
保持装置
9日前
日本特殊陶業株式会社
保持装置
7日前
日本特殊陶業株式会社
保持装置
7日前
日本特殊陶業株式会社
保持装置
11日前
マクセル株式会社
配列用マスク
22日前
トヨタ自動車株式会社
バッテリ
1日前
日東電工株式会社
電子装置
3日前
SMK株式会社
キートップ及びスイッチ
2日前
TDK株式会社
コイル部品
9日前
日本製紙株式会社
導電性フィルム
1日前
東レエンジニアリング株式会社
実装装置
1日前
株式会社デンソー
電子装置
11日前
日本特殊陶業株式会社
電極
7日前
日本特殊陶業株式会社
電極
7日前
日本製紙株式会社
導電性フィルム
1日前
続きを見る
他の特許を見る