TOP
|
特許
|
意匠
|
商標
特許ウォッチ
Twitter
他の特許を見る
10個以上の画像は省略されています。
公開番号
2025134861
公報種別
公開特許公報(A)
公開日
2025-09-17
出願番号
2025103472,2023169485
出願日
2025-06-19,2023-09-29
発明の名称
周囲監視システム、および、それを備える作業機械
出願人
日立建機株式会社
代理人
弁理士法人平木国際特許事務所
主分類
G06F
3/04845 20220101AFI20250909BHJP(計算;計数)
要約
【課題】タッチパネル化による直感性を維持することができる周囲監視システム、および
、それを備えた作業機械を提供する。
【解決手段】カメラ映像表示の設定に関するタッチ操作の操作ガイド(表示映像の設定を
変更するためのモニタ12へのタッチ操作の操作方法を示す操作ガイド)を、人の手また
は指などからなる操作形態を模したアイコンを含む形で表示映像と共に表示することで、
直感的に操作方法がわかりやすい周囲監視システム、および、それを備えた作業機械を提
供する。
【選択図】図14B
特許請求の範囲
【請求項1】
カメラと、
モニタと、
前記カメラから取得したカメラ映像を含む表示映像を生成し、生成した前記表示映像を
前記モニタに表示する制御装置と、を備えた周囲監視システムにおいて、
前記モニタは、タッチ操作による入力を受け付け可能となっており、
前記制御装置は、前記表示映像の設定を変更するための前記モニタへの前記タッチ操作
の操作方法を示すオペレータの操作形態を模した操作ガイドと前記表示映像とを前記モニ
タに同時に表示することを特徴とする周囲監視システム。
続きを表示(約 1,100 文字)
【請求項2】
請求項1に記載の周囲監視システムにおいて、
前記操作ガイドは、手または指、あるいは、手または指の動きを示す表現を含むことを
特徴とする周囲監視システム。
【請求項3】
請求項1に記載の周囲監視システムにおいて、
前記制御装置は、前記表示映像上をタッチ操作された場合に、前記タッチ操作に応じて
、前記表示映像の設定を変更することを特徴とする周囲監視システム。
【請求項4】
請求項1に記載の周囲監視システムにおいて、
前記制御装置は、前記タッチ操作の操作内容に応じた前記表示映像の設定内容を示す表
現を含む前記操作ガイドを生成することを特徴とする周囲監視システム。
【請求項5】
請求項1に記載の周囲監視システムにおいて、
前記制御装置は、所定の条件によって前記表示映像の設定を変更するための設定操作が
行えない場合に、設定操作が行えないことを示す表現を含む前記操作ガイドを生成するこ
とを特徴とする周囲監視システム。
【請求項6】
請求項1に記載の周囲監視システムにおいて、
前記制御装置は、前記表示映像に重畳して前記操作ガイドを前記モニタに表示すること
を特徴とする周囲監視システム。
【請求項7】
請求項1に記載の周囲監視システムにおいて、
前記制御装置は、前記操作ガイドの周囲に半透過の背景画像を併せて生成することを特
徴とする周囲監視システム。
【請求項8】
請求項1に記載の周囲監視システムにおいて、
前記制御装置は、前記操作ガイドと併せて、前記表示映像の周囲を強調することを特徴
とする周囲監視システム。
【請求項9】
請求項1に記載の周囲監視システムにおいて、
前記制御装置は、前記操作ガイドの表示設定として、前記操作ガイドの表示、非表示ま
たは表示位置の少なくとも一つを変更可能であることを特徴とする周囲監視システム。
【請求項10】
請求項1に記載の周囲監視システムにおいて、
前記制御装置は、所定の条件に基づいて、前記操作ガイドの通常表示と、前記表示映像
の視認性を高めるために前記操作ガイドの視認性を通常表示よりも低くした特定表示を切
り替え可能であり、
前記特定表示は、前記操作ガイドの表示サイズの変更または表示する透過率の変更の少
なくとも一つを含むことを特徴とする周囲監視システム。
(【請求項11】以降は省略されています)
発明の詳細な説明
【技術分野】
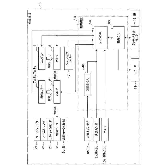
【0001】
本発明は、例えば油圧ショベル等の作業装置を備えた作業機械の周囲監視システム、お
よび、それを備えた作業機械に関する。
続きを表示(約 1,500 文字)
【背景技術】
【0002】
近年、油圧ショベル等の作業機械の電子化、情報化が進んでおり、搭載される電子機器
の増加に伴い、作業を支援する機能も増加してきている。
【0003】
例えば、作業機械に搭載された複数のカメラから取得した情報を基に、運転室内に設置
されたモニタに映像等を表示することで、オペレータに作業機械の周囲の状況を通知する
機能がある。モニタに表示される映像は、複数のカメラから取得した映像を車体の真上か
ら俯瞰して見た(見下ろした)ような映像に合成したものや、複数のカメラから取得した
映像を(視点変換等を行わずに)並べて表示したものなどの複数のパターンから選ぶこと
ができ、オペレータが好みによってモニタに表示される映像を切り替えて使用することが
可能である。
【0004】
モニタには、カメラ映像以外にも、車体の各種設定状態を示したアイコンや、燃料の残
量やエンジンの冷却水温を示したメータ、ラジオやエアコンといった各種機器の状態等も
併せて表示されることがある。
【0005】
また、近年では、作業機械及び作業機械の作業装置に取り付けられた各種センサが取得
した情報から、作業機械及び作業装置の位置や姿勢を算出し、施工時の作業機械及び作業
装置と目標面との位置関係をオペレータに通知することで作業を補助するマシンガイダン
ス(MG)という機能がある。
【0006】
さらには、作業機械及び作業装置の位置や姿勢の情報と予め設定した作業領域の情報か
ら、作業機械及び作業装置が作業領域の境界へと接近している度合いを算出し、接近度合
いに合わせてオペレータへの通知及び作業機械や作業装置の動作制限をかけることで、作
業領域内で作業することを補助する領域制限という機能もある。
【0007】
このように、作業を支援する機能が増加する一方で、機能の増加に併せてモニタで設定
可能な項目も増えてきているため、モニタでの設定操作が煩雑になりやすく、使い勝手が
低下しやすいという懸念もある。
【0008】
特許文献1の作業機械では、モニタ上におけるメータ等の運転情報の表示位置か、表示
するカメラ映像の少なくとも一方を、単一の切り替えスイッチの操作に応じて切り替える
ことが可能となる。そのため、オペレータが表示を切り替えたい場合に、切り替えるボタ
ンを探す手間が低減されるとともに、簡易な操作で表示の切り替えが可能となり、操作の
効率が向上する。
【先行技術文献】
【特許文献】
【0009】
特許第6692744号公報
【発明の概要】
【発明が解決しようとする課題】
【0010】
特許文献1の作業機械では、モニタ上におけるメータ等の運転情報の表示位置か、表示
するカメラ映像の少なくとも一方の切り替えを単一の切り替えスイッチの操作によって実
現している。一方、近年では、作業機械のモニタのタッチパネル化が進んできており、モ
ニタに表示されている情報を直接操作(タッチ)することで各種設定や切り替えができる
ようになってきている。モニタに表示されている情報を直接操作できるため、より直感的
な操作が可能となる。
(【0011】以降は省略されています)
この特許をJ-PlatPat(特許庁公式サイト)で参照する
関連特許
日立建機株式会社
作業機械
1か月前
日立建機株式会社
作業機械
6日前
日立建機株式会社
建設機械
2日前
日立建機株式会社
建設機械
1か月前
日立建機株式会社
作業機械
1か月前
日立建機株式会社
作業機械
20日前
日立建機株式会社
作業機械
2日前
日立建機株式会社
作業機械
12日前
日立建機株式会社
情報処理装置
1か月前
日立建機株式会社
油圧システム
2日前
日立建機株式会社
部品需要予測装置
1か月前
日立建機株式会社
分別回収システム
2日前
日立建機株式会社
充電支援システム
1か月前
日立建機株式会社
建設機械の作業装置
12日前
日立建機株式会社
スプライン連結装置
2日前
日立建機株式会社
建設機械の下部走行体
5日前
日立建機株式会社
地形情報管理システム
2日前
日立建機株式会社
制御弁装置および作業機械
1か月前
日立建機株式会社
作業機械の位置推定システム
12日前
日立建機株式会社
カウンタウエイト及び作業機械
1か月前
日立建機株式会社
作業機械および作業機械の制御方法
今日
日立建機株式会社
木材チップ搬出装置及び木材チップ詰め込み機
21日前
日立建機株式会社
作業機械
1か月前
日立建機株式会社
電動式建設機械
1か月前
日立建機株式会社
減速機の評価システムおよび評価システムを搭載した油圧ショベル
2日前
日立建機株式会社
ダンプトラックおよび給電システム
1か月前
日立建機株式会社
周囲監視システム、および、それを備える作業機械
14日前
個人
裁判のAI化
2か月前
個人
フラワーコートA
1か月前
個人
工程設計支援装置
1か月前
個人
地球保全システム
今日
個人
情報処理システム
2か月前
個人
為替ポイント伊達夢貯
27日前
個人
介護情報提供システム
2か月前
個人
冷凍食品輸出支援構造
27日前
個人
表変換編集支援システム
20日前
続きを見る
他の特許を見る