TOP
|
特許
|
意匠
|
商標
特許ウォッチ
Twitter
他の特許を見る
10個以上の画像は省略されています。
公開番号
2025123870
公報種別
公開特許公報(A)
公開日
2025-08-25
出願番号
2024019614
出願日
2024-02-13
発明の名称
部品需要予測装置
出願人
日立建機株式会社
代理人
弁理士法人平木国際特許事務所
主分類
G06Q
10/04 20230101AFI20250818BHJP(計算;計数)
要約
【課題】受注履歴データ件数が少ない部品であっても、需要を精度よく予測することができる技術を提供する。
【解決手段】本発明に係る部品需要予測方法は、受注ログを受注-使用目的データと使用目的-部品データとに分解し、前記受注-使用目的データに基づき使用目的ごとの部品品目の受注間隔を予測する。
【選択図】図5
特許請求の範囲
【請求項1】
部品の需要を予測する部品需要予測装置であって、
前記部品の受注間隔の予測値を演算する受注間隔予測値演算部を備え、
前記受注間隔予測値演算部は、
部品に対する受注と前記受注において発注される部品品目との間の関係を記述した受注-発注部品データを記憶装置から取得し、
前記受注-発注部品データから前記受注と発注された前記部品品目の使用目的との間の関係を記述した受注-使用目的データを作成し、
前記受注-使用目的データに基づき前記使用目的ごとの前記部品品目の受注間隔を表す第1受注間隔を算出することにより、前記部品の需要を予測する
ことを特徴とする部品需要予測装置。
続きを表示(約 2,300 文字)
【請求項2】
前記受注間隔予測値演算部は、前記受注-発注部品データを、前記使用目的と前記部品品目との間の関係を記述した使用目的-部品データと、前記受注-使用目的データとに分解することにより、前記受注-使用目的データを作成し、
前記受注間隔予測値演算部は、前記受注-発注部品データを分解する際に、
前記受注-発注部品データを、基底ベクトルと寄与率ベクトルの積へ変換し、
前記基底ベクトルを前記使用目的-部品データとして採用するとともに、前記寄与率ベクトルを前記受注-使用目的データとして採用する
ことを特徴とする請求項1記載の部品需要予測装置。
【請求項3】
前記受注-発注部品データは、前記受注において受注した前記部品品目の個数を、前記受注と前記部品品目の組み合わせごとに記述しており、
前記受注間隔予測値演算部は、前記受注-発注部品データを分解する際に、前記個数を、全ての前記受注における前記部品品目の総個数に対する、個別の前記受注における前記部品品目の個別個数の割合を表す、部品重要度へ変換し、
前記受注間隔予測値演算部は、前記基底ベクトルと前記寄与率ベクトルの積へ変換する際に、前記部品重要度へ変換した後の前記受注-発注部品データを、前記基底ベクトルと前記寄与率ベクトルの積へ変換する
ことを特徴とする請求項2記載の部品需要予測装置。
【請求項4】
前記受注間隔予測値演算部はさらに、前記受注-発注部品データと前記受注-使用目的データを統合することにより、前記受注-発注部品データを、前記使用目的の受注記録を記述した使用目的受注データに変換し、
前記受注間隔予測値演算部は、前記第1受注間隔を算出する際に、前記使用目的受注データを用いて、前記使用目的ごとの受注間隔を算出することにより、前記第1受注間隔を算出する
ことを特徴とする請求項1記載の部品需要予測装置。
【請求項5】
前記受注間隔予測値演算部は、前記受注-発注部品データを前記使用目的受注データに変換する際に、
前記受注-発注部品データと前記受注-使用目的データを統合することにより得た統合データ内に含まれる前記受注-使用目的データから引き継いだ値が、閾値以上であるか否かに応じて、前記統合データを、前記受注と前記使用目的との間の対応関係を表す受注-使用目的対応テーブルへ変換し、
前記受注-使用目的対応テーブルを前記受注ごとのレコードに整形することにより、前記使用目的受注データを生成する
ことを特徴とする請求項4記載の部品需要予測装置。
【請求項6】
前記受注間隔予測値演算部は、前記第1受注間隔を算出する際に、
前記使用目的受注データが記述している前記受注記録から前記使用目的ごとの受注間隔を計算し、
前記使用目的ごとの受注間隔を統計的に処理することにより、前記使用目的ごとの受注間隔を数学的に記述した第1数理モデルを構築し、
前記第1数理モデルを用いて前記第1受注間隔を算出する
ことを特徴とする請求項4記載の部品需要予測装置。
【請求項7】
前記受注間隔予測値演算部はさらに、
前記使用目的ごとの受注間隔を数学的に記述した第1数理モデルを構築し、
前記使用目的ごとに前記部品品目の受注確率を計算し、
前記使用目的ごとの前記部品品目の受注確率と、前記第1数理モデルとを用いて、前記部品品目ごとの受注間隔を表す第2数理モデルを構築し、
前記第2数理モデルを用いて、前記部品品目ごとの受注間隔を表す第2受注間隔を算出する
ことを特徴とする請求項2記載の部品需要予測装置。
【請求項8】
前記受注間隔予測値演算部は、前記使用目的ごとに前記部品品目の受注確率を計算する際に、
前記受注-使用目的データを用いて、前記受注が前記使用目的のためになされたか否かを前記受注と前記使用目的の組み合わせごとに記述する受注-使用目的対応テーブルを作成し、
前記受注-使用目的対応テーブルと前記使用目的-部品データを統合し、
前記受注-使用目的対応テーブルと前記使用目的-部品データを統合した結果を前記部品品目ごとに集計し、
前記部品品目の総数に対する、前記使用目的ごとの前記部品品目の受注数の比率に基づき、前記使用目的ごとの前記部品品目の受注確率を計算する
ことを特徴とする請求項7記載の部品需要予測装置。
【請求項9】
前記受注-発注部品データは、前記受注と前記部品品目を顧客ごとに記述しており、
前記受注間隔予測値演算部はさらに、前記受注-発注部品データが記述している前記顧客を前記使用目的ごとに統計処理することにより、前記顧客を前記使用目的ごとに分類する
ことを特徴とする請求項1記載の部品需要予測装置。
【請求項10】
前記受注間隔予測値演算部は、前記顧客を分類する際に、
前記受注-発注部品データと前記受注-使用目的データを統合し、
前記受注-発注部品データと前記受注-使用目的データを統合した結果を、前記顧客ごとに統計処理し、
前記統計処理の結果に基づき、前記顧客を前記使用目的のベクトル空間内においてクラスタリングし、
前記クラスタリングの結果に基づき前記顧客を分類する
ことを特徴とする請求項9記載の部品需要予測装置。
(【請求項11】以降は省略されています)
発明の詳細な説明
【技術分野】
【0001】
本発明は、部品の需要を予測する技術に関する。
続きを表示(約 1,700 文字)
【背景技術】
【0002】
建設機械をはじめとする機械を製造販売する企業にとっては、機械の修理に用いる部品に対する需要または受注量を正確に予測することが重要である。予測精度が高ければ、安全在庫数を低減することにより、部品在庫コストを低減できるからである。
【0003】
下記特許文献1は、顧客をセグメント化する技術を記載している。具体的には、部品を季節品・準季節品・非季節品・突発受注品にセグメント化し、セグメントごとに異なる方式を用いて需要を予測する技術を記載している。
【先行技術文献】
【特許文献】
【0004】
US2008/0082386A1
【発明の概要】
【発明が解決しようとする課題】
【0005】
部品需要を精度よく予測するためには、受注履歴のデータ件数がある程度多く必要である。しかし間欠需要品(例:年間出荷数が100件以下の部品)は履歴データ件数が少ないので、需要予測は困難である。顧客をセグメント化する場合や需要のトレンド変化を見ようとする場合は、データ件数がさらに不足する。
【0006】
本発明は、上記のような課題に鑑みてなされたものであり、受注履歴データ件数が少ない部品であっても、需要を精度よく予測することができる技術を提供することを目的とする。
【課題を解決するための手段】
【0007】
本発明に係る部品需要予測方法は、受注ログを受注-使用目的データと使用目的-部品データとに分解し、前記受注-使用目的データに基づき使用目的ごとの部品品目の受注間隔を予測する。
【発明の効果】
【0008】
本発明に係る部品需要予測方法によれば、受注履歴データ件数が少ない部品であっても、需要を精度よく予測することができる。上記以外の課題、構成、および効果は、以下の実施形態の説明により明らかにされる。
【図面の簡単な説明】
【0009】
実施形態1に係る部品需要予測方法の基本概念を説明する模式図である。
実施形態1による予測結果を視覚的に提示する例である。
実施形態1に係る部品需要予測装置100の構成図である。
従来の部品需要予測手法を例示するフローチャートである。
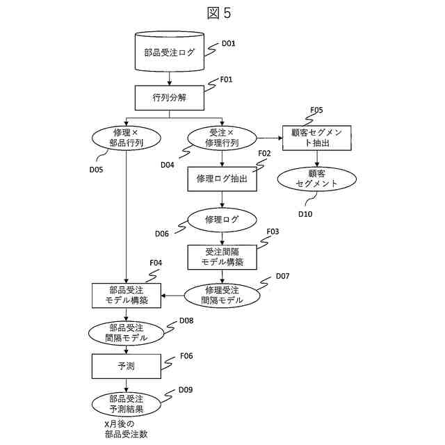
部品受注モデル構築部F00が部品ごとの受注間隔を予測する手法を説明する全体フロー図である。
部品受注ログD01の構成とデータ例を示す。
受注×部品行列D02の例である。
受注×部品行列D03の例である。
行列分解部F01による処理手順を説明するフロー図である。
修理ログ抽出部F02による処理手順を説明するフロー図である。
受注間隔モデル構築部F03による処理手順を説明するフロー図である。
部品受注モデル構築部F04による処理手順を説明するフロー図である。
顧客セグメント抽出部F05による処理手順を説明するフロー図である。
部品受注モデル構築部F00が部品ごとの受注間隔を予測する別手法を説明する全体フロー図である。
部品需要予測装置100が提供するユーザインターフェースの例である。
部品需要予測装置100が提供するユーザインターフェースの例である。
【発明を実施するための形態】
【0010】
<実施の形態1:基本概念>
図1は、本発明の実施形態1に係る部品需要予測方法の基本概念を説明する模式図である。この例においては、複数の顧客(図1においては顧客1~顧客4)がそれぞれ様々な部品(図1においては受注部品1~受注部品4)を発注し、部品供給業者がその発注を受注する場面を想定する。部品供給業者は、各部品について需要予測(発注予測または受注予測と同義)を精度よく実施したいと考えている。本実施形態は、その需要予測方法に関するものである。
(【0011】以降は省略されています)
この特許をJ-PlatPat(特許庁公式サイト)で参照する
関連特許
日立建機株式会社
建設機械
4日前
日立建機株式会社
作業車両
8日前
日立建機株式会社
油圧機器
3日前
日立建機株式会社
作業機械
4日前
日立建機株式会社
作業機械
4日前
日立建機株式会社
作業車両
4日前
日立建機株式会社
作業車両
4日前
日立建機株式会社
建設機械
4日前
日立建機株式会社
建設機械
8日前
日立建機株式会社
油圧機器
8日前
日立建機株式会社
作業機械
8日前
日立建機株式会社
建設機械
8日前
日立建機株式会社
作業機械
2日前
日立建機株式会社
作業機械
8日前
日立建機株式会社
作業機械
8日前
日立建機株式会社
作業機械
8日前
日立建機株式会社
建設機械
8日前
日立建機株式会社
作業機械
9日前
日立建機株式会社
作業機械
9日前
日立建機株式会社
作業機械
12日前
日立建機株式会社
建設機械
12日前
日立建機株式会社
作業機械
1か月前
日立建機株式会社
作業機械
16日前
日立建機株式会社
作業機械
1か月前
日立建機株式会社
作業機械
4日前
日立建機株式会社
作業機械
22日前
日立建機株式会社
建設機械
2日前
日立建機株式会社
作業機械
2日前
日立建機株式会社
作業機械
1日前
日立建機株式会社
変速装置
1日前
日立建機株式会社
作業車両
1日前
日立建機株式会社
作業車両
2日前
日立建機株式会社
作業機械
1日前
日立建機株式会社
作業機械
1日前
日立建機株式会社
作業機械
1日前
日立建機株式会社
作業機械
1日前
続きを見る
他の特許を見る