TOP
|
特許
|
意匠
|
商標
特許ウォッチ
Twitter
他の特許を見る
公開番号
2025139195
公報種別
公開特許公報(A)
公開日
2025-09-26
出願番号
2024038004
出願日
2024-03-12
発明の名称
建設機械の下部走行体
出願人
日立建機株式会社
代理人
弁理士法人広和特許事務所
主分類
B62D
55/092 20060101AFI20250918BHJP(鉄道以外の路面車両)
要約
【課題】 下ローラと履帯との接触部の摩耗を抑制することにより、下ローラや履帯の寿命を延ばすことができるようにする。
【解決手段】 トラックサイドフレーム13の下側に設けられ、駆動輪15と遊動輪16との間で履帯17を案内する下ローラ21の回転速度を検出する回転速度センサ22と、履帯17と下ローラ21との接触部32に向けて潤滑剤を供給する潤滑剤供給装置23と、下部走行体11の走行時に下ローラ21の回転が停止したことを回転速度センサ22が検出したときに、潤滑剤供給装置23から接触部32に向けての潤滑剤の供給を制御する供給制御装置31と、を備えている。
【選択図】 図3
特許請求の範囲
【請求項1】
トラックセンタフレームと、
前記トラックセンタフレームの両側に配置された一対のトラックサイドフレームと、
前記トラックサイドフレームの長さ方向の第1端に設けられた駆動輪と、
前記トラックサイドフレームの長さ方向の第2端に設けられた遊動輪と、
前記駆動輪と前記遊動輪との間に巻回して設けられた履帯と、
前記トラックサイドフレームの下側に設けられ、前記駆動輪と前記遊動輪との間で前記履帯を案内する下ローラと、
を備えてなる建設機械の下部走行体において、
前記下ローラの回転速度を検出する回転速度センサと、
前記履帯と前記下ローラとの接触部に向けて潤滑剤を供給する潤滑剤供給装置と、
走行時に前記下ローラの回転が停止したことを前記回転速度センサが検出したときに、前記潤滑剤供給装置から前記接触部に向けての潤滑剤の供給を制御する供給制御装置と、
を備えていることを特徴とする建設機械の下部走行体。
続きを表示(約 650 文字)
【請求項2】
請求項1に記載の建設機械の下部走行体において、
前記供給制御装置は、前記回転速度センサから前記下ローラの回転停止信号を受信することにより、前記潤滑剤供給装置から自動的に潤滑剤が供給されるように制御することを特徴とする建設機械の下部走行体。
【請求項3】
請求項1に記載の建設機械の下部走行体において、
前記下ローラは、前記履帯の内側面と接触するローラ部を備え、
前記潤滑剤供給装置は、前記履帯の前記内側面と反対となる前記ローラ部の上部位置に向けて潤滑剤を供給することを特徴とする建設機械の下部走行体。
【請求項4】
請求項1に記載の建設機械の下部走行体において、
前記潤滑剤供給装置は、前記下ローラと接触する前記履帯の内側面に向けて潤滑剤を供給することを特徴とする建設機械の下部走行体。
【請求項5】
請求項1に記載の建設機械の下部走行体において、
前記潤滑剤供給装置は、
潤滑剤を貯える潤滑剤タンクと、
前記潤滑剤タンクから前記下ローラまで延びた供給管路と、
前記供給管路に設けられ、潤滑剤を圧送するポンプと、
前記ポンプの下流側に位置して前記供給管路に設けられ、前記供給制御装置によって制御されるバルブと、
前記バルブの下流側に位置して前記供給管路に接続され、潤滑剤を吐出するノズルと、
を備えていることを特徴とする建設機械の下部走行体。
発明の詳細な説明
【技術分野】
【0001】
本開示は、駆動輪と遊動輪との間で履帯を案内する下ローラを備えた建設機械の下部走行体に関する。
続きを表示(約 1,800 文字)
【背景技術】
【0002】
建設機械の代表例としての油圧ショベルは、自走可能な下部走行体と、下部走行体上に旋回可能に設けられた上部旋回体と、上部旋回体の前部に回動可能に設けられた作業装置と、を備えている。
【0003】
下部走行体は、トラックセンタフレームと、トラックセンタフレームの両側に配置された一対のトラックサイドフレームと、トラックサイドフレームの長さ方向の第1端に設けられた駆動輪と、トラックサイドフレームの長さ方向の第2端に設けられた遊動輪と、駆動輪と遊動輪との間に巻回して設けられた履帯と、トラックサイドフレームの下側に設けられ、駆動輪と遊動輪との間で履帯を案内する下ローラと、を備えている(特許文献1)。
【先行技術文献】
【特許文献】
【0004】
特開2003-252258号公報
【発明の概要】
【発明が解決しようとする課題】
【0005】
ところで、特許文献1の発明では、下ローラは、履帯の内側面と接触して回転することで、履帯を案内している。このため、下ローラと履帯との接触部には、油圧ショベルの重量による大きな荷重が作用する。また、油圧ショベルの下部走行体は、凹凸のある地面を走行すると、地面の凹凸に履帯が追従して波打ったように折れ曲がり、一部の下ローラが履帯から浮いた状態となって回転が停止することがある。この場合、下ローラは、履帯に接触することで再度回転する。
【0006】
ここで、下ローラが履帯に接触したときには、下ローラと履帯との接触部に大きな荷重が一気に作用してしまう。この場合、接触部が強く擦れて摩耗が生じる虞があり、下ローラや履帯の寿命が短くなるという問題がある。
【0007】
本発明の一実施形態の目的は、下ローラと履帯との接触部の摩耗を抑制することにより、下ローラや履帯の寿命を延ばすことができるようにした建設機械の下部走行体を提供することにある。
【課題を解決するための手段】
【0008】
本発明の一実施形態は、トラックセンタフレームと、前記トラックセンタフレームの両側に配置された一対のトラックサイドフレームと、前記トラックサイドフレームの長さ方向の第1端に設けられた駆動輪と、前記トラックサイドフレームの長さ方向の第2端に設けられた遊動輪と、前記駆動輪と前記遊動輪との間に巻回して設けられた履帯と、前記トラックサイドフレームの下側に設けられ、前記駆動輪と前記遊動輪との間で前記履帯を案内する下ローラと、を備えてなる建設機械の下部走行体において、前記下ローラの回転速度を検出する回転速度センサと、前記履帯と前記下ローラとの接触部に向けて潤滑剤を供給する潤滑剤供給装置と、走行時に前記下ローラの回転が停止したことを前記回転速度センサが検出したときに、前記潤滑剤供給装置から前記接触部に向けての潤滑剤の供給を制御する供給制御装置と、を備えている。
【発明の効果】
【0009】
本発明によれば、下ローラと履帯との接触部の摩耗を抑制することができ、下ローラや履帯の寿命を延ばすことができる。
【図面の簡単な説明】
【0010】
本発明の第1の実施形態による下部走行体を備えた油圧ショベルを示す左側面図である。
図1中の下部走行体を示す左側面図である。
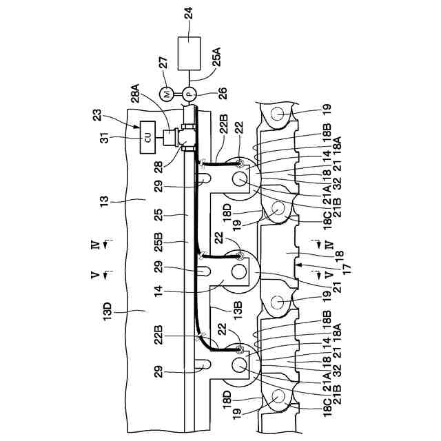
下部走行体の要部を回転速度センサ、潤滑剤供給装置、供給制御装置と一緒に示す左側面図である。
下部走行体に対する回転速度センサの取付構造を図3中の矢示IV-IV方向から見た断面図である。
第1の実施形態による潤滑剤供給装置の外側ノズル、内側ノズルの形状を図3中の矢示V-V方向から見た断面図である。
履帯から下ローラが離れた状態を示す下部走行体の左側面図である。
本発明の第2の実施形態による潤滑剤供給装置を、下部走行体の要部、回転速度センサ、供給制御装置と一緒に示す左側面図である。
第2の実施形態による潤滑剤供給装置の外側ノズル、内側ノズルの形状を図7中の矢示VIII-VIII方向から見た断面図である。
【発明を実施するための形態】
(【0011】以降は省略されています)
この特許をJ-PlatPat(特許庁公式サイト)で参照する
関連特許
日立建機株式会社
作業機械
今日
日立建機株式会社
作業機械
7日前
日立建機株式会社
建設機械
2か月前
日立建機株式会社
作業機械
2か月前
日立建機株式会社
建設機械
1か月前
日立建機株式会社
作業機械
1か月前
日立建機株式会社
作業機械
1か月前
日立建機株式会社
作業機械
今日
日立建機株式会社
作業機械
21日前
日立建機株式会社
作業機械
13日前
日立建機株式会社
建設機械
2か月前
日立建機株式会社
建設機械
3日前
日立建機株式会社
作業機械
3日前
日立建機株式会社
油圧システム
3日前
日立建機株式会社
情報処理装置
1か月前
日立建機株式会社
電動式建設機械
2か月前
日立建機株式会社
電動式作業機械
2か月前
日立建機株式会社
部品需要予測装置
1か月前
日立建機株式会社
分別回収システム
3日前
日立建機株式会社
充電支援システム
1か月前
日立建機株式会社
建設機械の作業装置
13日前
日立建機株式会社
スプライン連結装置
3日前
日立建機株式会社
建設機械の下部走行体
6日前
日立建機株式会社
地形情報管理システム
3日前
日立建機株式会社
制御弁装置および作業機械
1か月前
日立建機株式会社
作業機械の位置推定システム
13日前
日立建機株式会社
カウンタウエイト及び作業機械
1か月前
日立建機株式会社
作業機械および作業機械の制御方法
1日前
日本信号株式会社
光検知システム
2か月前
日立建機株式会社
木材チップ搬出装置及び木材チップ詰め込み機
22日前
日立建機株式会社
オプション用機器着脱支援システムおよび作業機械
2か月前
日立建機株式会社
作業機械
1か月前
日立建機株式会社
電動式建設機械
1か月前
日立建機株式会社
減速機の評価システムおよび評価システムを搭載した油圧ショベル
3日前
日立建機株式会社
ダンプトラックおよび給電システム
1か月前
日立建機株式会社
周囲監視システム、および、それを備える作業機械
15日前
続きを見る
他の特許を見る