TOP
|
特許
|
意匠
|
商標
特許ウォッチ
Twitter
他の特許を見る
公開番号
2025135121
公報種別
公開特許公報(A)
公開日
2025-09-18
出願番号
2024032753
出願日
2024-03-05
発明の名称
排気浄化制御装置及び排気浄化制御方法
出願人
いすゞ自動車株式会社
代理人
弁理士法人創光国際特許事務所
主分類
F01N
3/08 20060101AFI20250910BHJP(機械または機関一般;機関設備一般;蒸気機関)
要約
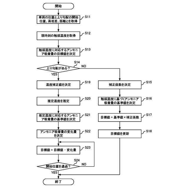
【課題】触媒の温度に適した量のアンモニアを触媒に吸着させる。
【解決手段】排気浄化制御装置10は、車両Sの進行方向前方に上り勾配があるか否かを判定する判定部122と、上り勾配を車両Sが走行している状態における車両Sの触媒2の推定温度を推定する推定部123と、触媒2の温度に基づいて、触媒2に吸着させるアンモニア量の基準値と、基準値よりも大きいアンモニア量の目標値と、を決定する決定部124と、を有し、決定部124は、上り勾配があると判定部122が判定した場合、上り勾配の開始位置において、現時刻の触媒2の温度に基づく目標値が推定温度に基づく基準値に近づくように、目標値を小さくする。
【選択図】図1
特許請求の範囲
【請求項1】
車両の進行方向前方に上り勾配があるか否かを判定する判定部と、
前記上り勾配を前記車両が走行している状態における前記車両の触媒の推定温度を推定する推定部と、
前記触媒の温度に基づいて、前記触媒に吸着させるアンモニア量の基準値と、前記基準値よりも大きい前記アンモニア量の目標値と、を決定する決定部と、
を有し、
前記決定部は、前記上り勾配があると前記判定部が判定した場合、前記上り勾配の開始位置において、現時刻の前記触媒の温度に基づく前記目標値が前記推定温度に基づく前記基準値に近づくように、前記目標値を小さくする、
排気浄化制御装置。
続きを表示(約 1,000 文字)
【請求項2】
前記決定部は、前記車両が前記開始位置より手前を走行中は、前記車両が備えるエンジンの出力を維持した状態で、前記目標値を小さくする、
請求項1に記載の排気浄化制御装置。
【請求項3】
前記推定部は、前記上り勾配の高低差と前記上り勾配の距離とに基づく温度補正値を決定し、現時刻の前記触媒の温度と前記温度補正値とに基づいて前記推定温度を推定する、
請求項1に記載の排気浄化制御装置。
【請求項4】
前記温度補正値は、1以上の値を示す補正値であり、
前記推定部は、現時刻の前記触媒の温度に前記温度補正値を加算または乗算した前記推定温度を推定する、
請求項3に記載の排気浄化制御装置。
【請求項5】
前記推定部は、前記上り勾配の高低差が大きいほど前記温度補正値を大きくする、
請求項4に記載の排気浄化制御装置。
【請求項6】
前記推定部は、前記上り勾配の高低差が大きく、かつ前記上り勾配の距離が短いほど、前記温度補正値を大きくする、
請求項4に記載の排気浄化制御装置。
【請求項7】
前記判定部は、前記車両の位置と前記上り勾配の開始位置との間に分岐点がないことにより、前記車両の進行方向前方に前記上り勾配があると判定する、
請求項1に記載の排気浄化制御装置。
【請求項8】
前記決定部は、前記上り勾配がないと前記判定部が判定した場合、現時刻の前記触媒の温度が低いほど、前記目標値を大きくする、
請求項1に記載の排気浄化制御装置。
【請求項9】
車両の進行方向前方に上り勾配があるか否かを判定する判定工程と、
前記上り勾配を前記車両が走行している状態における前記車両の触媒の推定温度を推定する推定工程と、
前記触媒の温度に基づいて、前記触媒に吸着させるアンモニア量の基準値と、前記基準値よりも大きい前記アンモニア量の目標値と、を決定する決定工程と、
を有し、
前記決定工程においては、前記判定工程において前記車両の進行方向前方にあると判定した前記上り勾配の開始位置における、現時刻の前記触媒の温度に基づく前記目標値が、前記推定温度に基づく前記基準値に近づくように、前記目標値を小さくする、
排気浄化制御方法。
発明の詳細な説明
【技術分野】
【0001】
本発明は、排気浄化制御装置及び排気浄化制御方法に関する。
続きを表示(約 1,100 文字)
【背景技術】
【0002】
特許文献1の排気浄化装置は、エンジンの排気に含まれるNOxを浄化する触媒の温度に基づいて、触媒に吸着させるアンモニア量を決定することにより、触媒からアンモニアが脱離して排出されること(いわゆる、アンモニアスリップの発生)を抑制する。
【先行技術文献】
【特許文献】
【0003】
特開2021-50650号公報
【発明の概要】
【発明が解決しようとする課題】
【0004】
特許文献1の排気浄化装置は、道路の勾配の変化によるエンジン負荷の上昇に伴い触媒温度が上昇してアンモニアスリップが発生することを抑制するために、触媒が吸着できるアンモニア量の最大値よりも少ない量のアンモニアを触媒に吸着させる。このため、NOxが多い場合には、触媒に吸着しているアンモニアが少ないため、NOxを適切に浄化できないおそれがある。
【0005】
そこで、本発明はこれらの点に鑑みてなされたものであり、触媒の温度に適した量のアンモニアを触媒に吸着させることを目的とする。
【課題を解決するための手段】
【0006】
本発明の第1の態様に係る排気浄化制御装置は、車両の進行方向前方に上り勾配があるか否かを判定する判定部と、前記上り勾配を前記車両が走行している状態における前記車両の触媒の推定温度を推定する推定部と、前記触媒の温度に基づいて、前記触媒に吸着させるアンモニア量の基準値と、前記基準値よりも大きい前記アンモニア量の目標値と、を決定する決定部と、を有し、前記決定部は、前記上り勾配があると前記判定部が判定した場合、前記上り勾配の開始位置において、現時刻の前記触媒の温度に基づく前記目標値が前記推定温度に基づく前記基準値に近づくように、前記目標値を小さくする。
【0007】
前記決定部は、前記車両が前記開始位置より手前を走行中は、前記車両が備えるエンジンの出力を維持した状態で、前記目標値を小さくしてもよい。
【0008】
前記推定部は、前記上り勾配の高低差と前記上り勾配の距離とに基づく温度補正値を決定し、現時刻の前記触媒の温度と前記温度補正値とに基づいて前記推定温度を推定してもよい。
【0009】
前記温度補正値は、1以上の値を示す補正値であり、前記推定部は、現時刻の前記触媒の温度に前記温度補正値を加算または乗算した前記推定温度を推定してもよい。
【0010】
前記推定部は、前記上り勾配の高低差が大きいほど前記温度補正値を大きくしてもよい。
(【0011】以降は省略されています)
この特許をJ-PlatPat(特許庁公式サイト)で参照する
関連特許
いすゞ自動車株式会社
システム
2日前
いすゞ自動車株式会社
制御システム
今日
いすゞ自動車株式会社
ガス処理装置
2日前
いすゞ自動車株式会社
ガス処理装置
2日前
いすゞ自動車株式会社
接続構造及び車両
2日前
いすゞ自動車株式会社
取付構造及び車両
5日前
いすゞ自動車株式会社
EGRシステム及び車両
2日前
いすゞ自動車株式会社
内燃機関ユニット及び車両
2日前
いすゞ自動車株式会社
歯車、減速機、及び、車両
2日前
いすゞ自動車株式会社
オイル供給機構、内燃機関ユニット及び車両
2日前
いすゞ自動車株式会社
エアコンプレッサ、内燃機関アセンブリ、及び、車両
2日前
いすゞ自動車株式会社
負荷装置アセンブリ、内燃機関アセンブリ、及び、車両
2日前
いすゞ自動車株式会社
車両、並びに、車両上での水素ガスの取得及び炭素を含む固形物の回収方法
2日前
株式会社三五
消音器
23日前
株式会社三五
排気装置
28日前
個人
ジェットエンジンタービン羽根
21日前
ダイハツ工業株式会社
冷却装置
1か月前
トヨタ自動車株式会社
車両
21日前
ダイハツ工業株式会社
内燃機関
23日前
スズキ株式会社
排気装置
22日前
スズキ株式会社
排気装置
22日前
トヨタ自動車株式会社
エンジンシステム
20日前
株式会社SUBARU
ピストン冷却構造
12日前
トヨタ自動車株式会社
内燃機関の制御装置
12日前
トヨタ自動車株式会社
異音診断プログラム
14日前
フタバ産業株式会社
消音器
今日
トヨタ自動車株式会社
車両の制御装置
1か月前
フタバ産業株式会社
消音器
12日前
トヨタ自動車株式会社
制御装置
12日前
トヨタ自動車株式会社
制御装置
12日前
トヨタ自動車株式会社
内燃機関の制御装置
21日前
トヨタ自動車株式会社
内燃機関の制御装置
13日前
フタバ産業株式会社
排気系部品
今日
株式会社SUBARU
車両
2日前
株式会社SUBARU
可変バルブタイミング機構
1か月前
トヨタ自動車株式会社
内燃機関の制御装置
2日前
続きを見る
他の特許を見る