TOP
|
特許
|
意匠
|
商標
特許ウォッチ
Twitter
他の特許を見る
公開番号
2025135257
公報種別
公開特許公報(A)
公開日
2025-09-18
出願番号
2024033014
出願日
2024-03-05
発明の名称
ステータ及びモータ
出願人
株式会社デンソー
代理人
個人
,
個人
主分類
H02K
1/18 20060101AFI20250910BHJP(電力の発電,変換,配電)
要約
【課題】磁気加振力による振動の抑制が図れる分割コア型のステータ及びモータを提供する。
【解決手段】分割コア型を用いるステータ11は、周方向に隣接する分割コア21xの環状片21c同士の連結部分において、自身及び隣接の環状片21cの凹状部32及び凸状部31の嵌め合い部分の当接部同士が互いに当接し、剛体同士でステータコア21の環状部21aが円環状に連結される。同じく連結部分における中央隙間部と内径側隙間部には、モールド部24を構成するモールド樹脂24xの流入及び固化よりなる樹脂介在体24a,24bが介在し、隣接の分割コア21x同士の相対的な位置ずれが生じ難い構造となる。
【選択図】図3
特許請求の範囲
【請求項1】
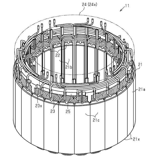
円環状をなす環状部(21a)と前記環状部の周方向に複数設けられ前記環状部から径方向内側に向けて延びるティース(21b)とを有してなるステータコア(21)と、
前記ティースに対する導線(23x)の巻回により構成されるコイル(23)と、を備えるとともに、
前記ティース毎に分割され前記環状部に分割箇所が設定されてなる分割コア(21x)を用い、前記分割コアの環状片(21c)を周方向に環状に連結して前記環状部として構成されてなるステータ(11)であって、
周方向に隣接する前記分割コアの環状片同士の連結部分において、自身及び隣接の前記環状片同士が互いに当接する当接部(31b,31c,32b,32c,35b,35c,36b,36c,37b,37c,38b,38c)と前記当接部以外の部分を隙間部(33a,33b,33c)として構成し、
隣接の前記分割コア同士の相対的な位置ずれを抑制すべく前記隙間部の少なくとも一部に介在体(24a,24b)を介在させて構成されている、ステータ。
続きを表示(約 930 文字)
【請求項2】
前記導線を含む所定部位の樹脂封止により構成されるモールド部(24)を備え、
前記隙間部に介在する前記介在体は、前記モールド部を構成するモールド樹脂(24x)である、請求項1に記載のステータ。
【請求項3】
前記分割コアの環状片の周方向一端部(21c1)には凸状部(31,35,37)が、前記環状片の周方向他端部(21c2)には凹状部(32,36,38)がそれぞれ設けられ、
周方向に隣接する前記分割コアの環状片同士は、前記凹状部と前記凸状部との嵌め合いによる凹凸連結が用いられている、請求項1に記載のステータ。
【請求項4】
前記当接部は前記凹状部と前記凸状部との嵌め合い部において一対設けられるとともに、前記隙間部は一対の前記当接部で3箇所に区画され、
一対の前記当接部で区画される3箇所の前記隙間部のうち、一対の前記当接部(31b,31c,32b,32c,35b,35c,36b,36c,37b,37c,38b,38c)間に設けられる第1隙間部(33a)と、前記ステータコアの径方向内側に位置する前記当接部(31b,32b,35b,36b,37b,38b)より径方向内側に設けられる第2隙間部(33b)との2箇所に前記介在体(24a,24b)が介在する一方、前記ステータコアの径方向外側に位置する前記当接部(31c,32c,35c,36c,37c,38c)より径方向外側に設けられる第3隙間部(33c)には前記介在体が介在しない態様にて構成されている、請求項3に記載のステータ。
【請求項5】
前記凸状部(31,35)は台形凸状をなし、前記凹状部(32,36)は前記凸状部と嵌まり合う台形凹状をなしている、若しくは、
前記凸状部(37)は半円凸状をなし、前記凹状部(38)は前記凸状部と嵌まり合う半円凹状をなしている、請求項3に記載のステータ。
【請求項6】
請求項1から請求項5のいずれか1項に記載のステータ(11)と、
前記ステータにて生じる回転磁界を受けて回転駆動するロータ(12)と、を備えて構成されている、モータ。
発明の詳細な説明
【技術分野】
【0001】
本開示は、ステータ及びモータに関する。
続きを表示(約 1,900 文字)
【背景技術】
【0002】
モータのステータにおいて、ステータコアを個々のティース毎に分割した構成をなす分割コアを採用しているものがある(例えば特許文献1参照)。ステータコアにおいて径方向外側を環状部とし環状部から径方向内側にティースが延設されるものでは、隣接する各ティースの先端部間の隙間が狭くなるという構造上、分割コアを用いる方が各ティースに対する導線の巻装作業を行い易くすることが可能である。
【先行技術文献】
【特許文献】
【0003】
特開2022-018961号公報
【発明の概要】
【発明が解決しようとする課題】
【0004】
分割コアを用いるステータでは、環状に連結する前の個々の分割コアのティースに導線を巻回した後に、分割した環状部を円環状に互いに連結することが行われる。そのため、分割コアを用いるステータは、ステータコアの環状部に継ぎ目が生じることから、分割コアを用いないステータとの比較において、磁気加振力による振動への配慮をより必要とする構造でもあるとも言える。
【0005】
本開示の目的は、磁気加振力による振動の抑制が図れる分割コア型のステータ及びモータを提供することにある。
【課題を解決するための手段】
【0006】
本開示の一態様に係るステータは、円環状をなす環状部(21a)と前記環状部の周方向に複数設けられ前記環状部から径方向内側に向けて延びるティース(21b)とを有してなるステータコア(21)と、前記ティースに対する導線(23x)の巻回により構成されるコイル(23)と、を備えるとともに、前記ティース毎に分割され前記環状部に分割箇所が設定されてなる分割コア(21x)を用い、前記分割コアの環状片(21c)を周方向に環状に連結して前記環状部として構成されてなるステータ(11)であって、周方向に隣接する前記分割コアの環状片同士の連結部分において、自身及び隣接の前記環状片同士が互いに当接する当接部(31b,31c,32b,32c,35b,35c,36b,36c,37b,37c,38b,38c)と前記当接部以外の部分を隙間部(33a,33b,33c)として構成し、隣接の前記分割コア同士の相対的な位置ずれを抑制すべく前記隙間部の少なくとも一部に介在体(24a,24b)を介在させて構成されている。
【0007】
上記構成によれば、周方向に隣接する分割コアの環状片同士の連結部分において、自身及び隣接の環状片の当接部同士が互いに当接し、ステータコアの環状部が剛体同士で円環状に連結される。当接部以外の隙間部の少なくとも一部には介在体が介在し、隣接の分割コア同士の相対的な位置ずれが抑制される。つまり、介在体を設けて隣接の分割コア同士の相対的な位置ずれが生じ難い構造としたことで、ステータに生じ得る磁気加振力による振動の抑制を図ることが可能となる。
【0008】
本開示の一態様に係るモータは、上記に記載のステータ(11)と、前記ステータにて生じる回転磁界を受けて回転駆動するロータ(12)と、を備えて構成されている。
上記構成によれば、分割コア型を用いてもステータに生じ得る磁気加振力による振動の抑制が図れるため、導線の巻装作業が容易となる等の分割コア型を用いることの優位な効果に加え、モータを低振動化とする等の効果を得ることが可能となる。
【図面の簡単な説明】
【0009】
図1は一実施形態におけるステータ及びモータの斜視図である。
図2は同実施形態におけるステータの側面視図である。
図3は同実施形態におけるステータの要部拡大図である。
図4は同実施形態におけるステータの要部拡大図である。
図5は同実施形態におけるステータの要部拡大図である。
図6は変更例におけるステータの要部拡大図である。
図7は変更例におけるステータの要部拡大図である。
【発明を実施するための形態】
【0010】
以下、ステータ及びモータの一実施形態について説明する。
(モータ10の構成)
図1及び図2に示すように、モータ10は、円環状をなすステータ11と、ステータ11の径方向内側に回転可能に配置されるロータ12とを備えている。ステータ11は、自身に装着される後述するコイル23への通電に基づき、ロータ12と対向する内周面において回転磁界を生じさせる。ロータ12は、ステータ11にて生じた回転磁界を受けて回転駆動する。
(【0011】以降は省略されています)
この特許をJ-PlatPat(特許庁公式サイト)で参照する
関連特許
株式会社デンソー
接合体
12日前
株式会社デンソー
ステータ
13日前
株式会社デンソー
電子装置
2日前
株式会社デンソー
ステータ
13日前
株式会社デンソー
太陽電池
14日前
株式会社デンソーエレクトロニクス
発音装置
20日前
株式会社デンソー
平滑回路
22日前
株式会社デンソー
光学部材
23日前
株式会社デンソー
駆動装置
28日前
株式会社デンソー
電子装置
29日前
株式会社デンソー
書込装置
29日前
株式会社デンソー
測距装置
1か月前
株式会社デンソーエレクトロニクス
発音装置
2日前
株式会社デンソー
通信装置
28日前
株式会社デンソー
センサ素子
28日前
株式会社デンソー
ガスセンサ
29日前
株式会社デンソー
回転体装置
26日前
株式会社デンソー
レーダ装置
2日前
株式会社デンソー
制御システム
5日前
株式会社デンソー
電子制御装置
26日前
株式会社デンソー
装置及び方法
21日前
株式会社デンソー
通信システム
2日前
株式会社デンソー
電子制御装置
2日前
株式会社デンソーウェーブ
光学読取装置
14日前
株式会社デンソー
中継システム
1か月前
株式会社デンソー
小型電動車両
14日前
株式会社デンソー
光位相変調器
12日前
株式会社デンソー
通信システム
21日前
株式会社デンソー
電力変換装置
27日前
株式会社デンソー
温度検出装置
26日前
株式会社デンソー
電子制御装置
13日前
株式会社デンソー
電圧変換回路
13日前
株式会社デンソー
ステータコア
5日前
株式会社デンソー
電力変換装置
6日前
株式会社デンソー
電波吸収装置
2日前
株式会社デンソー
フィルタ回路
6日前
続きを見る
他の特許を見る