TOP
|
特許
|
意匠
|
商標
特許ウォッチ
Twitter
他の特許を見る
公開番号
2025135372
公報種別
公開特許公報(A)
公開日
2025-09-18
出願番号
2024033180
出願日
2024-03-05
発明の名称
室内機、空気調和装置
出願人
ダイキン工業株式会社
代理人
弁理士法人新樹グローバル・アイピー
主分類
F24F
13/20 20060101AFI20250910BHJP(加熱;レンジ;換気)
要約
【課題】調和空気に紫外線を照射可能でありながら、紫外線モジュールの配置に起因する騒音の発生を抑制できる空気調和装置の室内機を提供する。
【解決手段】
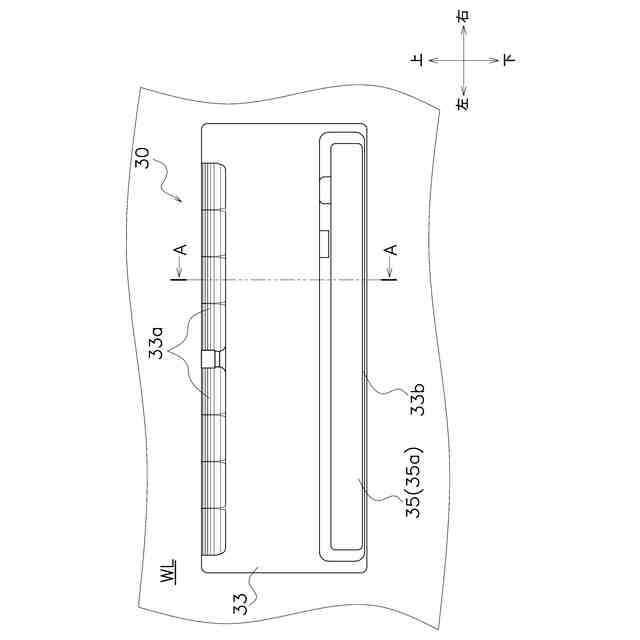
室内機は、クロスフローファンと、熱交換器と、紫外線モジュールとを備える。クロスフローファンは、気流を生成する。熱交換器は、気流が通過する熱交換器である。紫外線モジュールは、熱交換器を通過した気流が通る通気経路に紫外線を照射する発光ダイオードを有する。通気経路は、クロスフローファンの長手方向の一方側に設けられた第1仕切部によって、長手方向の一方側が仕切られる。紫外線モジュールは、前記通気経路に設けられ、かつ、長手方向において、第1仕切部の通気経路に対向する面よりも一方側に設けられる。
【選択図】図5
特許請求の範囲
【請求項1】
空気調和装置(10)の室内機(30)であって、
気流(f)を生成するクロスフローファン(32)と、
前記気流(f)が通過する熱交換器(31)と、
前記熱交換器(31)を通過した前記気流(f)が通る通気経路(P)に紫外線を照射する発光ダイオード(37a)を有する紫外線モジュール(37)と、
を備え、
前記通気経路(P)は、
前記クロスフローファン(32)の長手方向の一方側に設けられた第1仕切部(36a)によって、前記長手方向の前記一方側が仕切られ、
前記紫外線モジュール(37)は、
前記通気経路(P)に設けられ、かつ、前記長手方向において、前記第1仕切部(36a)の前記通気経路(P)に対向する面(36as)よりも前記一方側に設けられる、
室内機(30)。
続きを表示(約 940 文字)
【請求項2】
前記熱交換器(31)は、
前記長手方向に所定の間隔を空けて配置された複数の伝熱フィン(31b)を有し、
前記紫外線モジュール(37)は、
前記長手方向において、複数の前記伝熱フィン(31b)が並べられたフィン配置領域(a)の外側に配置される、
請求項1に記載の室内機(30)。
【請求項3】
前記第1仕切部(36a)は、
樹脂製である、
請求項1に記載の室内機(30)。
【請求項4】
前記紫外線モジュール(37)は、
前方から見て、前記クロスフローファン(32)を駆動するモータ(32a)に含まれるロータ(32b)と重なる位置に配置される、
請求項1に記載の室内機(30)。
【請求項5】
前記紫外線モジュール(37)から放射された紫外線を反射する反射部材(38)と、
前記通気経路(P)を挟んで前記長手方向の他方側に設けられ、前記第1仕切部(36a)とともに前記通気経路(P)を仕切る第2仕切部(36b)と
をさらに備え、
前記反射部材(38)は、
前記第2仕切部(36b)から前記通気経路(P)に突出しないように、前記第2仕切部(36b)に固定される、
請求項1に記載の室内機(30)。
【請求項6】
前記反射部材(38)は、
前方から見て、前記クロスフローファン(32)を駆動するモータ(32a)に含まれるロータ(32b)と重なる位置に配置される、
請求項5に記載の室内機(30)。
【請求項7】
前記紫外線モジュール(37)は、
前記発光ダイオード(37a)の光軸(o)と、前記クロスフローファン(32)との最短距離(d1)が、前記熱交換器(31)と、前記クロスフローファン(32)との最短距離(d2)よりも大きくなる位置に配置される、
請求項1に記載の室内機(30)。
【請求項8】
請求項1から請求項7のいずれか1項に記載の室内機(30)と、
室外機(20)とを備える
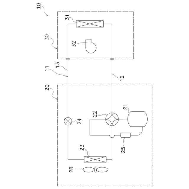
空気調和装置(10)。
発明の詳細な説明
【技術分野】
【0001】
室内機及び空気調和装置に関する。
続きを表示(約 1,200 文字)
【背景技術】
【0002】
特許文献1(特開2022-160292号公報)は、紫外線を照射する発光ダイオード及び当該紫外線の配光を平行光に変換する配光制御部を有する紫外線照射装置が、筐体内部の吸込口又は吹出口に配置された空調機用室内機を開示している。
【発明の概要】
【発明が解決しようとする課題】
【0003】
クロスフローファンが用いられた室内機では、流入する気流がクロスフローファンやクロスフローファンの近傍に配置された部材を通過する際に騒音(NZ音等と呼ばれる)が発生することが知られている。特許文献1が開示する室内機においても、発光ダイオード及びこれを有する紫外線モジュールの配置によっては気流が紫外線モジュールにより流れが妨げられることで騒音が発生するおそれがあることから、紫外線モジュールの配置に改善の余地があった。
【0004】
本開示は、調和空気に紫外線を照射可能でありながら、紫外線モジュールの配置に起因する騒音の発生を抑制できる室内機及び空気調和装置を提供することを目的とする。
【課題を解決するための手段】
【0005】
第1観点の室内機は、空気調和装置の室内機である。室内機は、クロスフローファンと、熱交換器と、紫外線モジュールとを備える。
【0006】
クロスフローファンは、気流を生成する。熱交換器は、気流が通過する熱交換器である。紫外線モジュールは、熱交換器を通過した気流が通る通気経路に紫外線を照射する発光ダイオードを有する。
【0007】
通気経路は、クロスフローファンの長手方向の一方側に設けられた第1仕切部によって、長手方向の一方側が仕切られる。紫外線モジュールは、通気経路に設けられ、かつ、長手方向において、第1仕切部の通気経路に対向する面よりも一方側に設けられる。
【0008】
本室内機において、紫外線モジュールは、第1仕切部の通気経路に対向する面よりも一方側に設けられるため、クロスフローファンに流入する気流(調和空気)の流れを妨げない。したがって、室内機によれば、調和空気に紫外線を照射可能でありながら、紫外線モジュールの配置に起因する騒音の発生を抑制できる。
【0009】
第2観点の室内機は、第1観点の室内機であって、熱交換器が、長手方向に所定の間隔を空けて配置された複数の伝熱フィンを有する。紫外線モジュールは、長手方向において、複数の伝熱フィンが並べられたフィン配置領域の外側に配置される。
【0010】
本室内機によれば、紫外線モジュールがフィン配置領域を通過した気流のスムーズな流れを阻害しないため、熱交換器の熱交換効率の低下が抑制される。
(【0011】以降は省略されています)
この特許をJ-PlatPat(特許庁公式サイト)で参照する
関連特許
ダイキン工業株式会社
冷凍装置
3日前
ダイキン工業株式会社
冷凍装置
3日前
ダイキン工業株式会社
調湿装置
13日前
ダイキン工業株式会社
冷凍装置
7日前
ダイキン工業株式会社
空気調和機
21日前
ダイキン工業株式会社
発電システム
3日前
ダイキン工業株式会社
回転電気機械
6日前
ダイキン工業株式会社
エッチングガス
13日前
ダイキン工業株式会社
デポジションガス
13日前
ダイキン工業株式会社
熱交換器及び冷凍装置
1日前
ダイキン工業株式会社
室内機、空気調和装置
14日前
ダイキン工業株式会社
室内機、空気調和装置
14日前
ダイキン工業株式会社
室内機、空気調和装置
14日前
ダイキン工業株式会社
フルオロポリマーの製造方法
13日前
ダイキン工業株式会社
圧縮機の製造方法および圧縮機
15日前
ダイキン工業株式会社
冷凍サイクル装置および冷凍機油
6日前
ダイキン工業株式会社
冷凍サイクル装置および冷凍機油
6日前
ダイキン工業株式会社
フルオロポリマー水性分散液の製造方法
13日前
ダイキン工業株式会社
金属カーバイドおよび炭化水素の製造方法
3日前
ダイキン工業株式会社
フルオロポリマーの製造方法および水性分散液
13日前
ダイキン工業株式会社
組成物、それを用いたシート及びその製造方法
14日前
ダイキン工業株式会社
固定子コア、回転電機、圧縮機、および、冷凍装置
3日前
ダイキン工業株式会社
シート、銅張積層体、回路基板及びシートの製造方法
13日前
ダイキン工業株式会社
アルキレン鎖含有シラン化合物
13日前
ダイキン工業株式会社
電子材料用樹脂組成物用充填剤
14日前
ダイキン工業株式会社
組成物、ペースト状組成物、シート、金属張積層体、回路基板及びシートの製造方法
13日前
ダイキン工業株式会社
フッ素系炭化水素化合物の脱水方法
15日前
ダイキン工業株式会社
冷媒を含む組成物、その使用、並びにそれを有する冷凍機及びその冷凍機の運転方法
1日前
ダイキン工業株式会社
故障診断システム、冷凍サイクルシステム、故障診断方法、故障診断プログラム及び空調機
3日前
ダイキン工業株式会社
フルオロポリマーの製造方法、ポリテトラフルオロエチレンの製造方法および組成物
2日前
個人
空気調和機
3か月前
個人
エアコン室内機
3か月前
株式会社コロナ
空調装置
3か月前
株式会社コロナ
空調装置
6か月前
株式会社コロナ
加湿装置
13日前
株式会社コロナ
空調装置
1か月前
続きを見る
他の特許を見る