TOP
|
特許
|
意匠
|
商標
特許ウォッチ
Twitter
他の特許を見る
10個以上の画像は省略されています。
公開番号
2025135687
公報種別
公開特許公報(A)
公開日
2025-09-19
出願番号
2024033579
出願日
2024-03-06
発明の名称
化粧材の固定構造
出願人
不二サッシ株式会社
,
TOPPANホールディングス株式会社
代理人
弁理士法人貴和特許事務所
主分類
E04F
13/08 20060101AFI20250911BHJP(建築物)
要約
【課題】化粧材を化粧材側金具に固定する作業の作業性を向上でき、かつ、締結部材が化粧材側金具から脱落することを防止できる、化粧材の固定構造を実現する。
【解決手段】ストリンガー21aは、ルーバ2のうちでカーテンウォール1に対向する面に沿って上下方向に伸長し、第1の締結部材24によりルーバ2に固定される縦板部33と、縦板部33の上下方向一方側の端部から縦板部33に対して略直交する方向に折れ曲がった横板部34とを有する。縦板部33は、第1の締結部材24の軸部25を該軸部25の軸方向及び上下方向に挿通可能で、かつ、上下方向他方側の端部に開口した切り欠き35を有し、上下方向他方側の端部に、第1の締結部材24の一部と少なくとも上下方向に係合可能な係合部36を有する。
【選択図】図8
特許請求の範囲
【請求項1】
化粧材と、
前記化粧材を壁構成材に直接的又は間接的に固定するための化粧材側金具と、
中心軸を水平方向に向けて配置された軸部を有し、前記化粧材と前記化粧材側金具とを固定する締結部材と、を備え、
前記化粧材側金具は、前記化粧材のうちで前記壁構成材に対向する面に沿って上下方向に伸長し、前記締結部材により前記化粧材に固定される縦板部と、前記縦板部の上下方向一方側の端部から前記縦板部に対して略直交する方向に折れ曲がった横板部とを有し、
前記縦板部は、前記軸部を該軸部の軸方向及び上下方向に挿通可能で、かつ、上下方向他方側の端部に開口した切り欠きを有し、上下方向他方側の端部に、前記締結部材の一部と少なくとも上下方向に係合可能な係合部を有する、
化粧材の固定構造。
続きを表示(約 830 文字)
【請求項2】
前記係合部は、前記締結部材の一部と前記軸部の軸方向に係合可能である、請求項1に記載した化粧材の固定構造。
【請求項3】
前記縦板部は、上下方向他方側の端部にフック部を有し、
前記係合部は、前記フック部に設けられている、
請求項2に記載した化粧材の固定構造。
【請求項4】
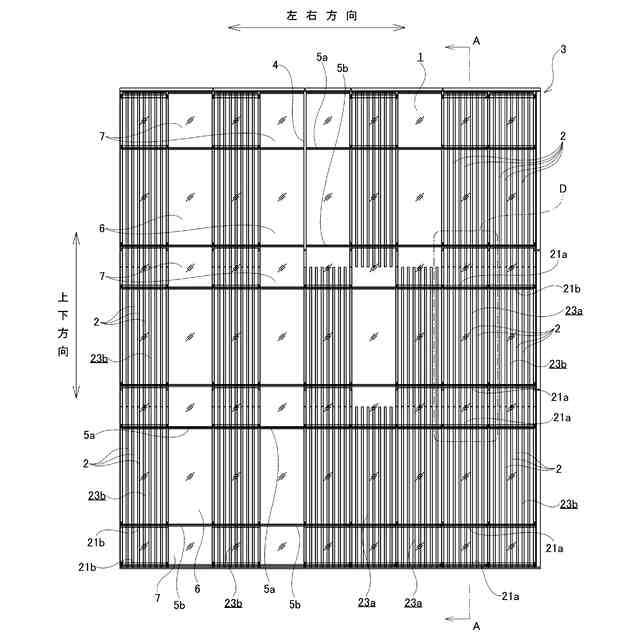
前記化粧材は、長手方向を上下方向に向けて配置されたルーバであり、
前記化粧材側金具は、長手方向を左右方向に向けて配置されたストリンガーであり、
前記縦板部には、複数の前記切り欠きが左右方向に離隔して配置されている、
請求項1に記載した化粧材の固定構造。
【請求項5】
前記締結部材は、前記軸部及び頭部を有するボルトと、ナットと、ワッシャとを含んで構成され、
前記係合部は、前記ボルトと前記ナットと前記ワッシャとのいずれかと係合可能である、
請求項1に記載した化粧材の固定構造。
【請求項6】
前記係合部は、前記ワッシャと係合する、請求項5に記載した化粧材の固定構造。
【請求項7】
前記化粧材は、前記頭部を回転不能に収容可能な収容部と、前記軸部を挿通可能なスリット状の挿通部とを有する、
請求項5に記載した化粧材の固定構造。
【請求項8】
前記縦板部は、上端部に前記係合部を有し、
前記化粧材は、前記縦板部の上端部と上下方向に係合可能な落下防止部を有する、
請求項1に記載した化粧材の固定構造。
【請求項9】
前記落下防止部は、前記縦板部の上端部と前記軸部の軸方向に係合する、請求項8に記載した化粧材の固定構造。
【請求項10】
前記化粧材及び前記壁構成材は、外壁を構成する、請求項1に記載した化粧材の固定構造。
(【請求項11】以降は省略されています)
発明の詳細な説明
【技術分野】
【0001】
本開示は、化粧材の固定構造に関する。
続きを表示(約 880 文字)
【背景技術】
【0002】
ビルディングなどの建築物にあっては、壁を構成するパネル材の表面性状を工夫したり、壁を構成するフレーム材の配置を工夫したりして、外観意匠を向上することが行われている。
【0003】
近年、建築物の外観意匠に対する要望が多様化してきており、建築物の壁を構成する壁構成材自体を工夫することによっては、外観意匠に対する要望に十分に応えられない可能性がある。
【0004】
そこで、建築物の壁構成材に、化粧材を取り付けることで、外観意匠を向上することが考えられている。
【0005】
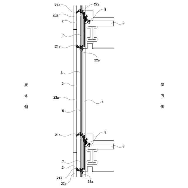
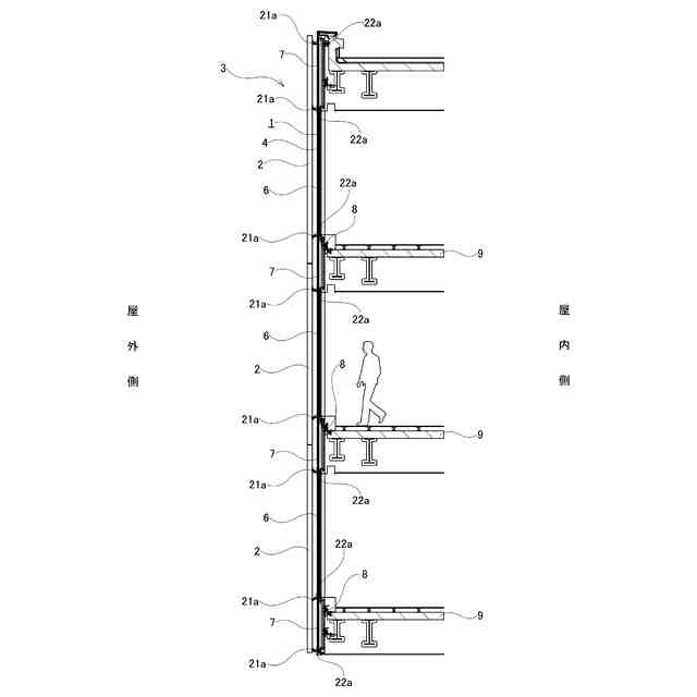
化粧材は、化粧材側金具を利用して、壁構成材に対し直接的又は間接的に固定される。
【0006】
特開2013-174078号公報には、化粧材である複数本の縦桟材を、化粧材側金具である胴縁、及び、外壁に固定した壁際材を介して、外壁に固定する構造が開示されている。
【0007】
特開2013-174078号公報に記載された構造では、複数本の縦桟材のそれぞれが、締結部材により胴縁に固定されている。複数本の縦桟材は、胴縁により連結されて、ルーバユニットを構成している。
【先行技術文献】
【特許文献】
【0008】
特開2013-174078号公報
【発明の概要】
【発明が解決しようとする課題】
【0009】
化粧材を化粧材側金具に固定するために、たとえば、化粧材に形成された通孔及び化粧材側金具に形成された通孔を挿通したボルトにナットを螺合することが考えられる。
【0010】
ただし、特開2013-174078号公報に記載された従来構造のように、複数の化粧材(縦桟材)を1つの化粧材側金具(胴縁)に固定する構造では、化粧材側金具に備えられた複数の通孔に複数本のボルトを同時に挿通する必要があるため、化粧材を化粧材側金具に固定する作業の作業性が低くなる。
(【0011】以降は省略されています)
この特許をJ-PlatPat(特許庁公式サイト)で参照する
関連特許
個人
接合構造
4日前
個人
タッチミー
3日前
個人
屋台
21日前
個人
野良猫ハウス
1か月前
個人
フェンス
1か月前
個人
転落防止用手摺
1か月前
積水樹脂株式会社
柵体
1か月前
個人
地下型マンション
3か月前
個人
ベンリナアングル
3日前
ニチハ株式会社
建築板
1か月前
個人
筋交自動設定装置
11日前
個人
居住車両用駐車場
1か月前
株式会社タナクロ
テント
3か月前
個人
熱抵抗多層断熱建材
1か月前
個人
壁断熱パネル
4か月前
個人
鋼管結合資材
3か月前
個人
補強部材
1か月前
個人
柵
2か月前
鹿島建設株式会社
壁体
1か月前
成友建設株式会社
建物
1か月前
個人
身体用シェルター
11日前
個人
身体用シェルター
11日前
個人
循環流水式屋根融雪装置
3か月前
三協立山株式会社
構造体
11日前
三協立山株式会社
構造体
3か月前
三協立山株式会社
構造体
11日前
株式会社熊谷組
木質材料
21日前
三協立山株式会社
構造体
11日前
三協立山株式会社
構造体
11日前
三協立山株式会社
構造体
11日前
三協立山株式会社
構造体
11日前
インターマン株式会社
天井構造
1か月前
株式会社熊谷組
床構成材
1日前
三協立山株式会社
構造体
4か月前
イワブチ株式会社
組立柱
1か月前
個人
可搬型供養墓
9日前
続きを見る
他の特許を見る